Скачать Типовой проект 901-7-13.84 Станция озонирования природных вод производительностью 12 кг/ч по озонуДата актуализации: 01.01.2021 Типовой проект 901-7-13.84
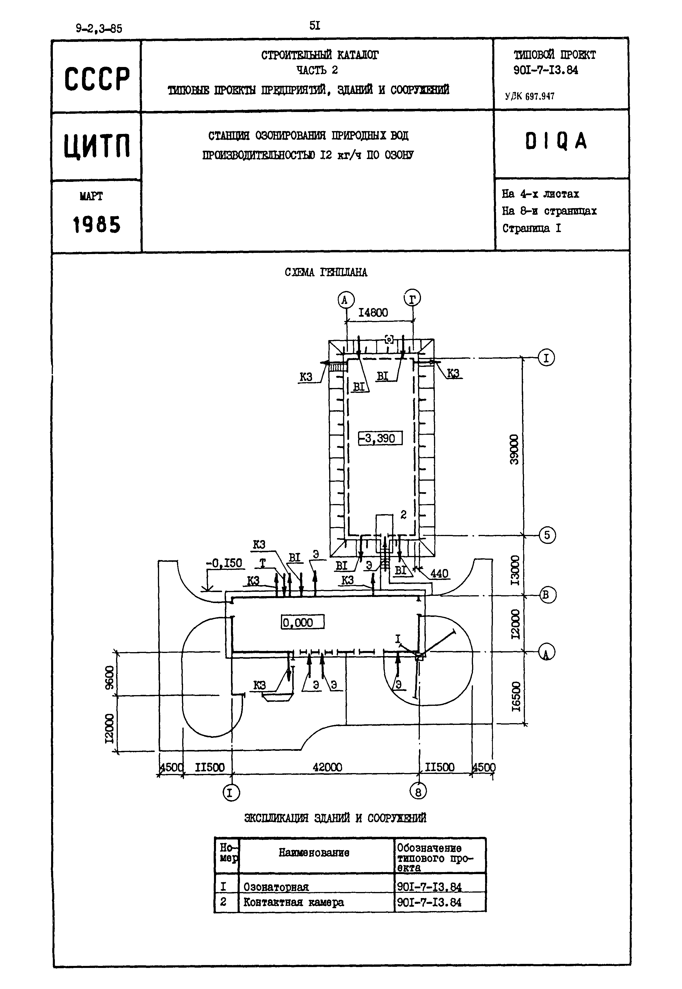
Станция озонирования природных вод производительностью 12 кг/ч по озону| Обозначение: | Типовой проект 901-7-13.84 | | Обозначение англ: | 901-7-13.84 | | Статус: | не действует | | Название рус.: | Станция озонирования природных вод производительностью 12 кг/ч по озону | | Дата добавления в базу: | 01.11.2014 | | Дата актуализации: | 01.01.2021 | | Дата введения: | 15.11.1984 | | Дата окончания срока действия: | 01.01.1989 | | Список изменений: | |
       
Текстовое изменение № 1 от 15.12.1988
 
|