Скачать Типовой проект 904-1-63.86 Компрессорная станция отдельностоящая на 4 - 5 компрессоров ВШВ-2,3/230Дата актуализации: 01.01.2021 Типовой проект 904-1-63.86
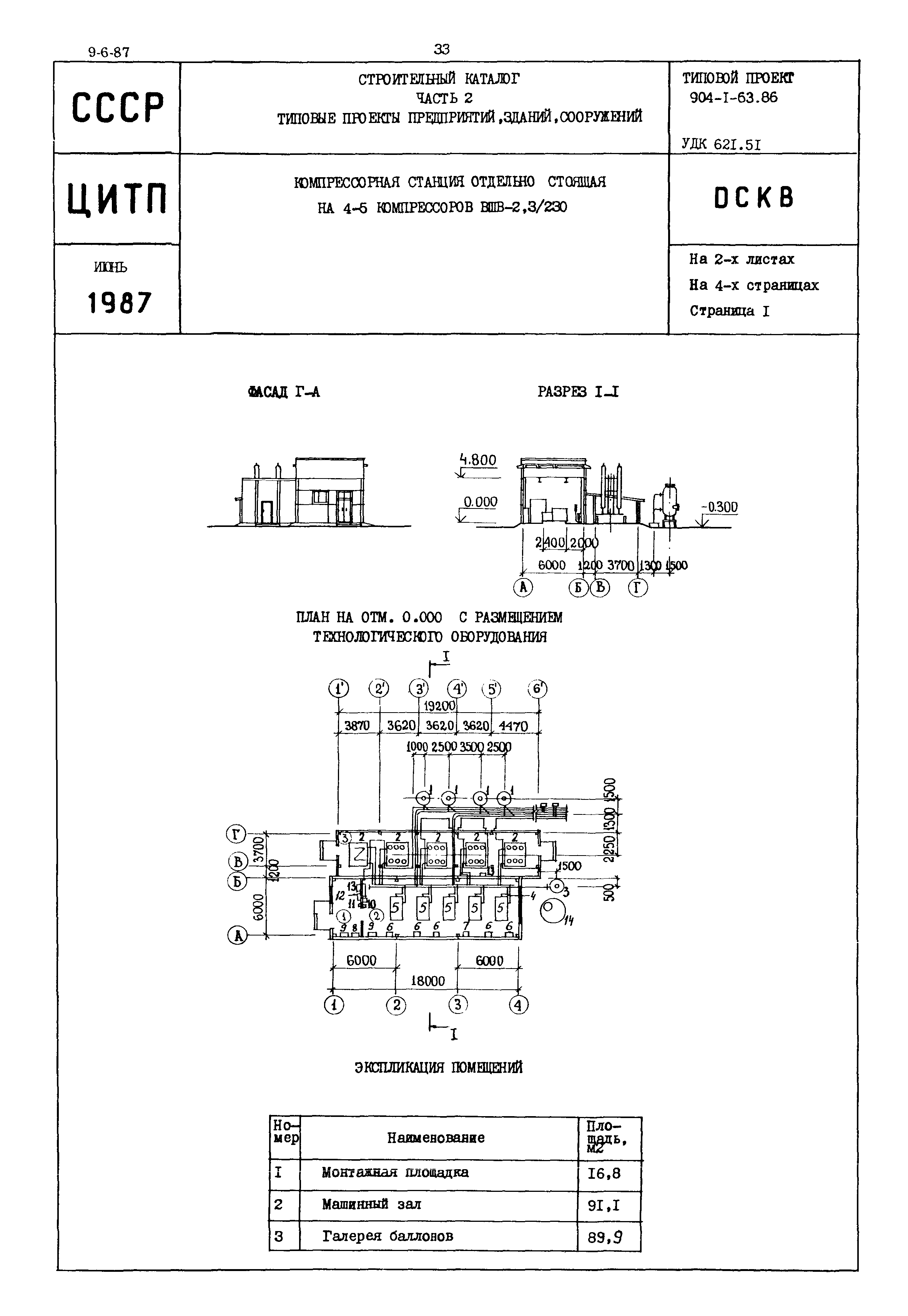
Компрессорная станция отдельностоящая на 4 - 5 компрессоров ВШВ-2,3/230| Обозначение: | Типовой проект 904-1-63.86 | | Обозначение англ: | 904-1-63.86 | | Статус: | заменен | | Название рус.: | Компрессорная станция отдельностоящая на 4 - 5 компрессоров ВШВ-2,3/230 | | Дата добавления в базу: | 01.02.2020 | | Дата актуализации: | 01.01.2021 | | Дата введения: | 29.03.1985 | | Дата окончания срока действия: | 16.08.1990 | | Область применения: | Компрессорная станция отдельно стоящая предназначена для установки 4 - 5 компрессоров ВШВ-2,3/230, производительностью по 2,3 м3/мин, с номинальным давлением 23,0 Мпа, с электродвигателем мощностью 55 кВт. |
  
|