Скачать Типовой проект 901-1-92.88 Водозаборные сооружения производительностью от 0,2 до 0,5 куб. м/с для амплитуды колебания уровня воды 6,0 м (подземная часть из сборного железобетона)Дата актуализации: 01.01.2021 Типовой проект 901-1-92.88
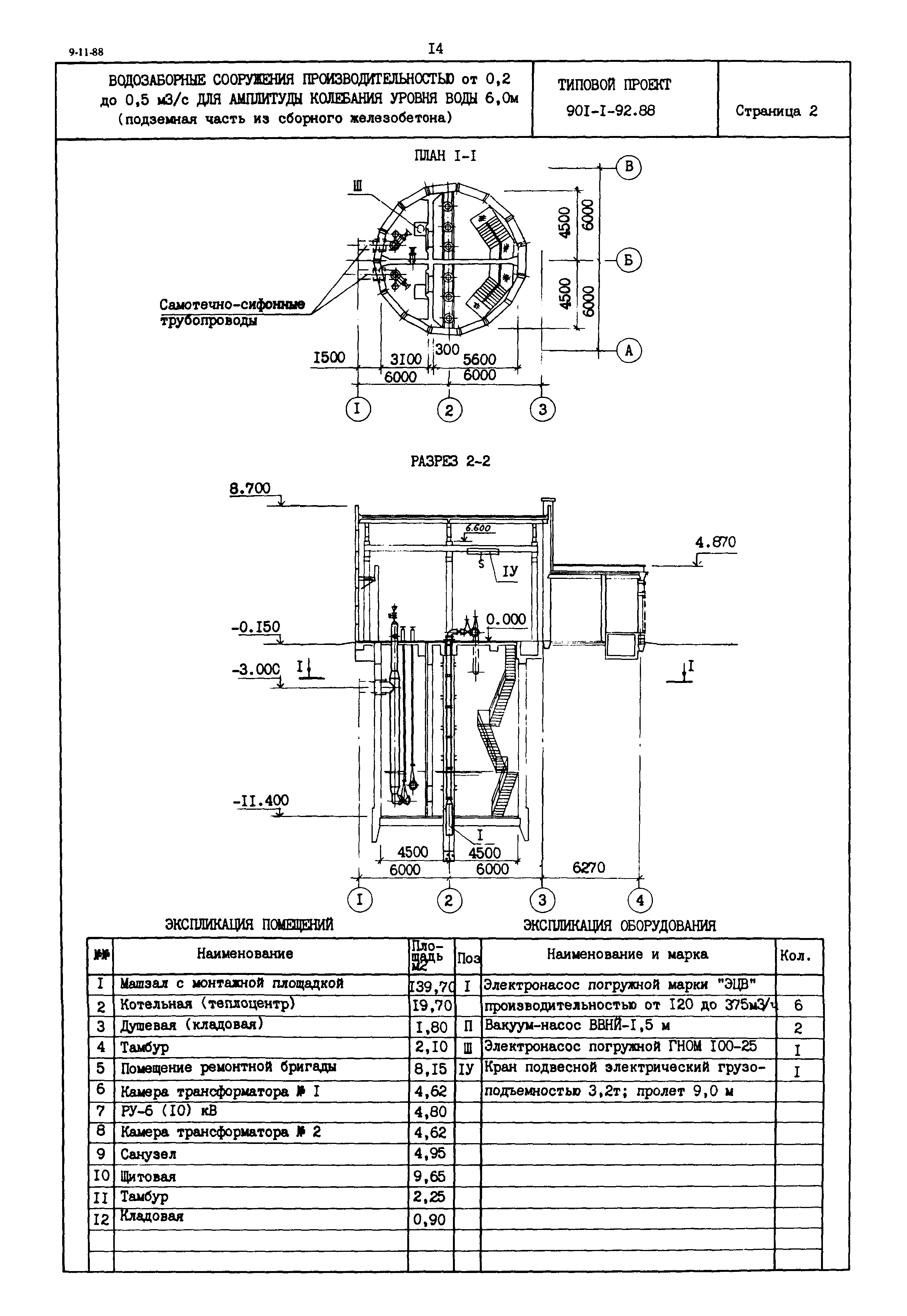
Водозаборные сооружения производительностью от 0,2 до 0,5 куб. м/с для амплитуды колебания уровня воды 6,0 м (подземная часть из сборного железобетона)| Обозначение: | Типовой проект 901-1-92.88 | | Обозначение англ: | 901-1-92.88 | | Статус: | не определен законодательством | | Название рус.: | Водозаборные сооружения производительностью от 0,2 до 0,5 куб. м/с для амплитуды колебания уровня воды 6,0 м (подземная часть из сборного железобетона) | | Дата добавления в базу: | 01.02.2017 | | Дата актуализации: | 01.01.2021 | | Дата введения: | 05.07.1988 | | Дата окончания срока действия: | 30.06.2003 |
     
|