Скачать Типовой проект 901-1-97.88 Водозаборные сооружения производительностью от 0,5 до 1,0 куб. м/с для амплитуды колебания уровня воды 10,0 мДата актуализации: 01.01.2021 Типовой проект 901-1-97.88
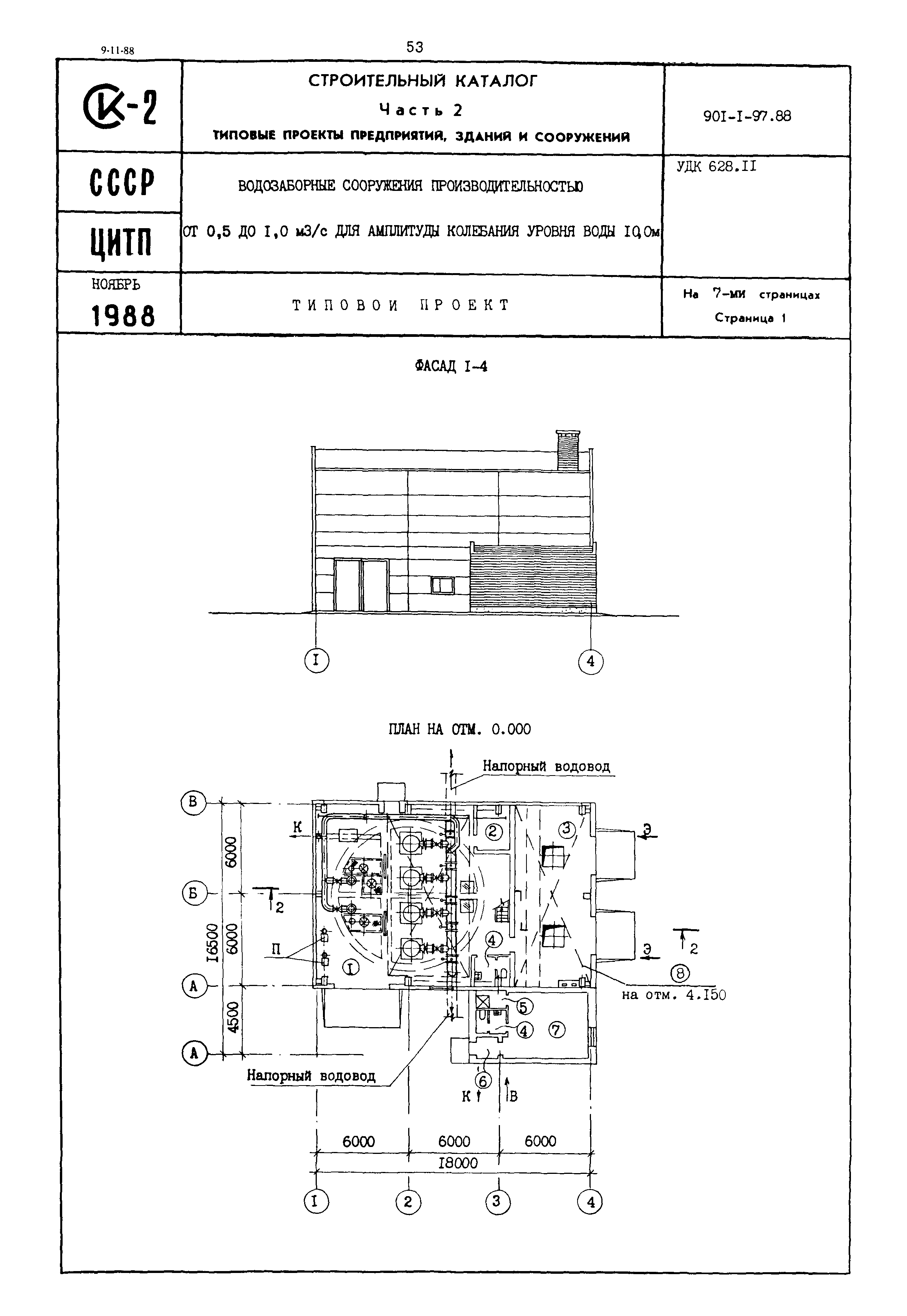
Водозаборные сооружения производительностью от 0,5 до 1,0 куб. м/с для амплитуды колебания уровня воды 10,0 м| Обозначение: | Типовой проект 901-1-97.88 | | Обозначение англ: | 901-1-97.88 | | Статус: | не определен законодательством | | Название рус.: | Водозаборные сооружения производительностью от 0,5 до 1,0 куб. м/с для амплитуды колебания уровня воды 10,0 м | | Дата добавления в базу: | 01.02.2020 | | Дата актуализации: | 01.01.2021 | | Дата введения: | 05.07.1988 | | Дата окончания срока действия: | 30.06.2003 | | Область применения: | Сооружение предназначено для забора воды из водоемов и подачи ее потребителям с требуемым расходом и напором. |
     
|