Скачать Типовой проект 901-3-249.88 Сооружения по обороту промывной воды для станции обезжелезивания воды подземных источников с содержанием железа до 10 мг/л производительностью 8,0 тыс. м3/сутДата актуализации: 01.01.2021 Типовой проект 901-3-249.88
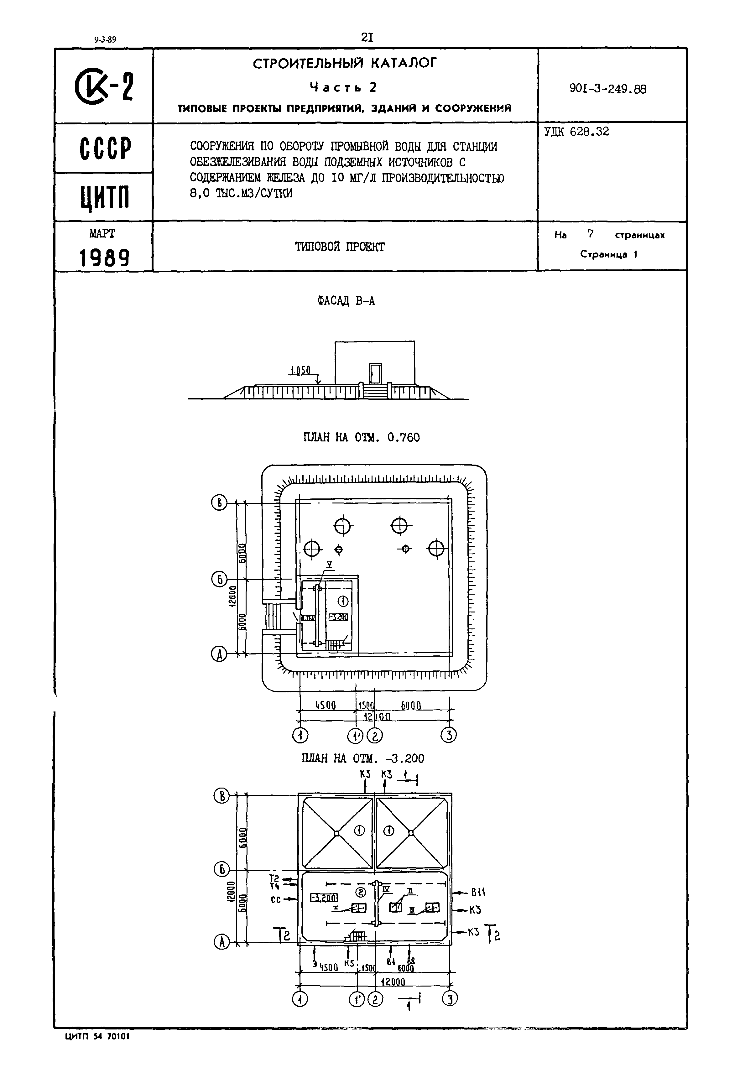
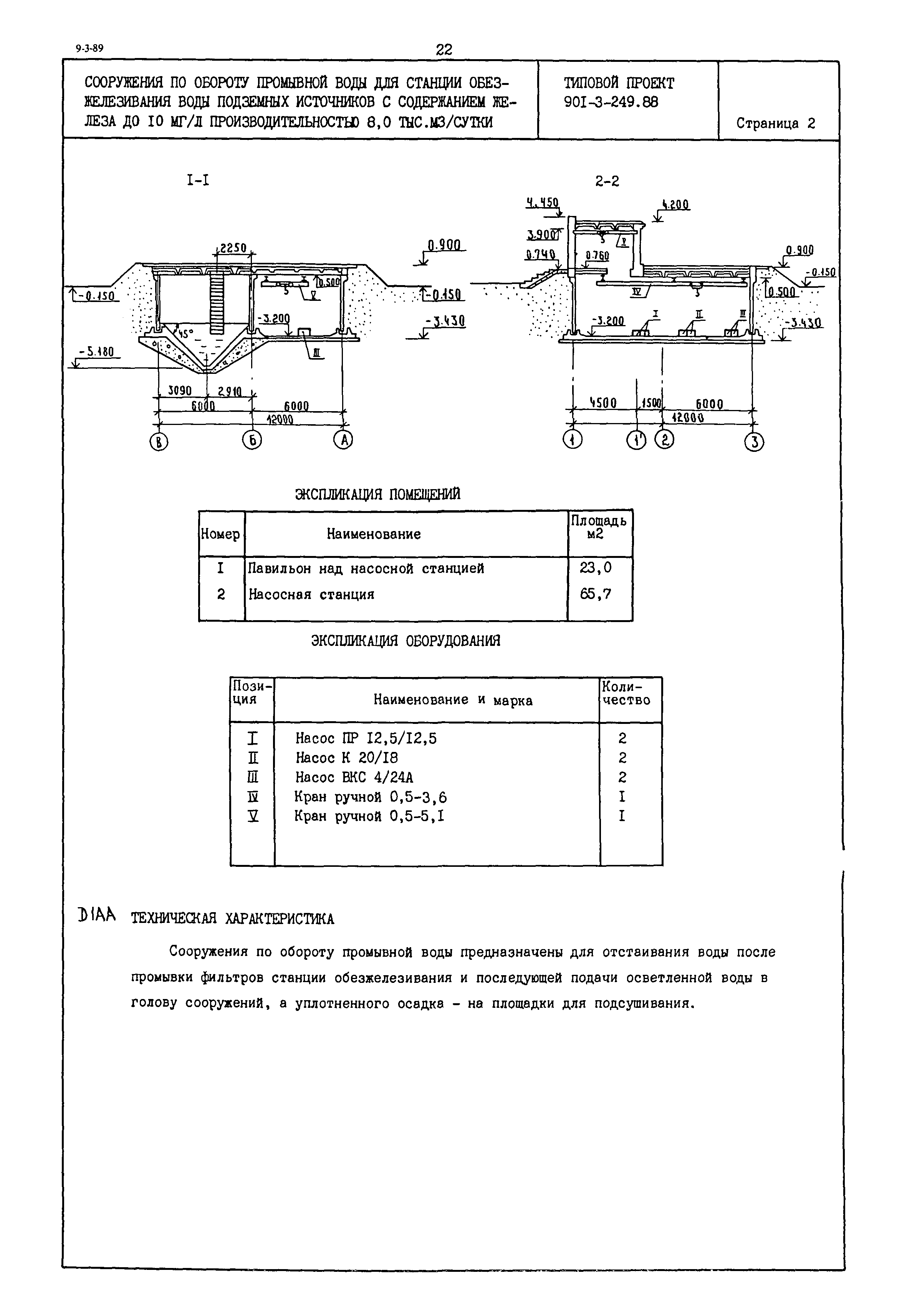
Сооружения по обороту промывной воды для станции обезжелезивания воды подземных источников с содержанием железа до 10 мг/л производительностью 8,0 тыс. м3/сут| Обозначение: | Типовой проект 901-3-249.88 | | Обозначение англ: | 901-3-249.88 | | Статус: | не определен законодательством | | Название рус.: | Сооружения по обороту промывной воды для станции обезжелезивания воды подземных источников с содержанием железа до 10 мг/л производительностью 8,0 тыс. м3/сут | | Дата добавления в базу: | 01.02.2017 | | Дата актуализации: | 01.01.2021 | | Дата введения: | 28.09.1988 | | Дата окончания срока действия: | 30.06.2003 |
     
|