Скачать Типовой проект 801-3-51.85 Родильная на 50 коров с телятником на 230 голов (с электроснабжением, здание со стоечно-балочным каркасом)Дата актуализации: 01.01.2021 Типовой проект 801-3-51.85
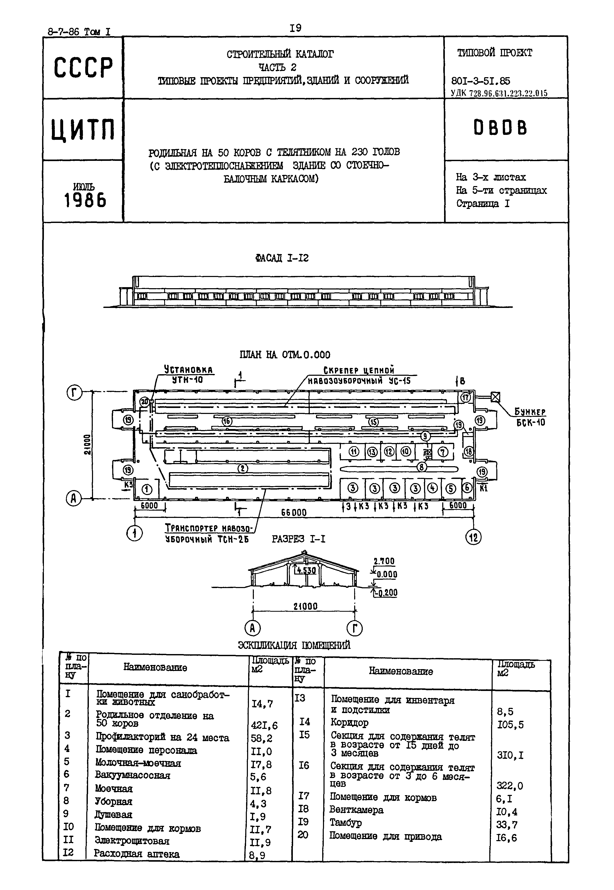
Родильная на 50 коров с телятником на 230 голов (с электроснабжением, здание со стоечно-балочным каркасом)| Обозначение: | Типовой проект 801-3-51.85 | | Обозначение англ: | 801-3-51.85 | | Статус: | не определен законодательством | | Название рус.: | Родильная на 50 коров с телятником на 230 голов (с электроснабжением, здание со стоечно-балочным каркасом) | | Дата добавления в базу: | 01.01.2021 | | Дата актуализации: | 01.01.2021 | | Дата введения: | 19.09.1984 | | Дата окончания срока действия: | 30.06.2003 | | Область применения: | Родильная на 50 коров с телятником на 230 голов предназначена для строительства в составе ферм по производству молока на 400 коров. Здание разделено в продольном направлении на два изолированных друг от друга помещения: одно предназначено для проведения отела, содержания глубокоотельных и новотельных коров и новорожденных телят (профилакторий), другое - для содержания телят в возрасте от 15 дней до 6 месяцев. |
   
|