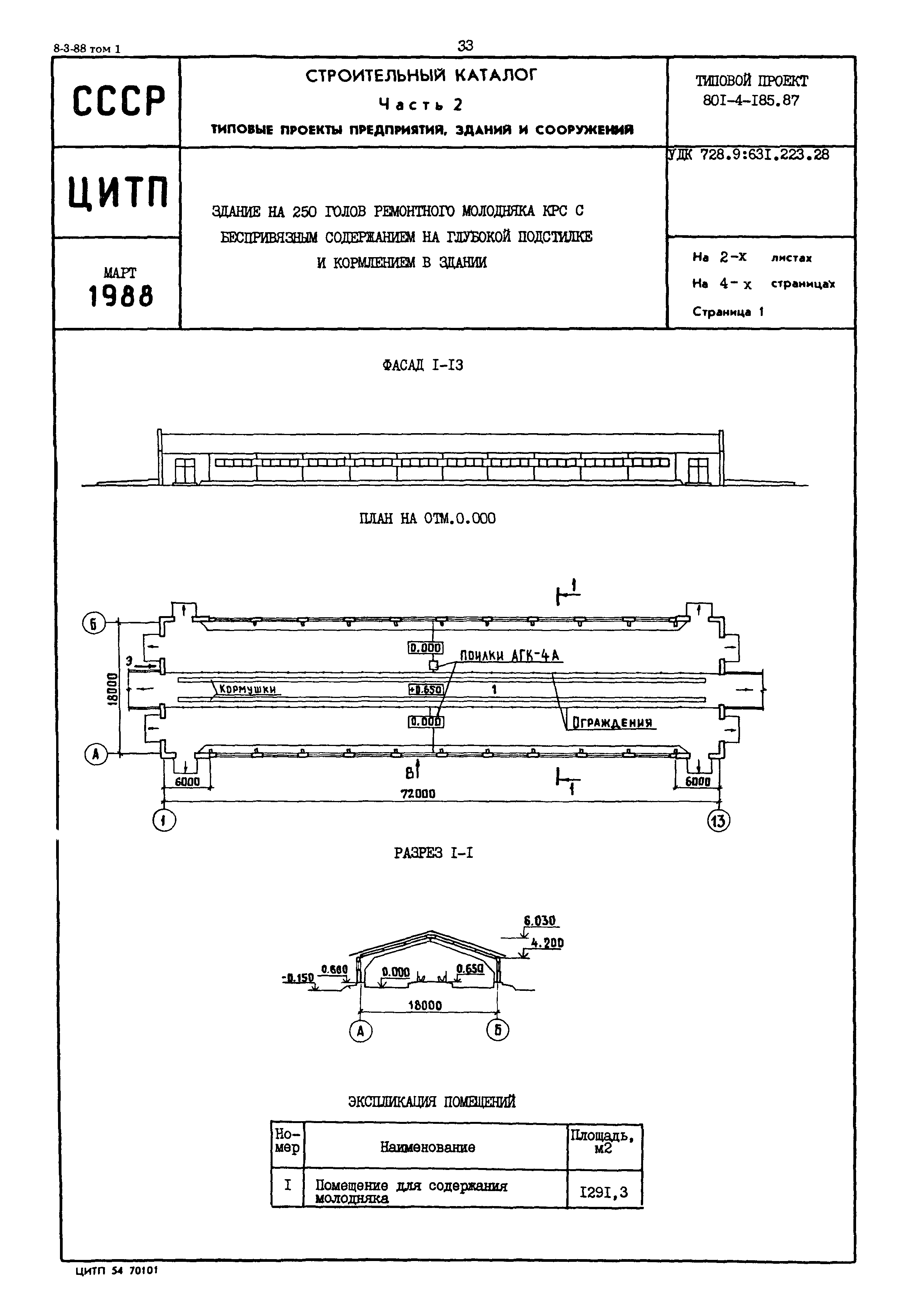
Скачать Типовой проект 801-4-185.87 Здание на 250 голов ремонтного молодняка крупного рогатого скота с беспривязным содержанием на глубокой подстилке и кормлением в зданииДата актуализации: 01.01.2021
|
| Обозначение: | Типовой проект 801-4-185.87 |
| Обозначение англ: | 801-4-185.87 |
| Статус: | не определен законодательством |
| Название рус.: | Здание на 250 голов ремонтного молодняка крупного рогатого скота с беспривязным содержанием на глубокой подстилке и кормлением в здании |
| Дата добавления в базу: | 01.02.2017 |
| Дата актуализации: | 01.01.2021 |
| Дата введения: | 12.10.1987 |
| Дата окончания срока действия: | 30.06.2003 |
| Область применения: | Здание предусмотрено для выращивания ремонтного молодняка крупного рогатого скота с 6 до 25 месяцев. Производственный цикл выращивания телок делится на четыре возрастных периода: от 6 до 11, от 11 до 16, от 16 до 21 и от 21 до 25 месяцев. Содержание животных предусмотрено на глубокой подстилке в групповых клетках, оборудованных кормушками и автопоилками. Все клетки имеют выход на выгульно-кормовые дворы, которые следует оборудовать автопоилками. Кормление - в здании, раздача кормов - мобильными средствами |



