Скачать Типовой проект 801-9-48.87 Здание отгрузки скотаДата актуализации: 01.01.2021 Типовой проект 801-9-48.87
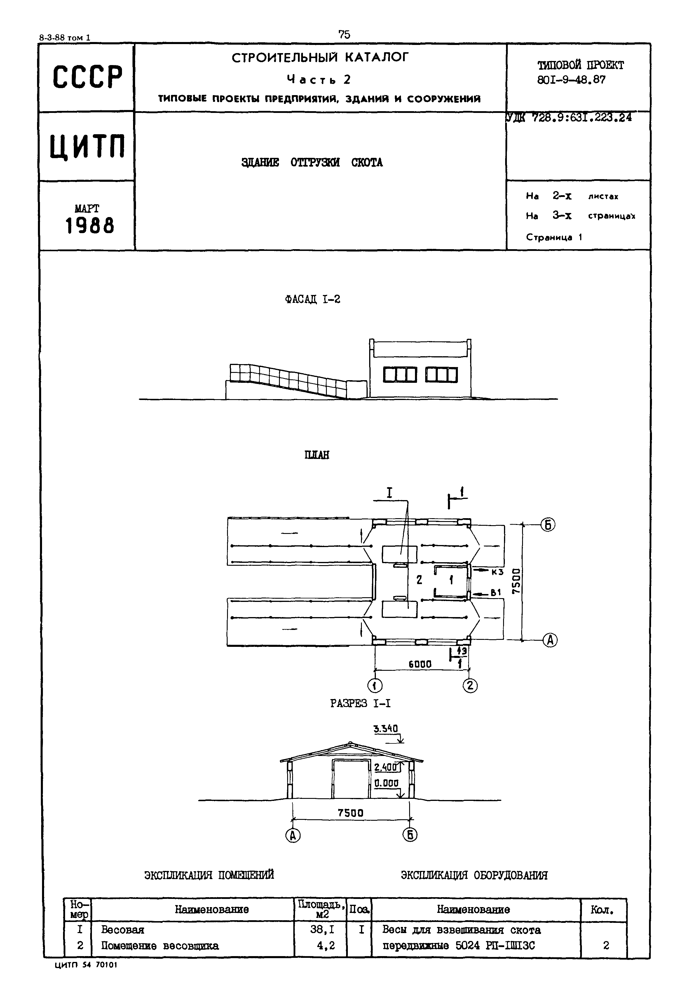
Здание отгрузки скота| Обозначение: | Типовой проект 801-9-48.87 | | Обозначение англ: | 801-9-48.87 | | Статус: | не определен законодательством | | Название рус.: | Здание отгрузки скота | | Дата добавления в базу: | 01.02.2020 | | Дата актуализации: | 01.01.2021 | | Дата введения: | 01.03.1988 | | Дата окончания срока действия: | 30.06.2003 | | Область применения: | Здание предназначено для взвешивания и отгрузки скота на комплексах и фермах по выращиванию, доращиванию и откорму молодняка крупного рогатого скота и выращиванию ремонтных телок и нетелей. |
 
|