Скачать Типовые проектные решения 405-9-034.89 Ацетиленовая станция УАС-20г производительностью 20 куб. м/час газообразного ацетиленаДата актуализации: 01.01.2021 Типовые проектные решения 405-9-034.89
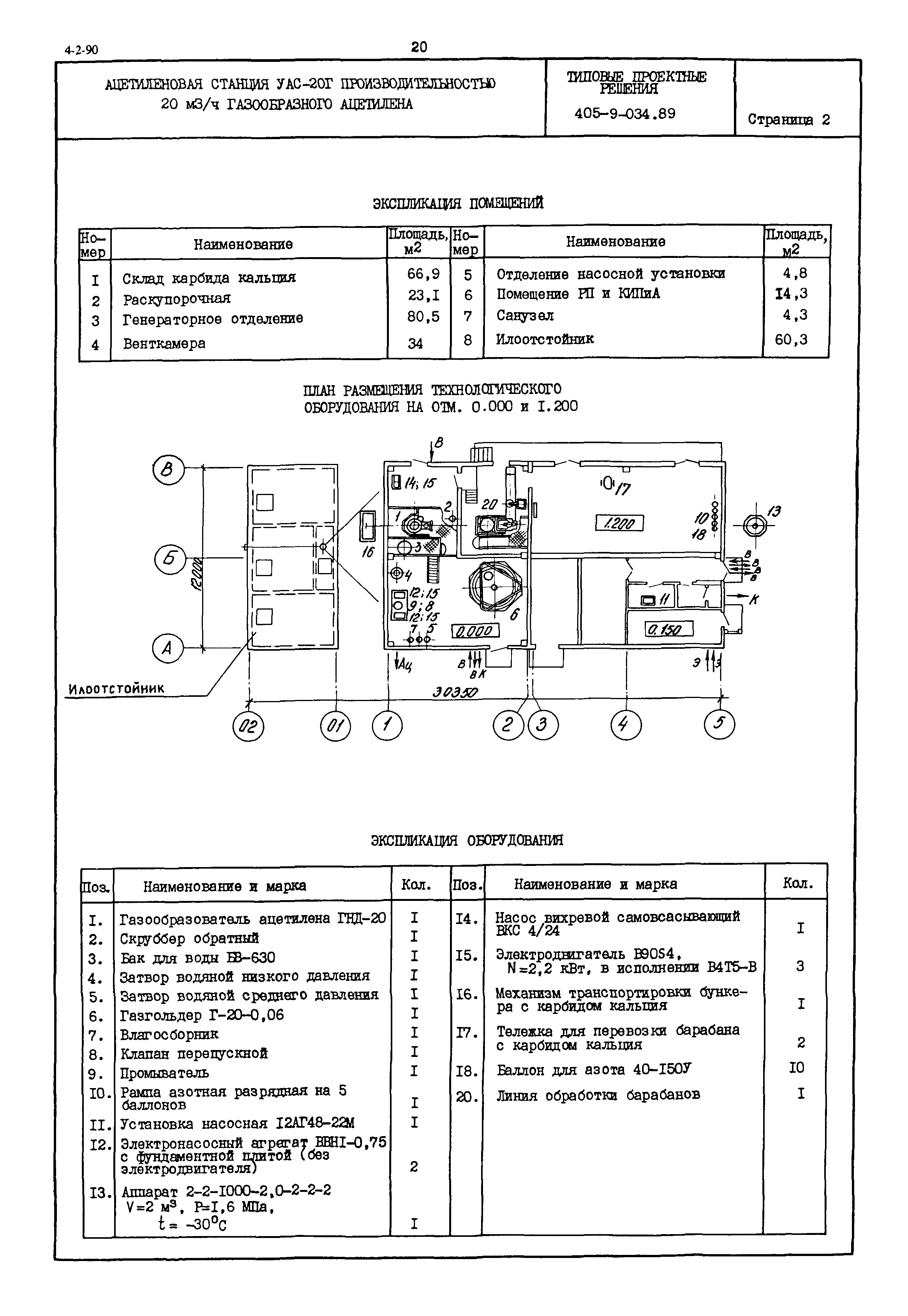
Ацетиленовая станция УАС-20г производительностью 20 куб. м/час газообразного ацетилена| Обозначение: | Типовые проектные решения 405-9-034.89 | | Обозначение англ: | 405-9-034.89 | | Статус: | действует | | Название рус.: | Ацетиленовая станция УАС-20г производительностью 20 куб. м/час газообразного ацетилена | | Дата добавления в базу: | 01.01.2019 | | Дата актуализации: | 01.01.2021 | | Дата введения: | 19.04.1989 | | Область применения: | Ацетиленовая станция предназначена для выработки из карбида кальция газообразного ацетилена, используемого потребителями для газопламенной обработки металлов |
     
|