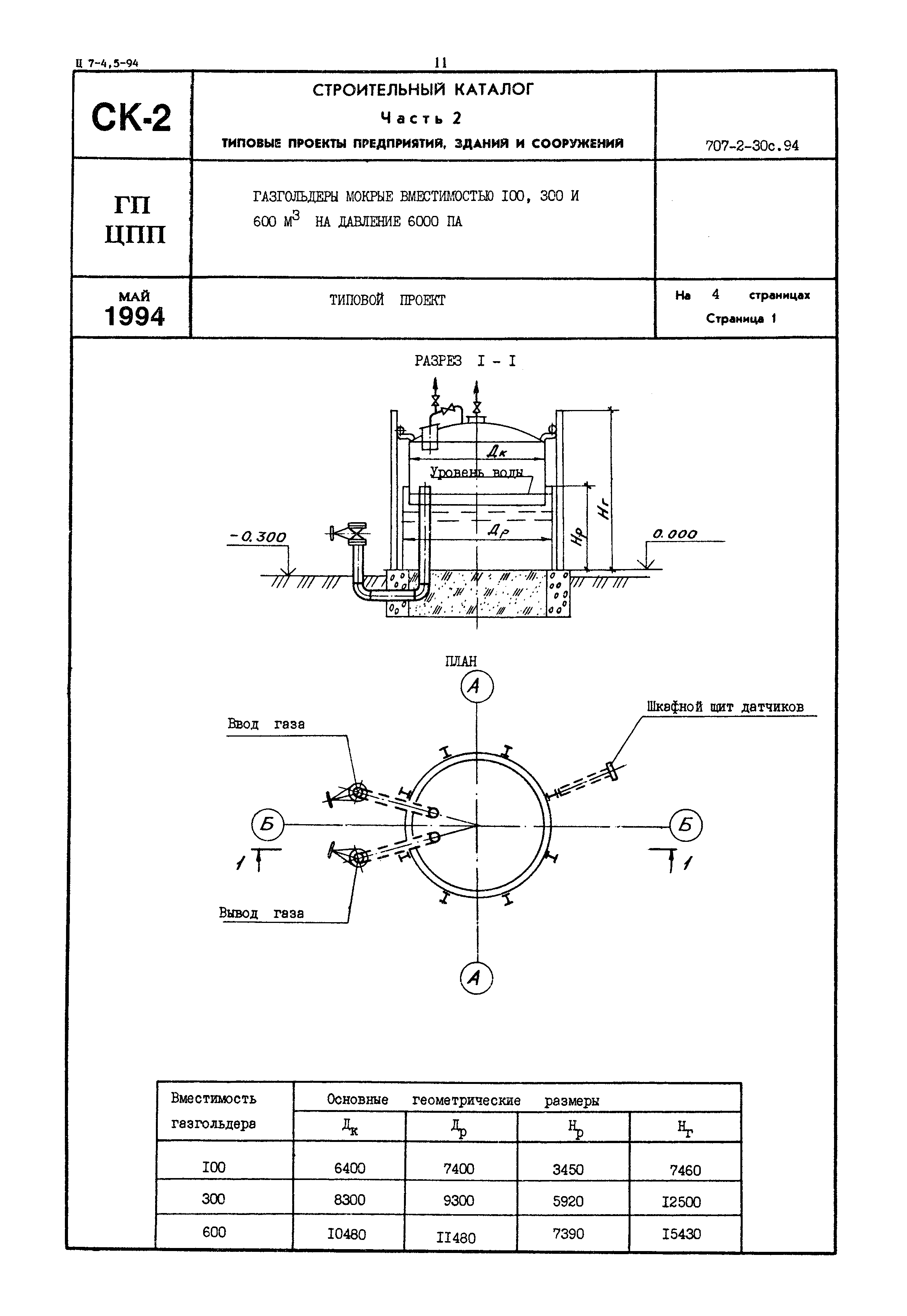
Скачать Типовой проект 707-2-30с.94 Газгольдеры мокрые вместимостью 100, 300 и 600 куб. м на давление 6000 МПаДата актуализации: 01.01.2021 Типовой проект 707-2-30с.94
Газгольдеры мокрые вместимостью 100, 300 и 600 куб. м на давление 6000 МПа| Обозначение: | Типовой проект 707-2-30с.94 | | Обозначение англ: | 707-2-30с.94 | | Статус: | не определен законодательством | | Название рус.: | Газгольдеры мокрые вместимостью 100, 300 и 600 куб. м на давление 6000 МПа | | Дата добавления в базу: | 21.05.2015 | | Дата актуализации: | 01.01.2021 | | Дата введения: | 16.12.1993 | | Дата окончания срока действия: | 30.06.2003 |
  
|