Скачать Типовой проект 801-3-15 Родильная на 96 коровДата актуализации: 01.01.2021 Типовой проект 801-3-15
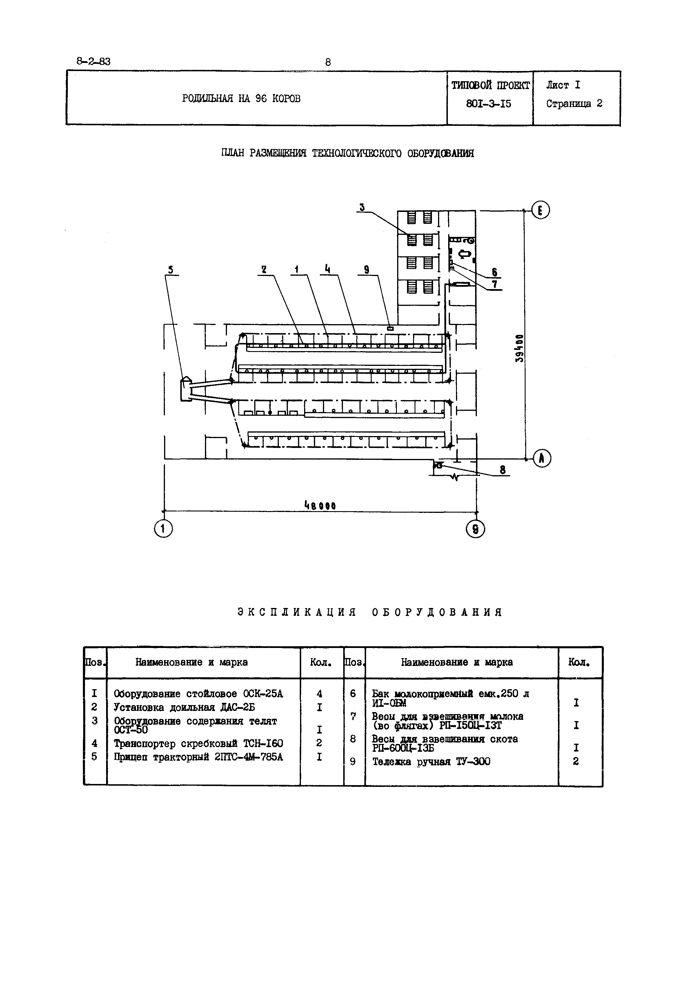
Родильная на 96 коров| Обозначение: | Типовой проект 801-3-15 | | Обозначение англ: | 801-3-15 | | Статус: | справочные материалы, мп, тпр | | Название рус.: | Родильная на 96 коров | | Дата добавления в базу: | 01.02.2020 | | Дата актуализации: | 01.01.2021 | | Дата введения: | 24.09.1981 | | Дата окончания срока действия: | 01.03.1987 | | Область применения: | Родильная на 96 коров предназначена для строительства в составе комплекса по производству молока на 800 коров и служит для проведения отелов, содержания глубокостельных коров и нетелей, новотельных коров и телят профилакторного периода |
    
|