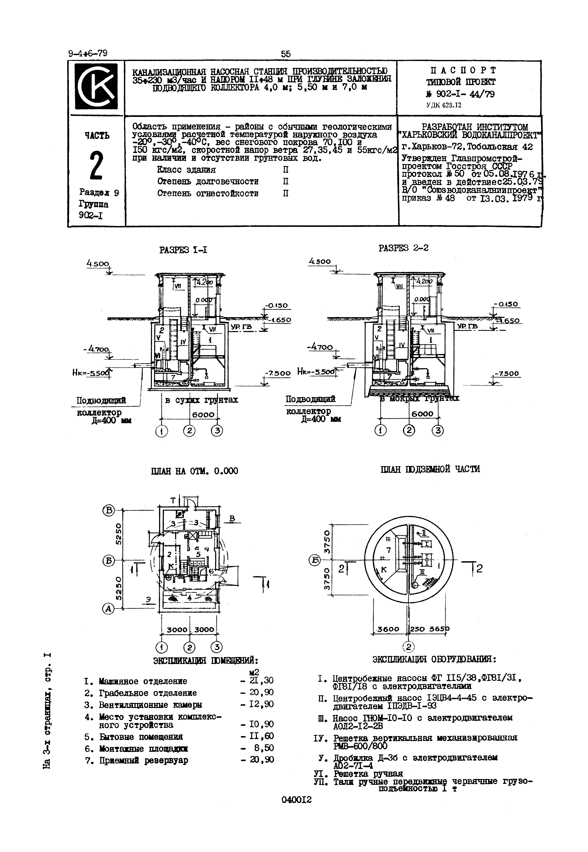
Скачать Типовой проект 902-1-44/79 Канализационная насосная станция производительностью 35 - 230 куб. м/час и напором 11 - 48 м при глубине заложения подводящего коллектора 4,0 м; 5,5 м и 7,0 мДата актуализации: 01.01.2021 Типовой проект 902-1-44/79
Канализационная насосная станция производительностью 35 - 230 куб. м/час и напором 11 - 48 м при глубине заложения подводящего коллектора 4,0 м; 5,5 м и 7,0 м| Обозначение: | Типовой проект 902-1-44/79 | | Обозначение англ: | 902-1-44/79 | | Статус: | не действует | | Название рус.: | Канализационная насосная станция производительностью 35 - 230 куб. м/час и напором 11 - 48 м при глубине заложения подводящего коллектора 4,0 м; 5,5 м и 7,0 м | | Дата добавления в базу: | 01.01.2019 | | Дата актуализации: | 01.01.2021 | | Дата введения: | 25.03.1979 | | Дата окончания срока действия: | 01.07.1984 |
 
|