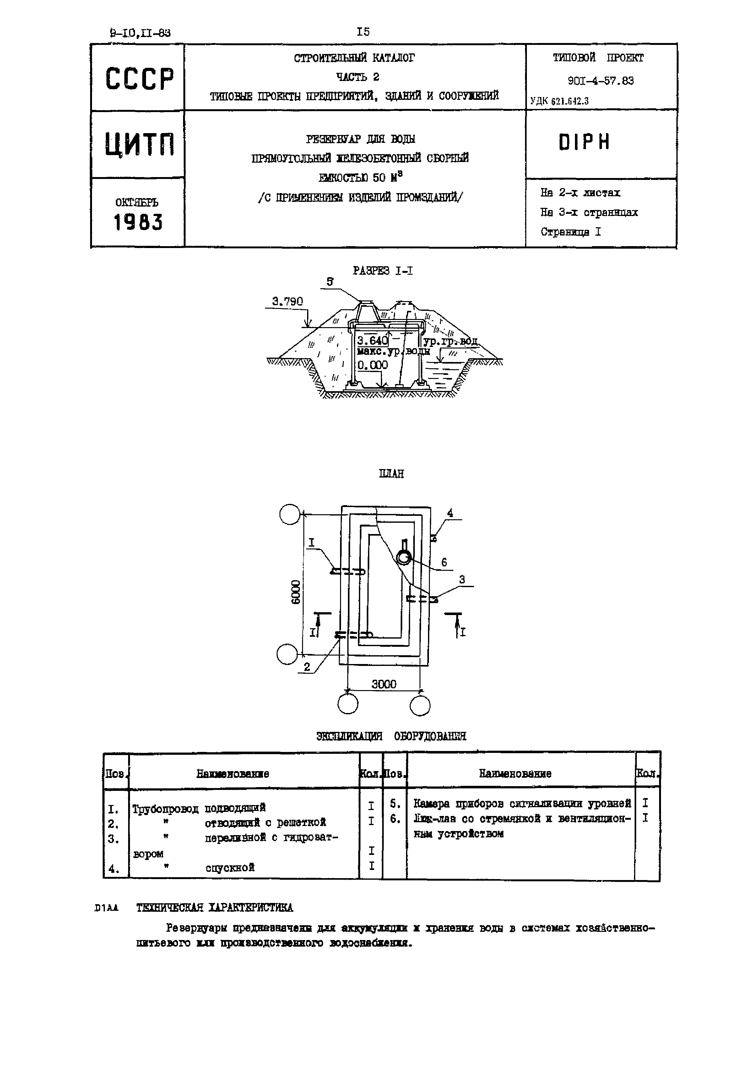
Скачать Типовой проект 901-4-57.83 Резервуары для воды прямоугольные железобетонные сборные емкостью 50 куб. м (с применением изделий промзданий)Дата актуализации: 01.01.2021 Типовой проект 901-4-57.83
Резервуары для воды прямоугольные железобетонные сборные емкостью 50 куб. м (с применением изделий промзданий)| Обозначение: | Типовой проект 901-4-57.83 | | Обозначение англ: | 901-4-57.83 | | Статус: | действует | | Название рус.: | Резервуары для воды прямоугольные железобетонные сборные емкостью 50 куб. м (с применением изделий промзданий) | | Дата добавления в базу: | 01.02.2020 | | Дата актуализации: | 01.01.2021 | | Дата введения: | 23.06.1983 |
   
|