Скачать Сборник 8-1.2 Насосные станции со шнековыми подъемниками. Здания и сооружения водоснабжения и канализации. Сборники укрупненных сметных норм (УСН). Правила разработки и применения укрупненных сметных норм и расценокДата актуализации: 01.01.2021
|
| Обозначение: | Сборник 8-1.2 |
| Обозначение англ: | Сборник 8-1.2 |
| Статус: | действует |
| Название рус.: | Насосные станции со шнековыми подъемниками. Здания и сооружения водоснабжения и канализации. Сборники укрупненных сметных норм (УСН). Правила разработки и применения укрупненных сметных норм и расценок |
| Название англ.: | Pumping Stations with Screw Elevators |
| Дата добавления в базу: | 01.09.2013 |
| Дата актуализации: | 01.01.2021 |
| Дата введения: | 01.07.1986 |
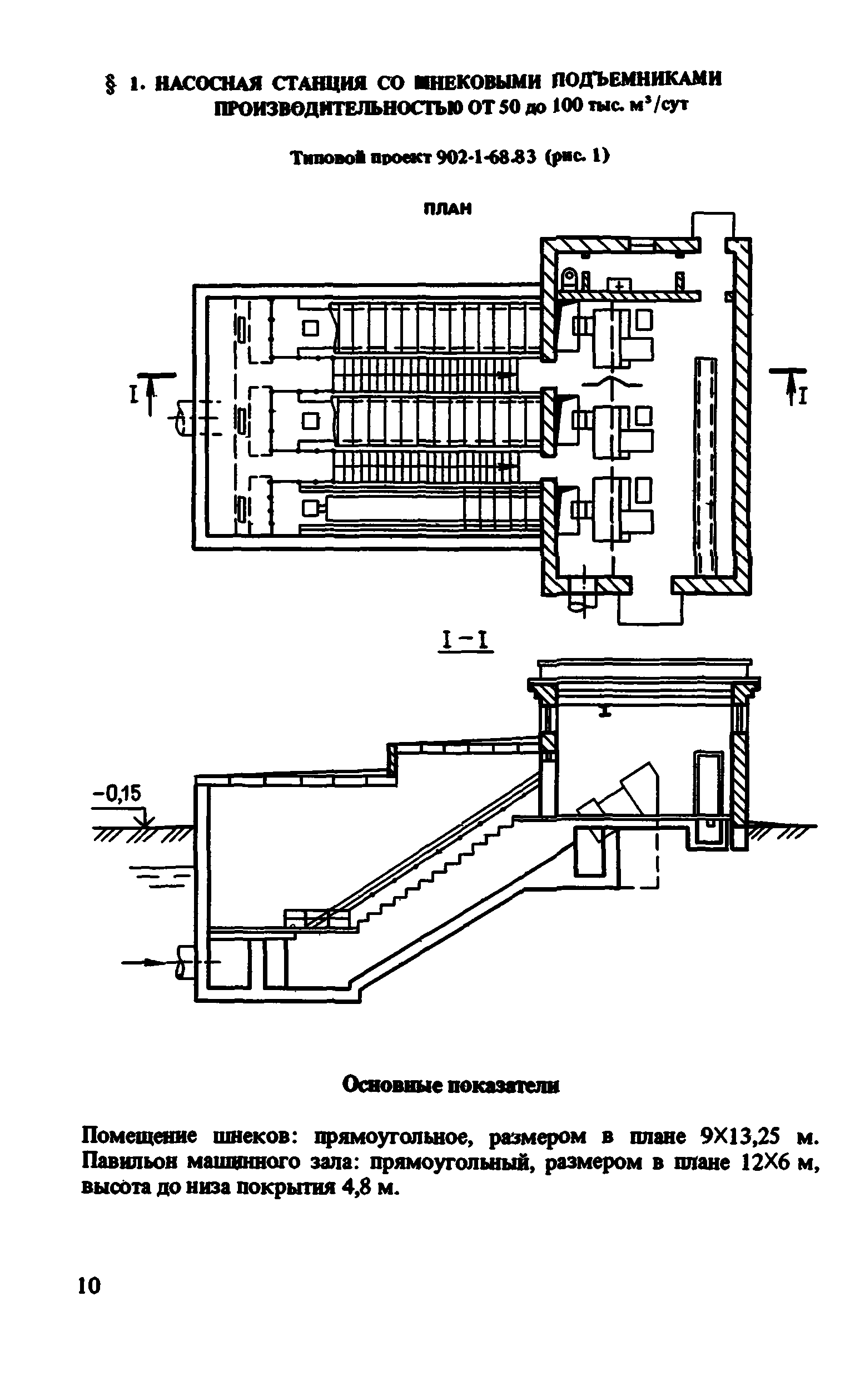
| Оглавление: | Общая часть §1. Насосная станция со шнековыми подъемниками производительностью от 50 до 100 тыс. м?/сут. Типовой проект 902-1-68.83 §1-1. Строительные работы §1-2. Монтажные работы §1-3. Состав и стоимость основного технологического оборудования, руб. §2. Насосная станция со шнековыми подъемниками производительностью до 30 тыс. м?/сут. Типовой проект 902-1-69.83 §2-1. Строительные работы §2-2. Монтажные работы §2-3. Состав и стоимость основного технологического оборудования, руб. §3. Насосная станция со шнековыми подъемниками производительностью от 100 до 200 тыс. м?/сут. Типовой проект 902-1-97.84 §3-1. Строительные работы §3-2. Монтажные работы §3-3. Состав и стоимость основного технологического оборудования, руб. §4. Насосная станция с закрытыми шнековыми подъемниками производительностью от 100 до 200 тыс. м?/сут. Типовой проект 902-1-98.84 §4-1. Строительные работы §4-2. Монтажные работы §4-3. Состав и стоимость основного технологического оборудования, руб. Приложение 1. Масса грунта, т, от выемки и для обратной засыпки Приложение 2. Пример определения сметной стоимости строительства насосной станции со шнековыми подъемниками производительностью до 30 тыс. м?/сут по настоящему Сборнику |
| Разработан: | Гипрокоммунводоканал Минжилкомхоза РСФСР НИИЭС Госстроя СССР |
| Утверждён: | 07.02.1986 Госстрой СССР (Государственный комитет Совета Министров СССР по делам строительства) (USSR Gosstroy 14) |
| Издан: | Прейскурантиздат (1988 г. ) |









































































































