Скачать ГОСТ 21.601-79 Система проектной документации для строительства. Водопровод и канализация. Рабочие чертежиДата актуализации: 01.01.2021
|
| Обозначение: | ГОСТ 21.601-79 |
| Обозначение англ: | GOST 21.601-79 |
| Статус: | заменен |
| Название рус.: | Система проектной документации для строительства. Водопровод и канализация. Рабочие чертежи |
| Название англ.: | System of design documents for construction. \rWater supply and sewerage. Working drawings |
| Дата добавления в базу: | 01.09.2013 |
| Дата актуализации: | 01.01.2021 |
| Дата введения: | 01.01.1981 |
| Дата окончания срока действия: | 01.05.2013 |
| Область применения: | Стандарт устанавливает состав и правила выполнения рабочих чертежей внутренних водопровода и канализации (в том числе бытового горячего водоснабжения) здании и сооружений всех отраслей промышленности и народного хозяйства. Стандарт не распространяется на правила оформления технологических рабочих чертежей сооружений водоподготовки и очистки сточных вод. |
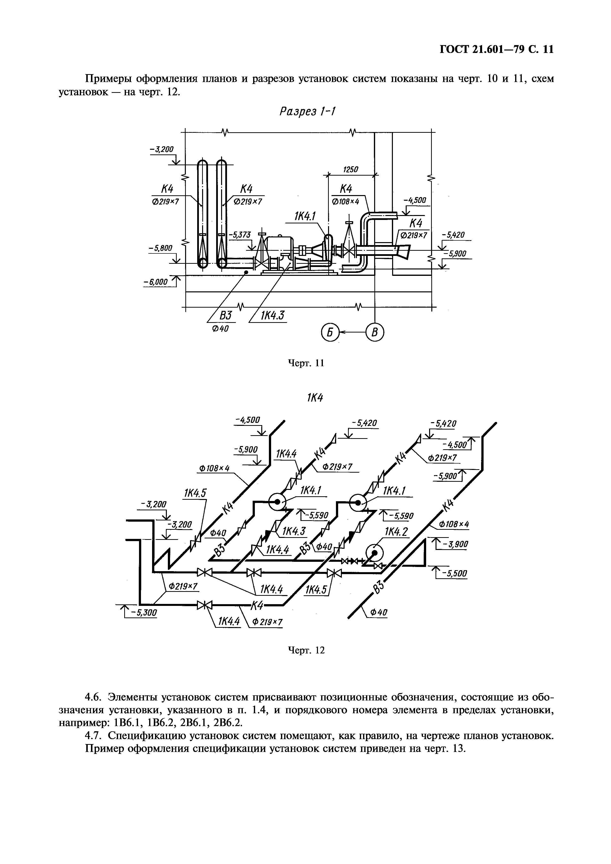
| Оглавление: | 1 Общие требования 2 Общие данные 3 Чертежи систем 3.1 Планы систем 3.2 Схемы систем 4 Чертежи установок систем 5 Чертежи общих видов нестандартных (нетиповых) конструкций систем |
| Разработан: | Минмонтажспецстрой СССР Сантехпроект Госстроя СССР Госкомитет по гражданскому строительству и архитектуре при Госстрое СССР Госстрой СССР |
| Утверждён: | 31.07.1979 Госстрой СССР (Государственный комитет Совета Министров СССР по делам строительства) (USSR Gosstroy 133) |
| Издан: | Издательство стандартов (1979 г. ) ИПК Издательство стандартов (2002 г. ) |
| Список изменений: |
|
| Заменяет собой: | |
| Нормативные ссылки: |
|















Текстовое изменение № 1 от 12.09.1980