Скачать ГОСТ 21.611-85 Система проектной документации для строительства. Централизованное управление энергоснабжением. Условные графические и буквенные обозначения вида и содержания информации

Дата актуализации: 01.01.2021

ГОСТ 21.611-85

Система проектной документации для строительства. Централизованное управление энергоснабжением. Условные графические и буквенные обозначения вида и содержания информации

Обозначение: ГОСТ 21.611-85
Обозначение англ: GOST 21.611-85
Статус:заменен
Название рус.:Система проектной документации для строительства. Централизованное управление энергоснабжением. Условные графические и буквенные обозначения вида и содержания информации
Название англ.:System of building design documents. Centralized power supply control. Graphical and letter designation of the type and contents of information
Дата добавления в базу:01.09.2013
Дата актуализации:01.01.2021
Дата введения:01.07.1986
Дата окончания срока действия:01.07.2015
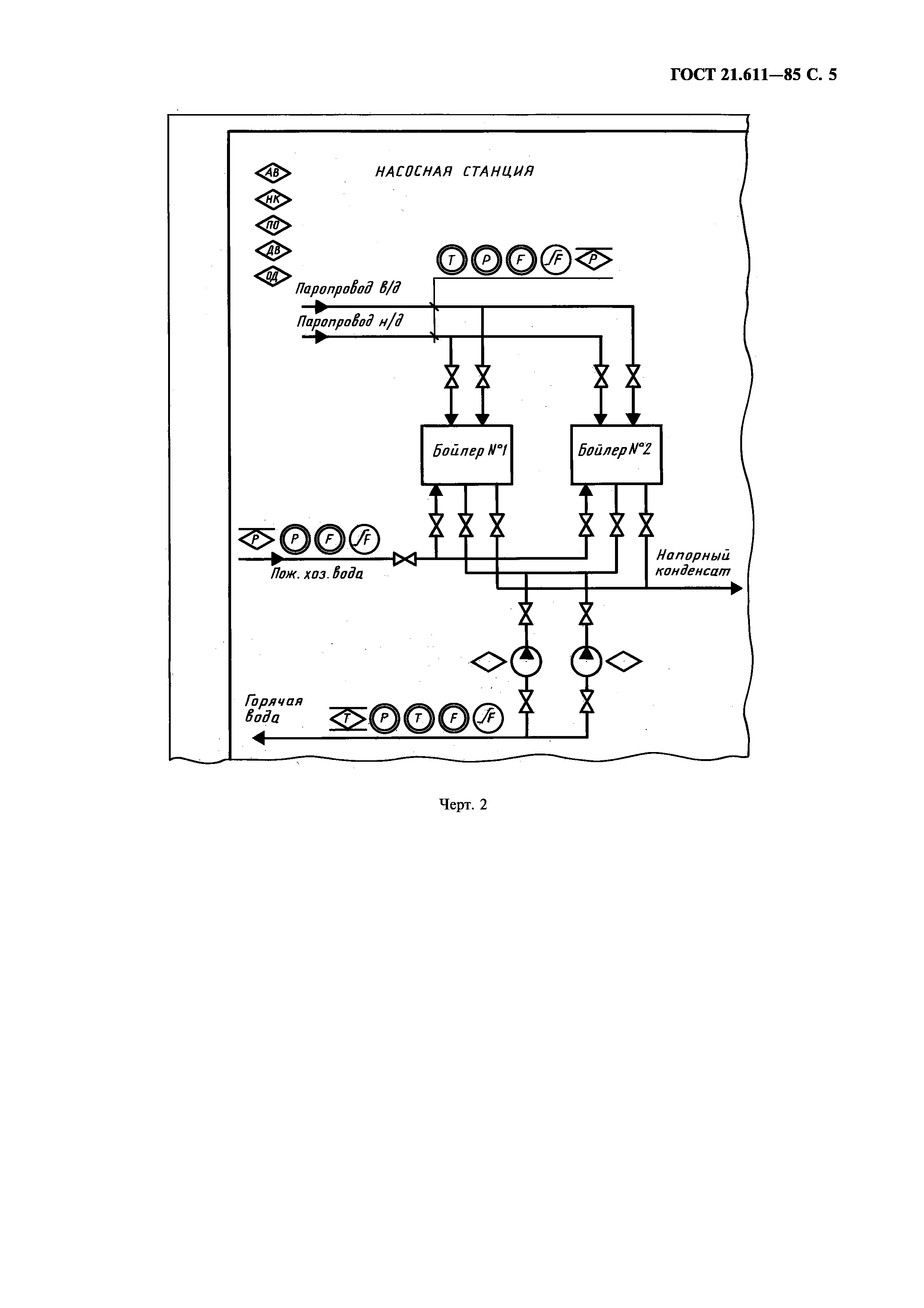
Область применения:Стандарт устанавливает условные графические и буквенные обозначения вида и содержания информации, передаваемой в системах централизованного управления энергоснабжением предприятий, зданий и сооружений всех отраслей промышленности и народного хозяйства.
Разработан: ВНИПИ Тяжпромэлектропроект
Утверждён:26.09.1985 Государственный комитет СССР по делам строительства (164)
Издан: Издательство стандартов (1985 г. )
ИПК Издательство стандартов (2002 г. )
Нормативные ссылки:
ГОСТ 21.611-85ГОСТ 21.611-85ГОСТ 21.611-85ГОСТ 21.611-85ГОСТ 21.611-85ГОСТ 21.611-85ГОСТ 21.611-85