Скачать ГОСТ 24434-80 Панели слоистые с утеплителем из пенопластов для стен и покрытий зданий. Пенопласты. Метод определения усадкиДата актуализации: 01.01.2021
|
| Обозначение: | ГОСТ 24434-80 |
| Обозначение англ: | GOST 24434-80 |
| Статус: | действует |
| Название рус.: | Панели слоистые с утеплителем из пенопластов для стен и покрытий зданий. Пенопласты. Метод определения усадки |
| Название англ.: | Laminated wall and roof panels with foam plastic thermal insulation. Foam plastics. Method of determining shrinkage |
| Дата добавления в базу: | 01.09.2013 |
| Дата актуализации: | 01.01.2021 |
| Дата введения: | 01.01.1982 |
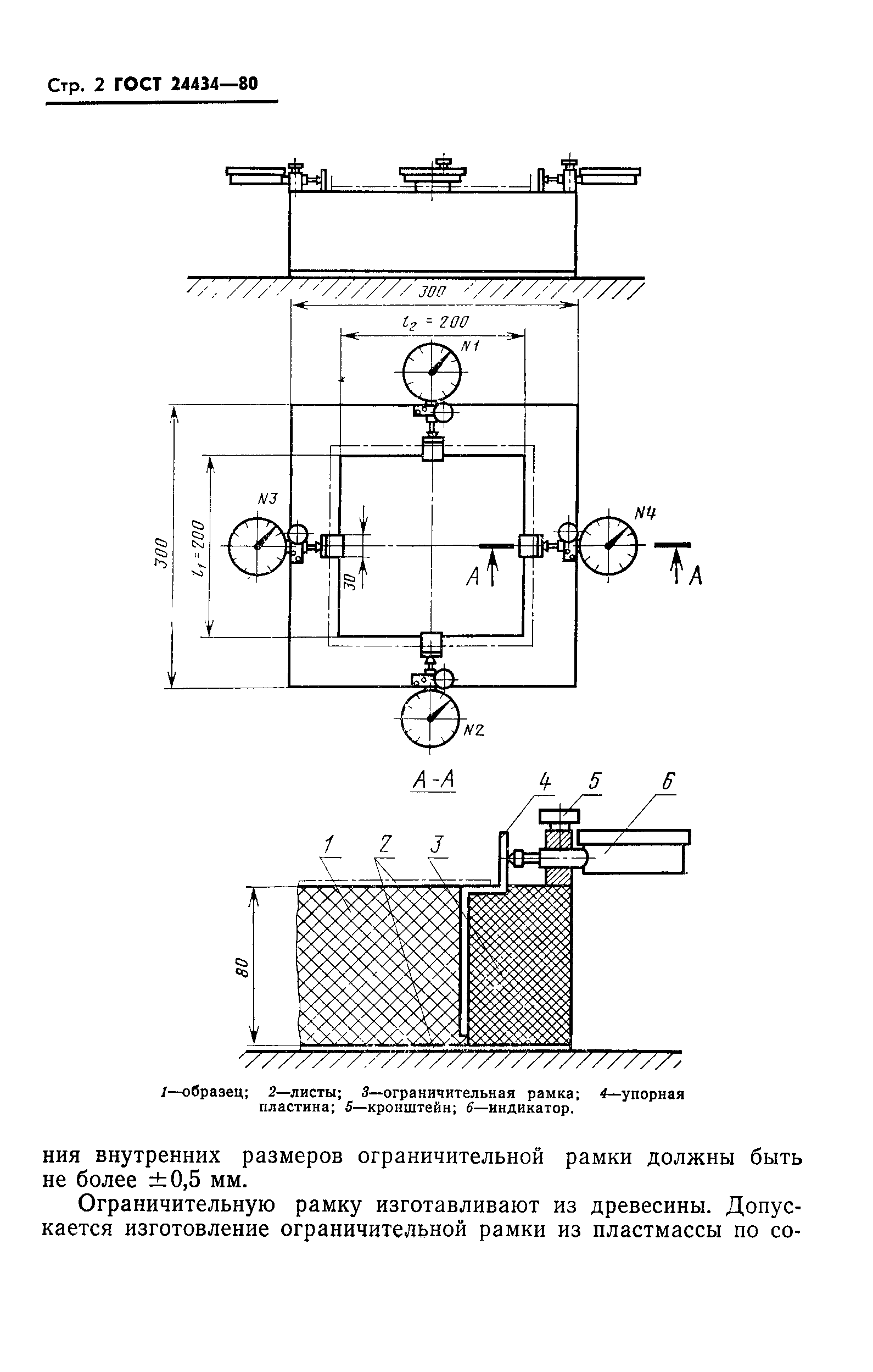
| Область применения: | Стандарт распространяется на слоистые панели с конструкционным утеплителем из заливочных пенопластов (с листами из металла, асбестоцемента, древесноволокнистых и древесностружечных плит, фанеры, стеклопластиков и др.) для стен и покрытий зданий и устанавливает метод определения технологической усадки утеплителя, появляющейся после формования пенопласта в полости панелей. |
| Оглавление: | 1 Аппаратура 2 Метод изготовления образцов и подготовка к испытанию 3 Проведение испытания 4 Обработка результатов |
| Разработан: | ЦНИИСК им. В.А. Кучеренко Министерство промышленности строительных материалов СССР |
| Утверждён: | 25.09.1980 Государственный комитет Совета Министров СССР по делам строительства (149) |
| Издан: | Издательство стандартов (1988 г. ) Издательство стандартов (1981 г. ) |
| Нормативные ссылки: |







