Скачать ГОСТ 6368-82 Рельсы железнодорожные узкой колеи типов Р8, Р11, Р18 и Р24. Конструкция и размерыДата актуализации: 01.01.2021
|
| Обозначение: | ГОСТ 6368-82 |
| Обозначение англ: | GOST 6368-82 |
| Статус: | действует |
| Название рус.: | Рельсы железнодорожные узкой колеи типов Р8, Р11, Р18 и Р24. Конструкция и размеры |
| Название англ.: | Type R8, R11, R18 and R24 narrow-gauge railway rails. Design and dimensions |
| Дата добавления в базу: | 01.09.2013 |
| Дата актуализации: | 01.01.2021 |
| Дата введения: | 01.01.1984 |
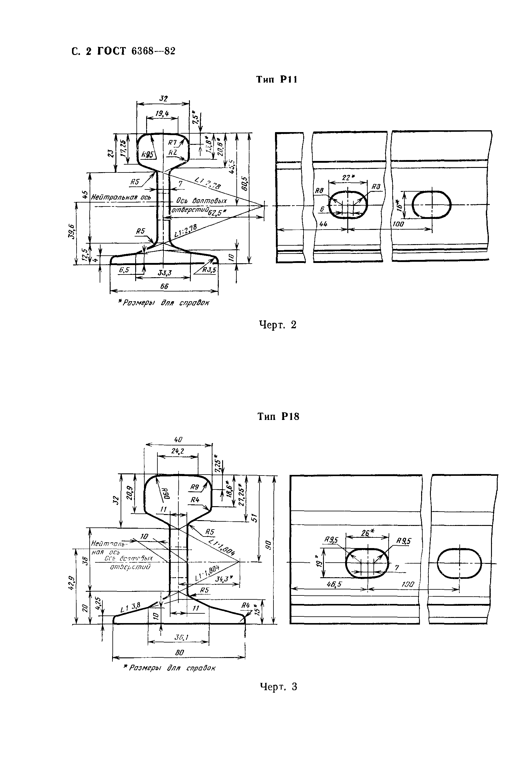
| Область применения: | Стандарт распространяется на рельсы типов Р8, Р11, Р18 и Р24, предназначенные для укладки на железных дорогах узкой колеи. |
| Оглавление: | Рельсы железнодорожные узкой колеи типов Р8, Р11, Р18 и Р24. Конструкция и размеры Таблица 1 Таблица 2 Приложение 1 Приложение 2 |
| Разработан: | Министерство черной металлургии СССР |
| Утверждён: | 07.09.1982 Госстандарт СССР (USSR Gosstandart 3527) |
| Издан: | Издательство стандартов (1982 г. ) Издательство стандартов (1993 г. ) |
| Список изменений: |
|
| Заменяет собой: |
|
| Нормативные ссылки: |







Текстовое изменение № 1 от 01.01.1989