Скачать ГОСТ 28771-90 Машины землеройные. Тракторы с бульдозерным оборудованием, автогрейдеры, самоходные скреперы. Ножи. Основные формы и размерыДата актуализации: 01.01.2021
|
| Обозначение: | ГОСТ 28771-90 |
| Обозначение англ: | GOST 28771-90 |
| Статус: | действует |
| Название рус.: | Машины землеройные. Тракторы с бульдозерным оборудованием, автогрейдеры, самоходные скреперы. Ножи. Основные формы и размеры |
| Название англ.: | Earth-moving machinery. Tractors with dozer, graders, Tractor scrapers. Cutting adges. Principal shapes and basic dimensions |
| Дата добавления в базу: | 01.09.2013 |
| Дата актуализации: | 01.01.2021 |
| Дата введения: | 01.01.1992 |
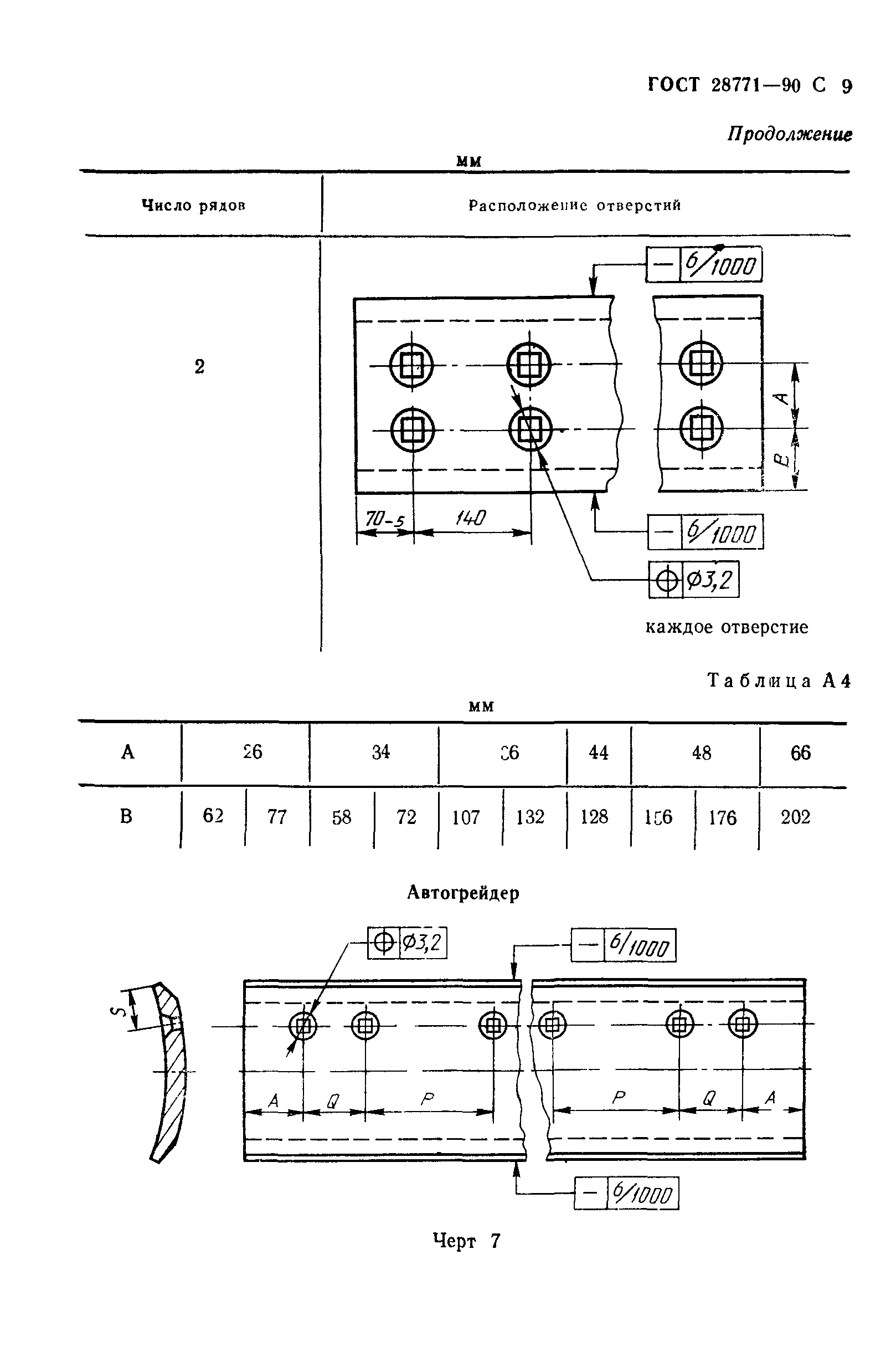
| Область применения: | Стандарт устанавливает основные формы и размеры поперечного сечения ножей, а также расположение, формы и размеры отверстий под болты крепления ножей, используемых для тракторов с бульдозерным оборудованием, автогрейдеров и самоходных скреперов по ГОСТ 28764 с учетом их взаимозаменяемости. |
| Оглавление: | 1 Назначение 2 Ссылочные нормативно-технические документы 3 Ножи. Поперечные сечения. Основные формы и размеры 4 Болты крепления. Расположение отверстий 5 Отверстия под болты крепления. Формы и размеры Приложения |
| Разработан: | Министерство тяжелого машиностроения СССР |
| Утверждён: | 06.12.1990 Госстандарт СССР (USSR Gosstandart 3056) |
| Издан: | Издательство стандартов (1991 г. ) |
| Нормативные ссылки: |














