Скачать ГОСТ 30049-93 Деревообрабатывающее оборудование. Станки круглопильные радиальные. Терминология и условия приемкиДата актуализации: 01.01.2021
|
| Обозначение: | ГОСТ 30049-93 |
| Обозначение англ: | GOST 30049-93 |
| Статус: | введен впервые |
| Название рус.: | Деревообрабатывающее оборудование. Станки круглопильные радиальные. Терминология и условия приемки |
| Название англ.: | Woodworking machines. Radial circular saws. Terminology and acceptance conditions |
| Дата добавления в базу: | 01.09.2013 |
| Дата актуализации: | 01.01.2021 |
| Дата введения: | 01.07.1996 |
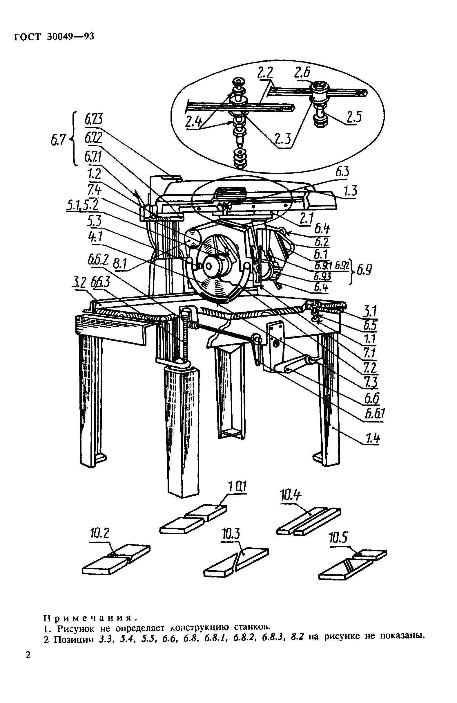
| Область применения: | Стандарт распространяется на круглопильные радиальные станки и устанавливает термины на основные детали и узлы станков, а также условия испытаний станков (проверки геометрических параметров) и допустимые отклонения. Стандарт пригоден для целей сертификации. |
| Оглавление: | 1 Область применения 2 Основные узлы и детали 3 Терминология 4 Условия испытаний |
| Разработан: | ТК 70 Станки |
| Утверждён: | 21.10.1993 Межгосударственный Совет по стандартизации, метрологии и сертификации (Inter-Governmental Council on Standardization, Metrology, and Certification 4-93) 12.05.1995 Комитет Российской Федерации по стандартизации, метрологии и сертификации (243) |
| Издан: | Издательство стандартов (1995 г. ) |













