Скачать ГОСТ 16569-86 Устройства газогорелочные для отопительных бытовых печей. Технические условия

Дата актуализации: 01.01.2021

ГОСТ 16569-86

Устройства газогорелочные для отопительных бытовых печей. Технические условия

Обозначение: ГОСТ 16569-86
Обозначение англ: GOST 16569-86
Статус:действует
Название рус.:Устройства газогорелочные для отопительных бытовых печей. Технические условия
Название англ.:Burners for domestic gas heaters. Specifications
Дата добавления в базу:01.09.2013
Дата актуализации:01.01.2021
Дата введения:01.07.1987
Область применения:Стандарт распространяется на газогорелочные инжекционные устройства для отопительных бытовых печей, работающих на природном газе по ГОСТ 5542-87.
Оглавление:1 Типы, основные параметры и размеры
2 Технические требования
3 Требования безопасности
4 Комплектность
5 Правила приемки
6 Методы испытаний
7 Маркировка, упаковка, транспортирование и хранение
8 Указания по эксплуатации
9 Гарантии изготовителя
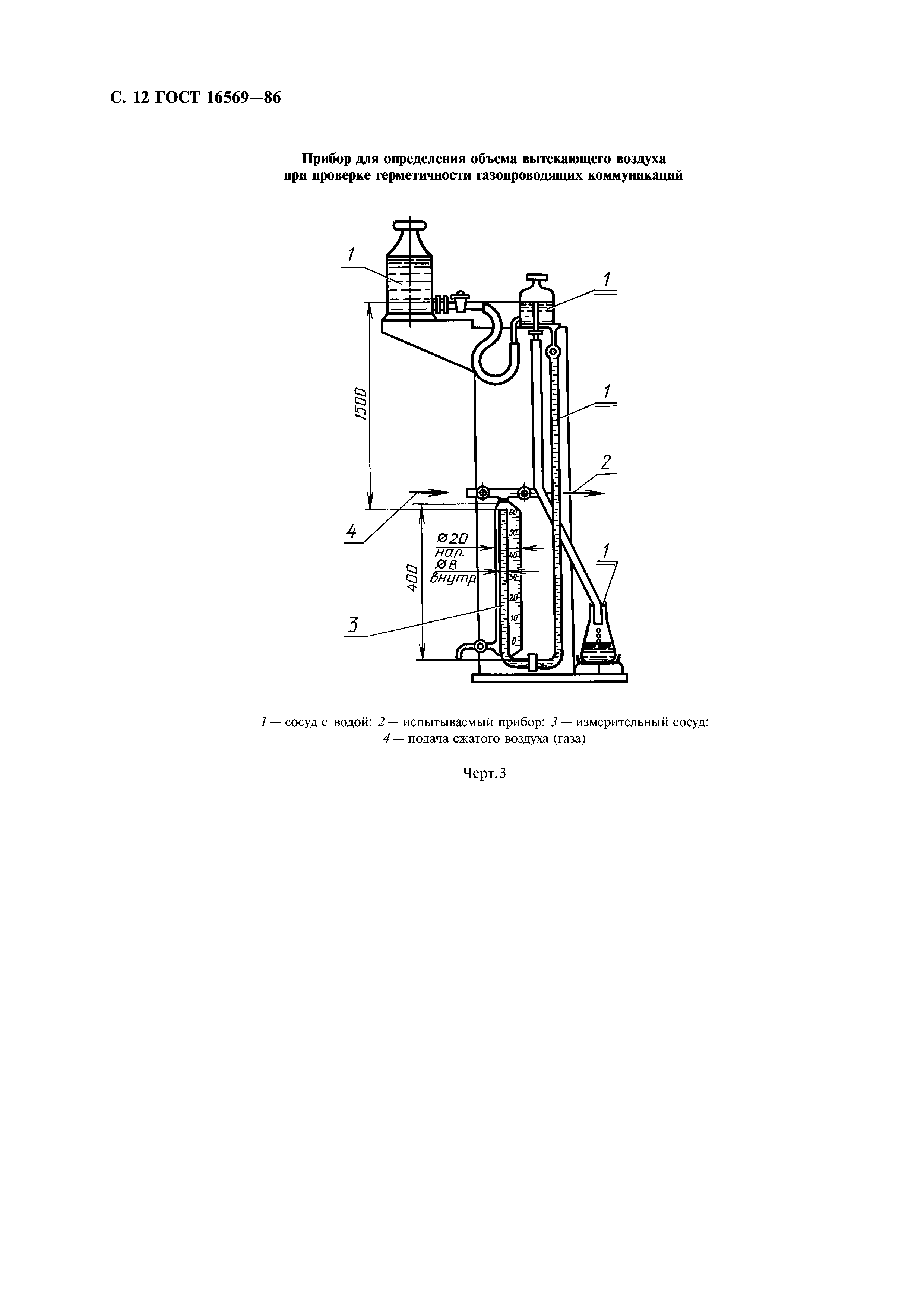
Приложение (справочное) Прспособление для отбора проб продуктов сгорания (круглое сечение)
Разработан: Министерство жилищно-коммунального хозяйства РСФСР
Утверждён:26.06.1986 Госстандарт СССР (USSR Gosstandart 1827)
Издан: Издательство стандартов (1986 г. )
Стандартинформ (2006 г. )
Заменяет собой:
  • ГОСТ 21308-75 «Автоматика безопасности газогорелочных устройств отопительных газовых бытовых печей»
  • ГОСТ 16569-79 «Устройства горелочные для отопительных газовых бытовых печей. Технические условия»
Нормативные ссылки:
ГОСТ 16569-86ГОСТ 16569-86ГОСТ 16569-86ГОСТ 16569-86ГОСТ 16569-86ГОСТ 16569-86ГОСТ 16569-86ГОСТ 16569-86ГОСТ 16569-86ГОСТ 16569-86ГОСТ 16569-86ГОСТ 16569-86ГОСТ 16569-86ГОСТ 16569-86