Скачать ГОСТ 28324-89 Сети распределительные приемных систем телевидения и радиовещания. Классификация приемных систем, основные параметры и технические требованияДата актуализации: 01.01.2021
|
| Обозначение: | ГОСТ 28324-89 |
| Обозначение англ: | GOST 28324-89 |
| Статус: | отменен в рф |
| Название рус.: | Сети распределительные приемных систем телевидения и радиовещания. Классификация приемных систем, основные параметры и технические требования |
| Название англ.: | Distribution networks of receiving TV and radio systems. Classification of receiving systems, basic parameters and technical requirements |
| Дата добавления в базу: | 01.10.2014 |
| Дата актуализации: | 01.01.2021 |
| Дата введения: | 01.01.1991 |
| Дата окончания срока действия: | 01.07.2003 |
| Область применения: | Стандарт распространяется на распределительные сети приемных систем телевидения и радиовещания с частотным разделением каналов в диапазоне от 30 МГц до 1 ГГц (для передачи внутрисистемных сигналов допускается использование диапазона частот от 5 до 30 МГц), предназначенных для эксплуатации в помещениях, общественных зданиях, технических помещениях и на открытом воздухе. |
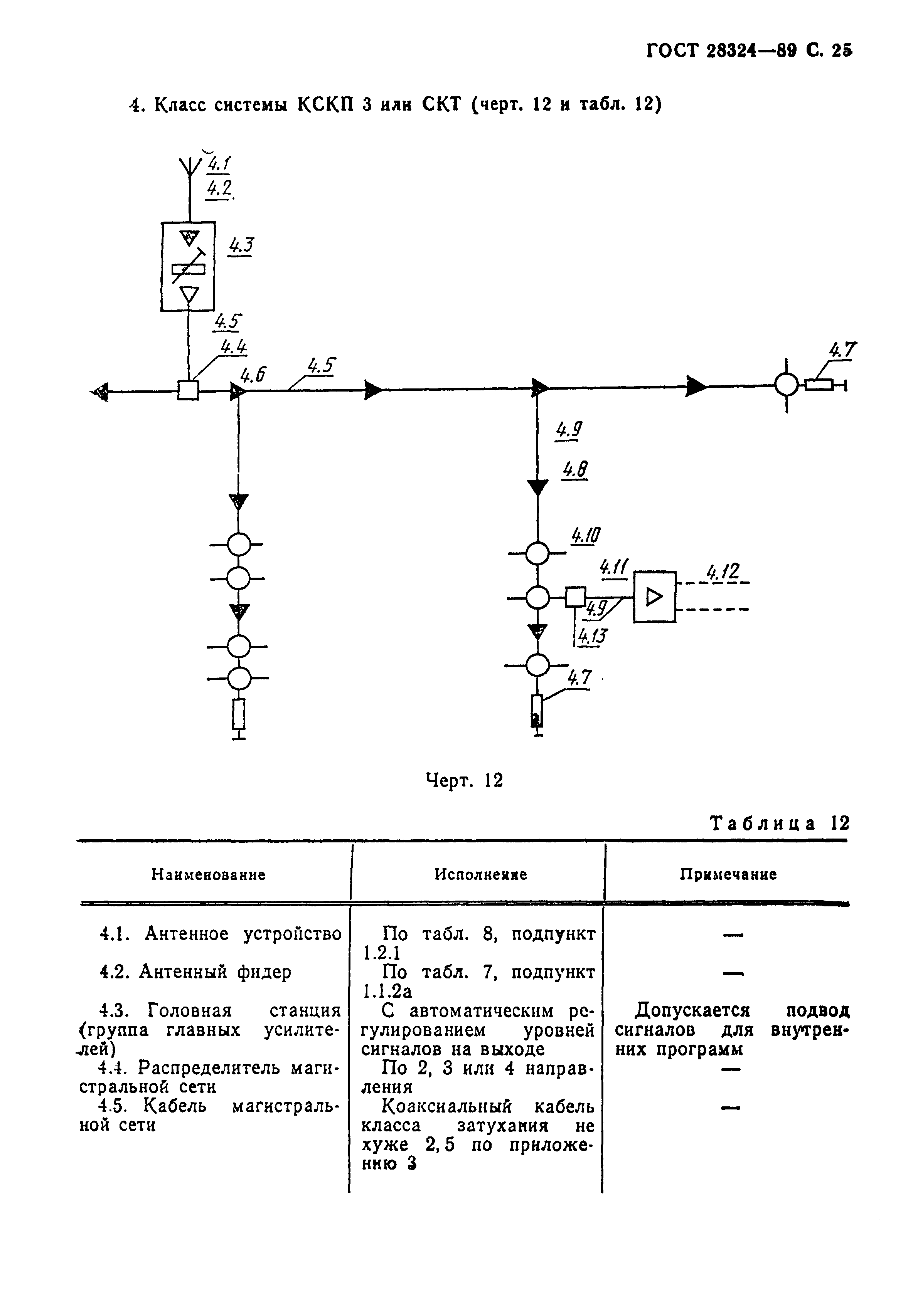
| Оглавление: | 1 Классификация приемных систем 2 Основные параметры 3 Технические требования Приложение 1 Термины, применяемые в настоящем стандарте, и пояснения к ним Приложение 2 Структуры приемных распределительных систем для телевидения и радиовещания Приложение 3 Коаксиальные кабели для приемных распределительных систем телевидения и радиовещания |
| Утверждён: | 30.10.1989 Госстандарт СССР (USSR Gosstandart 3278) |
| Издан: | Издательство стандартов (1990 г. ) |
| Нормативные ссылки: |





























