Скачать ГОСТ 28759.3-90 Фланцы сосудов и аппаратов стальные приварные встык. Конструкция и размерыДата актуализации: 01.01.2021
|
| Обозначение: | ГОСТ 28759.3-90 |
| Обозначение англ: | GOST 28759.3-90 |
| Статус: | действует |
| Название рус.: | Фланцы сосудов и аппаратов стальные приварные встык. Конструкция и размеры |
| Название англ.: | Steel butt welded flanges of vessels and apparatus. Design and dimensions |
| Дата добавления в базу: | 01.09.2013 |
| Дата актуализации: | 01.01.2021 |
| Дата введения: | 01.01.1992 |
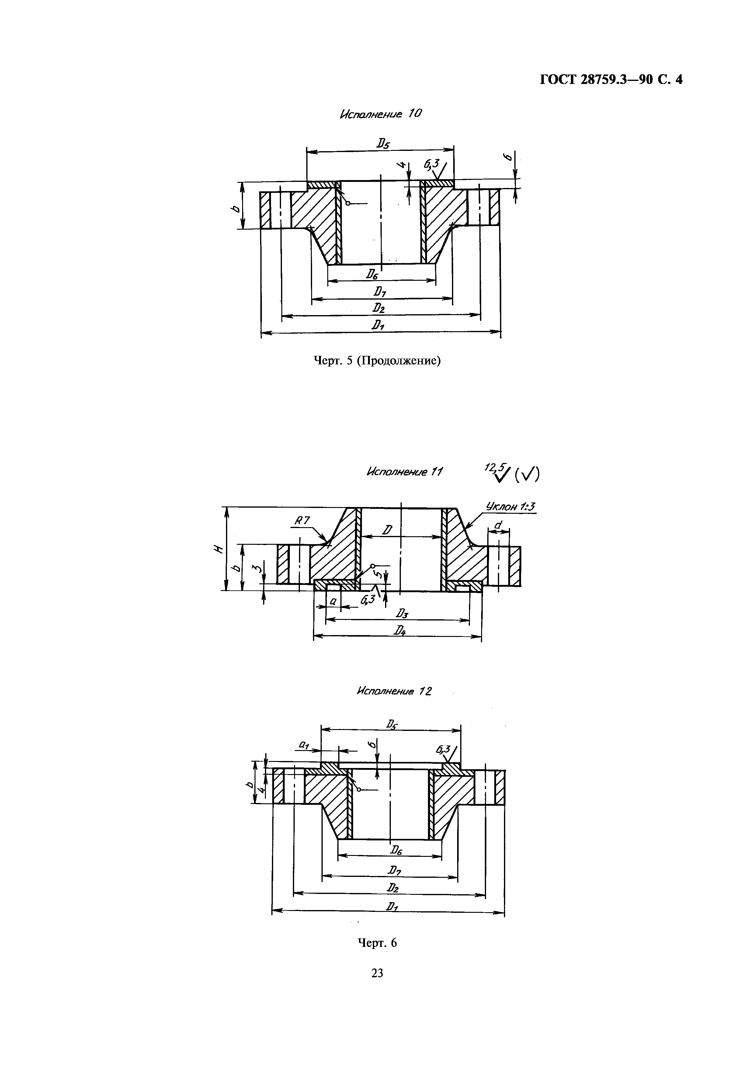
| Область применения: | Стандарт распространяется на стальные приварные встык фланцы для сосудов и аппаратов с внутренним диаметром от 400 до 4000 мм и наружным базовым размером (днища, трубы) от 426 до 720 мм с условным давлением от 0,6 до 6,3 МПа, при температуре рабочей среды от минус 70 град. С до плюс 540 град. С, предназначенные для работы в химической, нефтехимической, нефтеперерабатывающей и других отраслях промышленности. |
| Оглавление: | 1 Конструкция и размеры Приложение Масса фланцев |
| Разработан: | Министерство тяжелого машиностроения СССР |
| Утверждён: | 29.11.1990 Госстандарт СССР (USSR Gosstandart 2976) |
| Издан: | Издательство стандартов (1991 г. ) Стандартинформ (2005 г. ) |
| Заменяет собой: |
|
| Нормативные ссылки: |
|











