Скачать ГОСТ 28759.4-90 Фланцы сосудов и аппаратов стальные приварные встык под прокладку восьмиугольного сечения. Конструкция и размеры

Дата актуализации: 01.01.2021

ГОСТ 28759.4-90

Фланцы сосудов и аппаратов стальные приварные встык под прокладку восьмиугольного сечения. Конструкция и размеры

Обозначение: ГОСТ 28759.4-90
Обозначение англ: GOST 28759.4-90
Статус:действует
Название рус.:Фланцы сосудов и аппаратов стальные приварные встык под прокладку восьмиугольного сечения. Конструкция и размеры
Название англ.:Steel butt welded flanges of vessels and apparatus for gaskets of octangular sections. Design and dimensions
Дата добавления в базу:01.09.2013
Дата актуализации:01.01.2021
Дата введения:01.01.1992
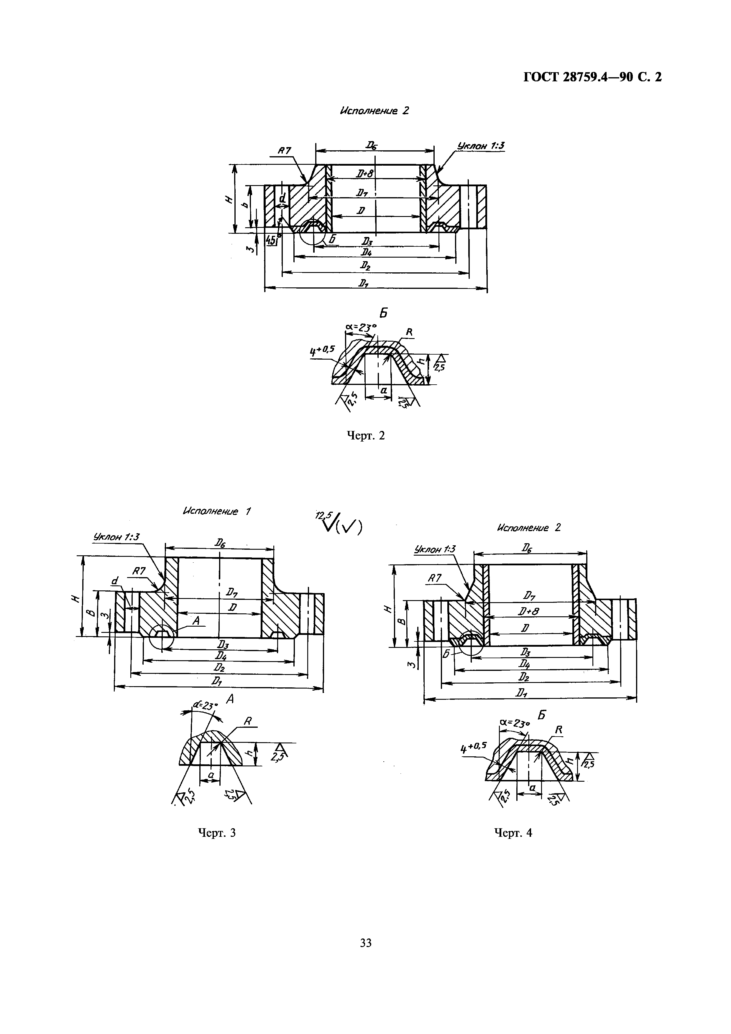
Область применения:Стандарт распространяется на стальные приварные встык фланцы сосудов и аппаратов диаметром от 400 до 1600 мм с условным давлением от 6,3 до 16,0 МПа при температуре рабочей среды от минус 70 град. С до плюс 540 град. С, предназначенные для работы в химической, нефтехимической, нефтеперерабатывающей и других отраслях промышленности.
Оглавление:1 Конструкция и размеры
Приложение Таблица массы фланцев
Разработан: Министерство тяжелого машиностроения СССР
Утверждён:29.11.1990 Госстандарт СССР (USSR Gosstandart 2976)
Издан: Издательство стандартов (1991 г. )
Заменяет собой:
  • ОСТ 26-428-79 «Фланцы сосудов и аппаратов стальные приварные встык под прокладку восьмиугольного сечения. Конструкция и размеры»
Нормативные ссылки:
ГОСТ 28759.4-90ГОСТ 28759.4-90ГОСТ 28759.4-90ГОСТ 28759.4-90ГОСТ 28759.4-90