Скачать ОСТ 102-59-81 Детали магистральных трубопроводов стальные приварные на Ру до 10,0 МПа (100 кгс/см2). Тройники штампосварные. РазмерыДата актуализации: 01.01.2021
|
| Обозначение: | ОСТ 102-59-81 |
| Обозначение англ: | OST 102-59-81 |
| Статус: | не действует |
| Название рус.: | Детали магистральных трубопроводов стальные приварные на Ру до 10,0 МПа (100 кгс/см2). Тройники штампосварные. Размеры |
| Название англ.: | Trunk Pipeline Components, Seamless, Welded-on, for Use at Nominal Pressures (Py) up to 10 MPa (100 kgf per sq. cm) - T-Joints, Stamped-Welded - Dimensions |
| Дата добавления в базу: | 01.09.2013 |
| Дата актуализации: | 01.01.2021 |
| Дата введения: | 01.07.1981 |
| Дата окончания срока действия: | 01.07.1986 |
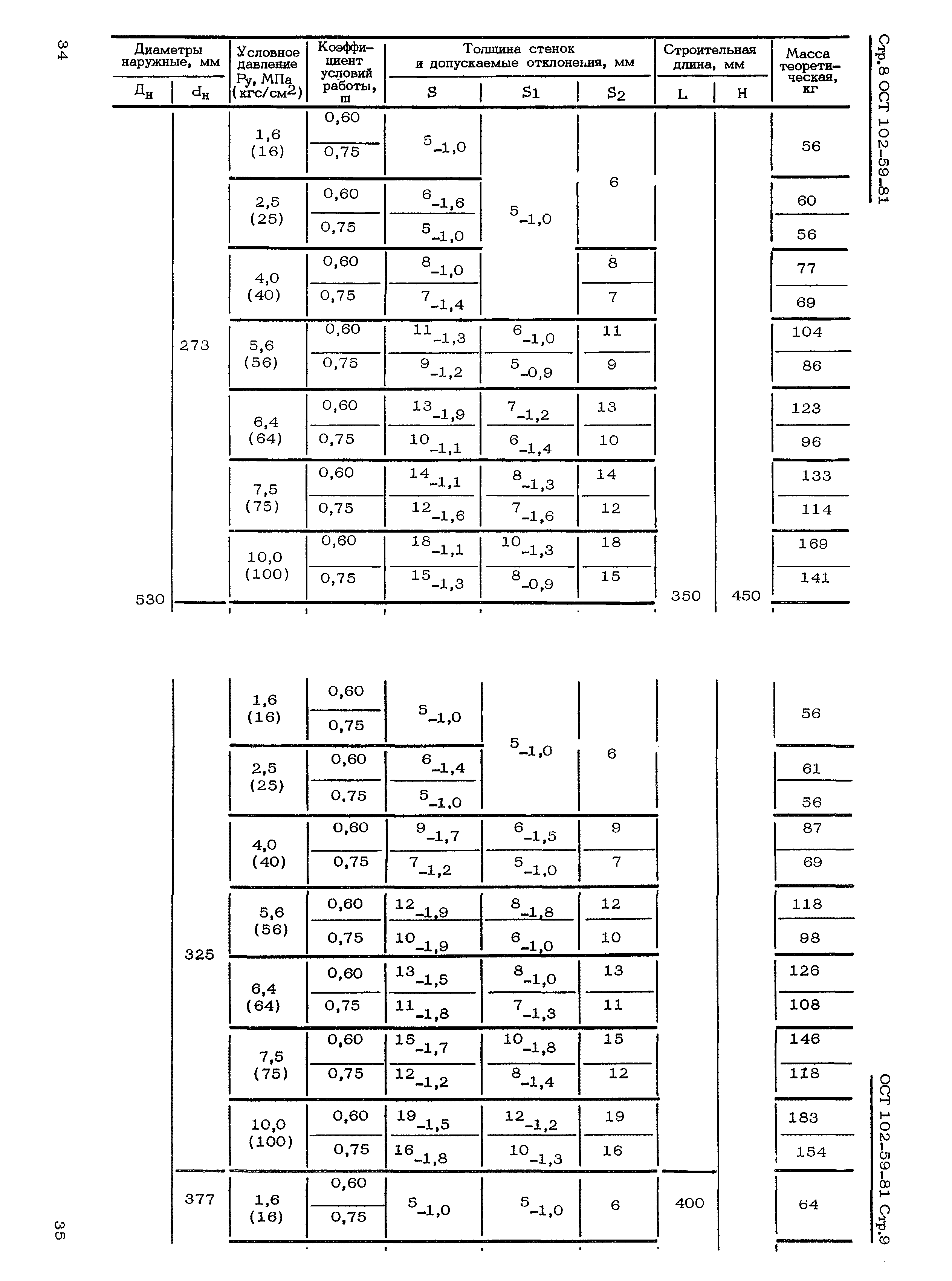
| Область применения: | Стандарт распространяется на равнопроходные и переходные штампосварные тройники. |
| Разработан: | СПКБ Проектнефтегазспецмонтаж Миннефтегазстроя ВНИИСТ |
| Утверждён: | 22.01.1981 Министерство строительства предприятий нефтяной и газовой промышленности (Ministry of Construction Facilities in the Oil and Gas Industry 16) |
| Принят: | Техническое управление Миннефтепрома Техническое управление Мингазпрома Главное техническое управление Миннефтегазстроя Госинспекция по качеству строительства Миннефтегазстроя Главнефтегазпромстройматериалы Миннефтегазстроя Госгазнадзор Мингазпрома |
| Издан: | СПКБ Проектнефтегазспецмонтаж (1981 г. ) |
| Заменяет собой: |
|
| Нормативные ссылки: |
































