Скачать МИ 2478-98 Государственная система обеспечения единства измерений. Аппаратура виброконтроля. Методика поверкиДата актуализации: 01.01.2021
|
| Обозначение: | МИ 2478-98 |
| Обозначение англ: | MI 2478-98 |
| Статус: | действует |
| Название рус.: | Государственная система обеспечения единства измерений. Аппаратура виброконтроля. Методика поверки |
| Название англ.: | National Measurement Standards - Vibration Measuring Apparatus - Method for Verification |
| Дата добавления в базу: | 01.09.2013 |
| Дата актуализации: | 01.01.2021 |
| Дата введения: | 01.01.1998 |
| Область применения: | Рекомендация распространяется на аппаратуру виброконтроля и вибропреобразователи, входящие в аппаратуру, и устанавливает методику их первичной и периодической поверок. |
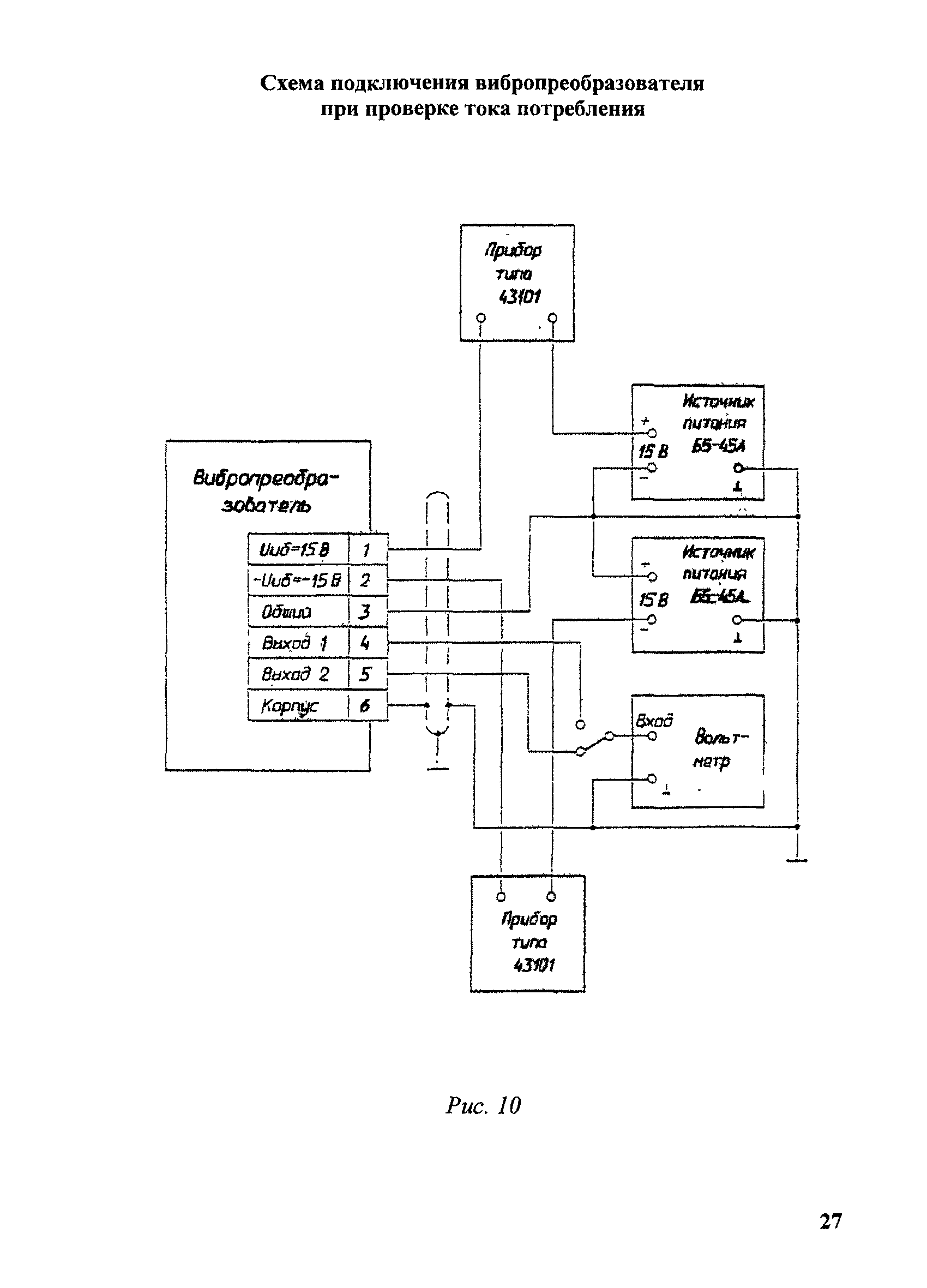
| Оглавление: | 1 Операции поверки 2 Средства поверки 3 Требования к квалификации поверителей 4 Требования безопасности 5 Условия поверки и подготовка к ней 6 Проведение поверки 6.1 Внешний осмотр 6.2 Опробование 6.3 Определение сопротивления изоляции 6.4 Определение метрологических характеристик 7 Оформление результатов поверки Приложение 1 Требования к конструкции переходника для крепления к поверочной виброустановке Приложение 2 Требования к электронному вольтметру, применяемому для поверки вибропреобразователей Приложение 3 Форма записи на оборотной стороне свидетельства о поверке виброизмерительного преобразователя |
| Разработан: | ВНИИМС Госстандарта России |
| Утверждён: | 01.01.1998 ВНИИМС Госстандарта России (VNIIMS, Gosstandart of Russia ) |
| Издан: | ВНИИМС (1998 г. ) |
| Нормативные ссылки: |
|










































