Скачать РД 34.47.607-76 Руководство по ремонту отделителей ОД-11ОМ и ОД3-11ОМ, короткозамыкателя КЗ-11ОМ и приводов ШПОМ и ШПКМДата актуализации: 01.01.2021
|
| Обозначение: | РД 34.47.607-76 |
| Обозначение англ: | RD 34.47.607-76 |
| Статус: | действует |
| Название рус.: | Руководство по ремонту отделителей ОД-11ОМ и ОД3-11ОМ, короткозамыкателя КЗ-11ОМ и приводов ШПОМ и ШПКМ |
| Название англ.: | Guide to Repair of Disconnect Switches OD-11OM and ODZ-11OM, Short-Circuiter KZ-11OM and Drives ShPOM and ShPKM |
| Дата добавления в базу: | 01.09.2013 |
| Дата актуализации: | 01.01.2021 |
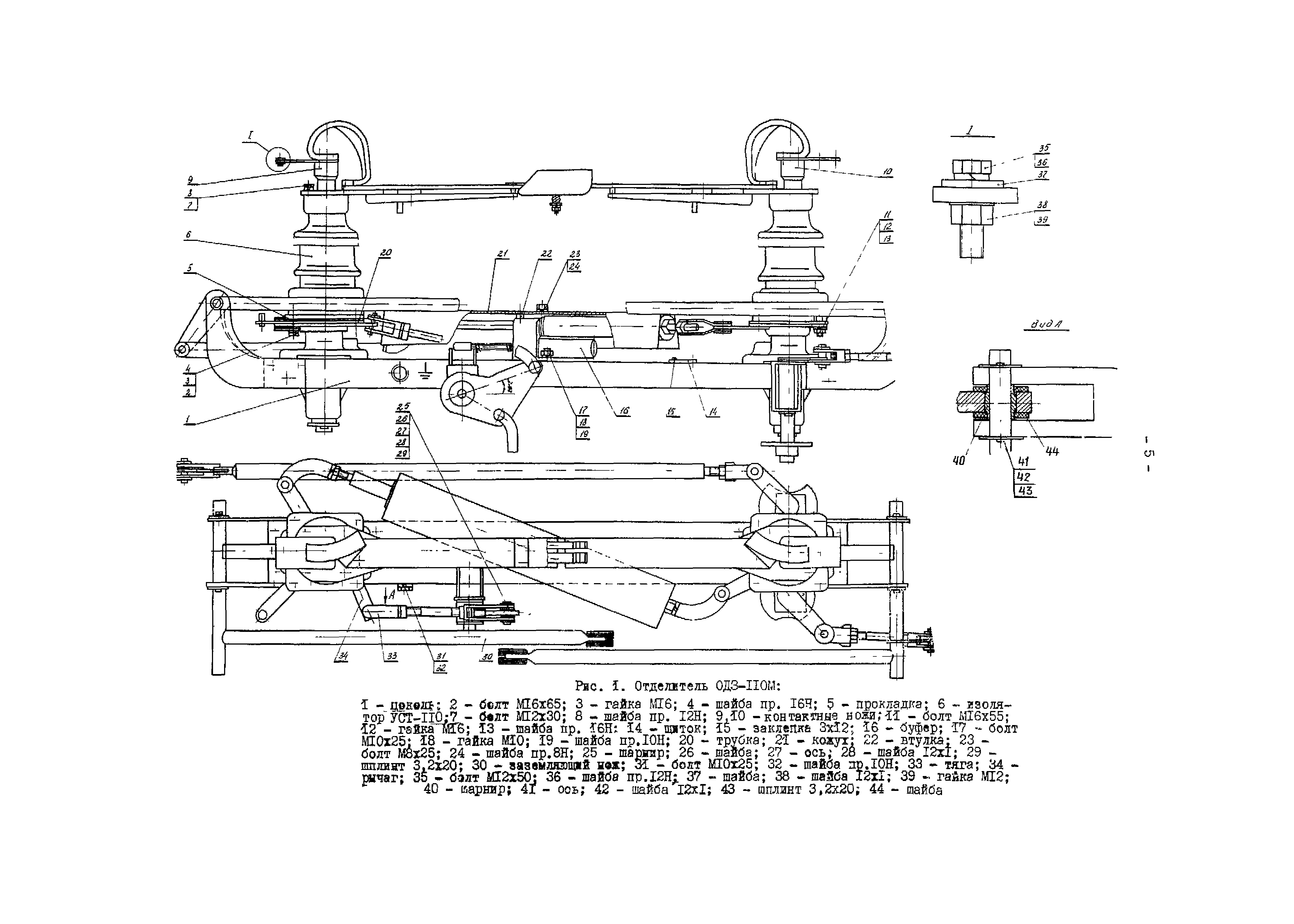
| Оглавление: | 1. Общие положения 2. Подготовка к капитальному ремонту 3. Технология ремонта отделителей ОД-IIОМ и ОДЗ-IIОМ 4. Технология ремонта короткозамыкателя КЗ-IIОМ 5. Технология ремонта приводов ШПОМ и ШПКМ 6. Окраска отделителей ОД-IIОМ и ОДЗ-IIОМ, короткозамыкателя КЗ-IIОМ и шкафов приводов ШПОМ и ШПКМ 7. Проверка и испытание вторичных цепей и устройств РЗА Приложение 1. Технологический график ремонта отделителей ОД-IIОМ и ОДЗ-IIОМ, короткозамыкателя КЗ-IIОМ и приводов ШПОМ и ШПКМ Приложение 2. Формы технических актов ремонта отделителя, короткозамыкателя, привода Приложение 3. Основные сведения и технические данные отделителей ОД-IIОМ и ОДЗ-IIОМ, короткозамыкателя КЗ-IIОМ и приводов ШПОМ т ШПКМ Приложение 4. Перечни запасных частей, приборов, приспособлений, инструмента, материалов, необходимых для ремонта отделителей ОД-IIОМ и ОДЗ-IIОМ, короткозамыкателя КЗ-IIОМ и приводов ШПОМ т ШПКМ Приложение 5. Чертежи оснастки, рекомендуемой для использования при ремонте отделителей ОД-IIОМ и ОДЗ-IIОМ, короткозамыкателя КЗ-IIОМ и приводов ШПОМ т ШПКМ Приложение 6. Методика проведения механических испытаний опорно-стержневых изоляторов на изгиб Приложение 7. Рекомендации по выявлению дефектов и ремонту фарфоровой изоляции Приложение 8. Показатели для отбраковки деталей общего применения Приложение 9. Рекомендации при тарировке и выявлению дефектных цилиндрических пружин |
| Разработан: | ЦКБ Энергоремонт |
| Утверждён: | 31.07.1974 Главэнергоремонт (Glavenergoremont ) |
| Издан: | СПО ОРГРЭС (1976 г. ) |



















































