Скачать РД 34.47.609-77 Руководство по капитальному ремонту масляного выключателя С-35М-630-10Дата актуализации: 01.01.2021
|
| Обозначение: | РД 34.47.609-77 |
| Обозначение англ: | RD 34.47.609-77 |
| Статус: | действует |
| Название рус.: | Руководство по капитальному ремонту масляного выключателя С-35М-630-10 |
| Название англ.: | Guide to Overhaul of Oil Switch S-35M-630-10 |
| Дата добавления в базу: | 01.09.2013 |
| Дата актуализации: | 01.01.2021 |
| Дата введения: | 15.03.1977 |
| Область применения: | В руководстве приведены технические требования к объему и качеству ремонтных работ и порядок их выполнения; методы контроля при ремонте узлов и деталей оборудования и правила приемки оборудования в ремонт и из ремонта; критерии оценки качества выполнения ремонтных работ. |
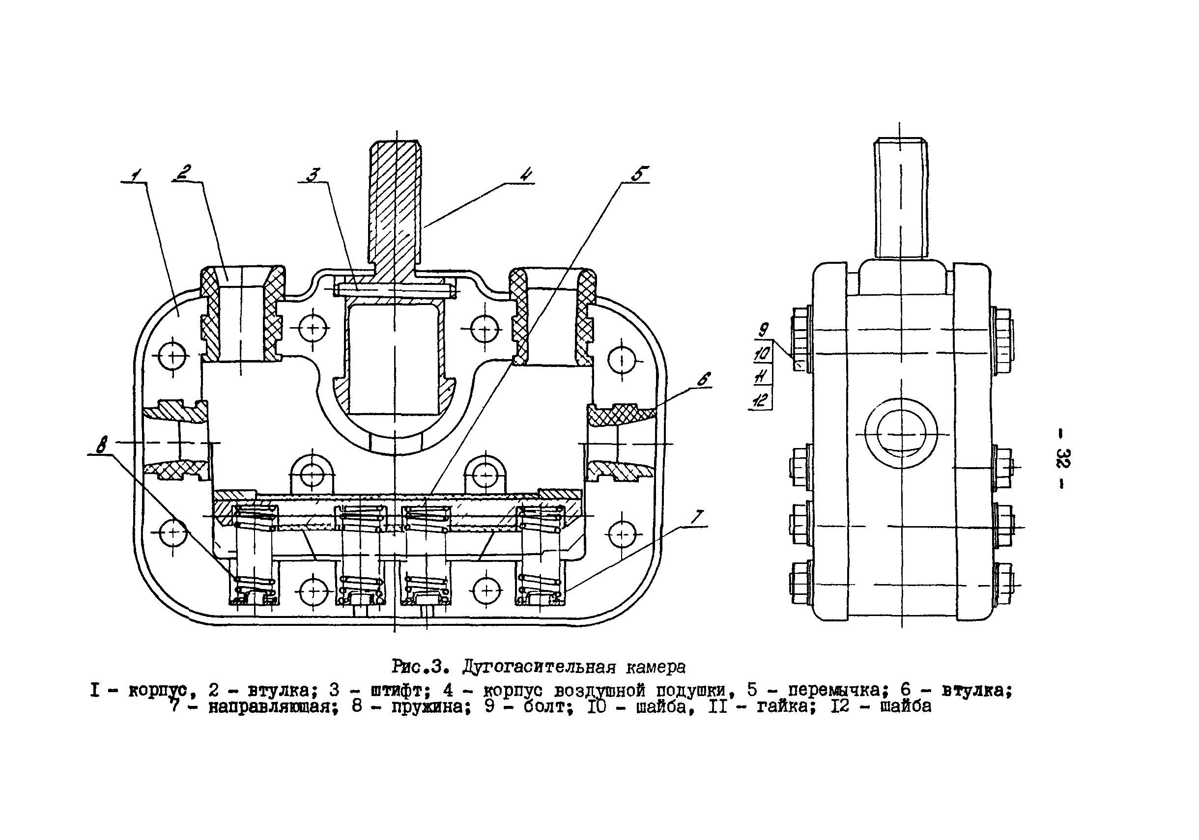
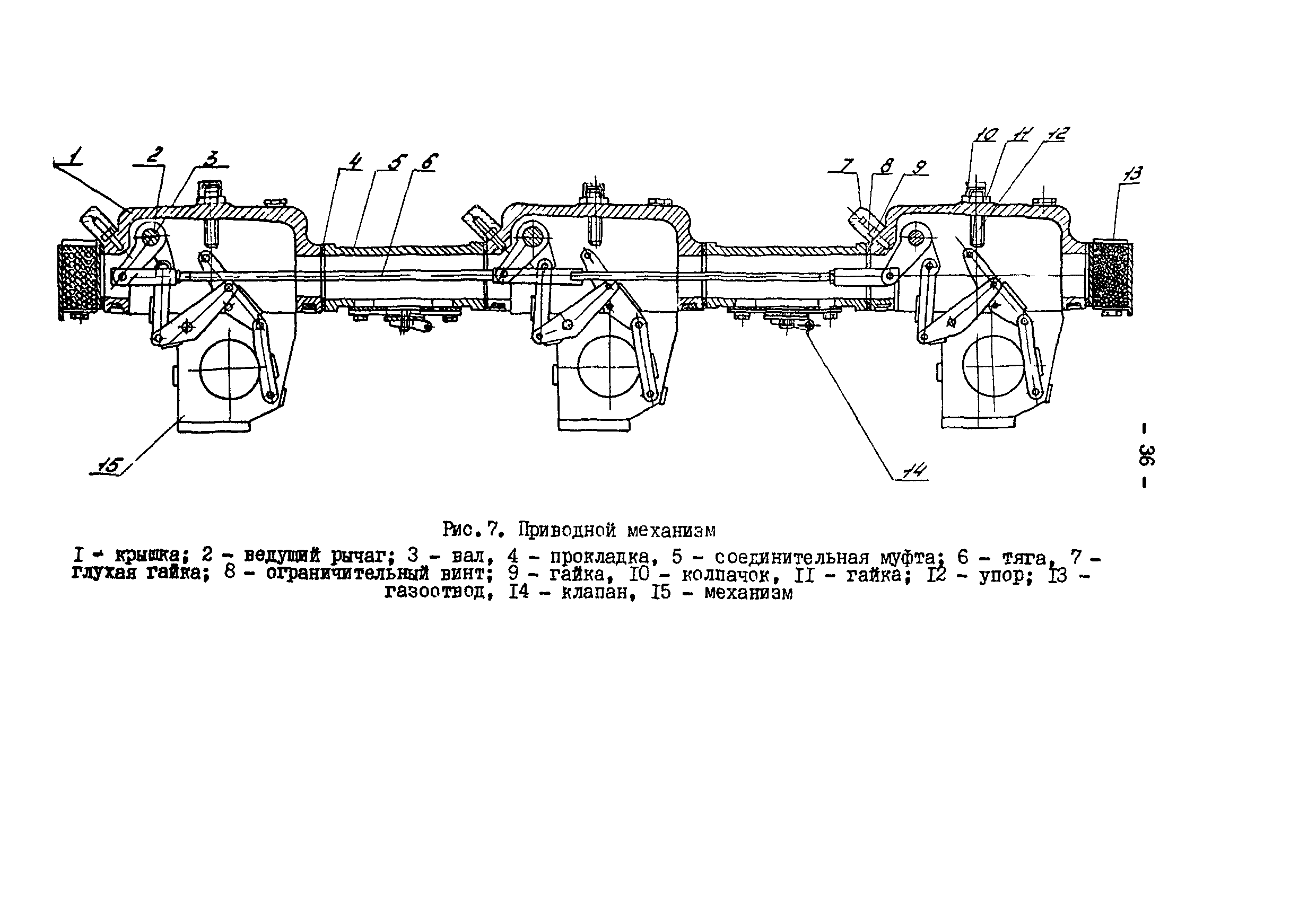
| Оглавление: | Введение 1 Организация ремонта 2 Разборка выключателя 3 Подготовка к дефектации и ремонту 4 Технические требования на дефектацию и ремонт деталей общего применения 5 Технические требования на дефектацию и ремонт узлов и деталей выключателя 6 Сборка выключателя 7 Регулирование выключателя 8 Окончательная сборка и испытание выключателя Приложение 1 Перечень применяемых инструментов Приложение 2 Перечень применяемых приборов Приложение 3 Перечень материалов, необходимых для капитального ремонта выключателя Приложение 4 Перечень запасных частей, необходимых для капитального ремонта выключателя Приложение 5 Технический акт на капитальный ремонт выключателя |
| Разработан: | ЦКБ Энергоремонт |
| Утверждён: | 15.03.1977 Главэнергоремонт (Glavenergoremont ) |
| Принят: | 21.02.1977 ПО Уралэлектротяжмаш |
| Издан: | СПО Союзтехэнерго (1978 г. ) |




































