Скачать РД 34.47.611-75 Руководство по капитальному ремонту воздушных выключателей ВВН-220-15 и ВВН-330-15Дата актуализации: 01.01.2021
|
| Обозначение: | РД 34.47.611-75 |
| Обозначение англ: | RD 34.47.611-75 |
| Статус: | действует |
| Название рус.: | Руководство по капитальному ремонту воздушных выключателей ВВН-220-15 и ВВН-330-15 |
| Название англ.: | Guide to Overhaul of Air-Pressure Switches VVN-220-15 and VVN-330-15 |
| Дата добавления в базу: | 01.09.2013 |
| Дата актуализации: | 01.01.2021 |
| Область применения: | Руководство предназначено для персонала электрических станций и предприятий электрических сетей. |
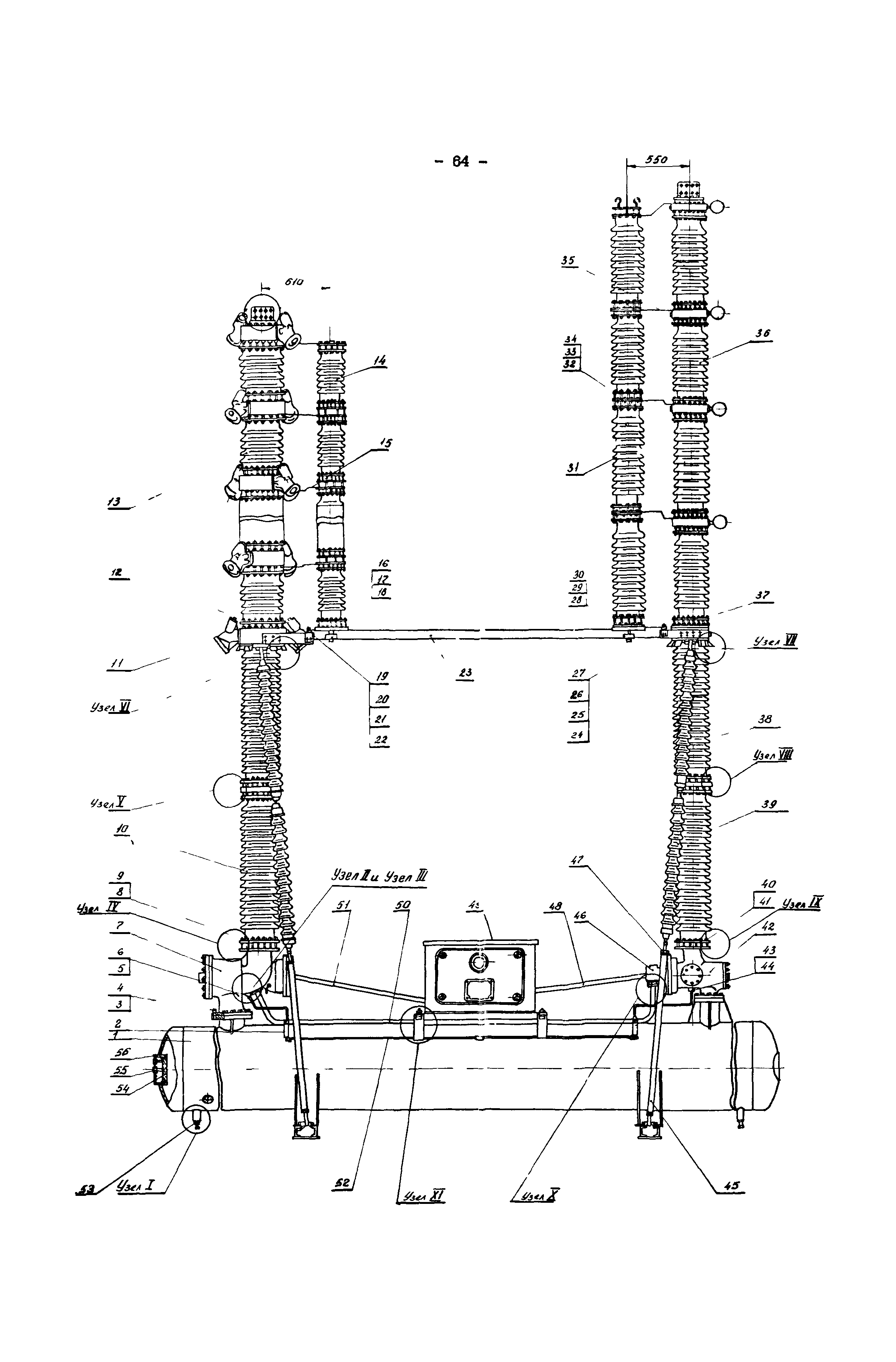
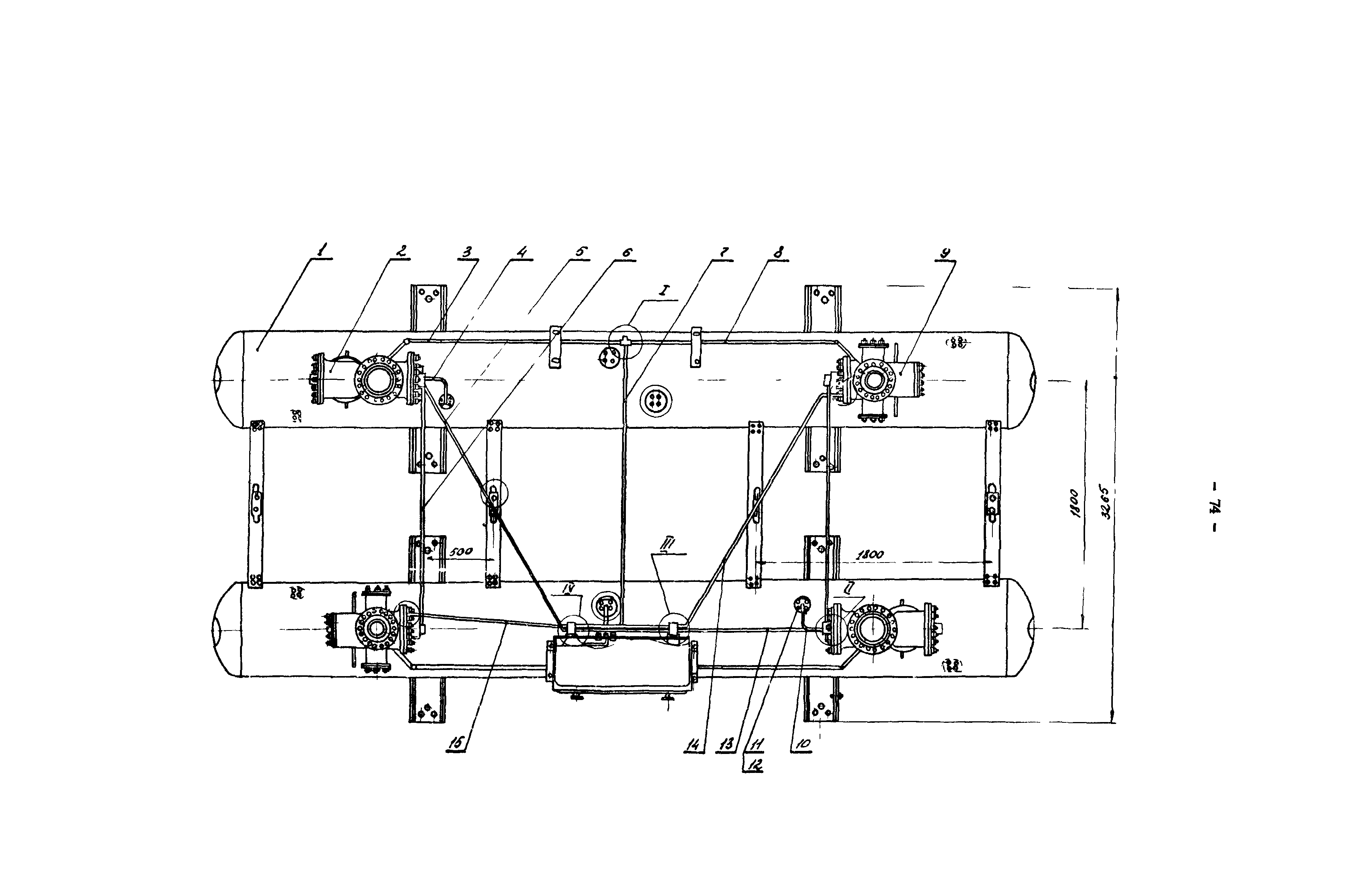
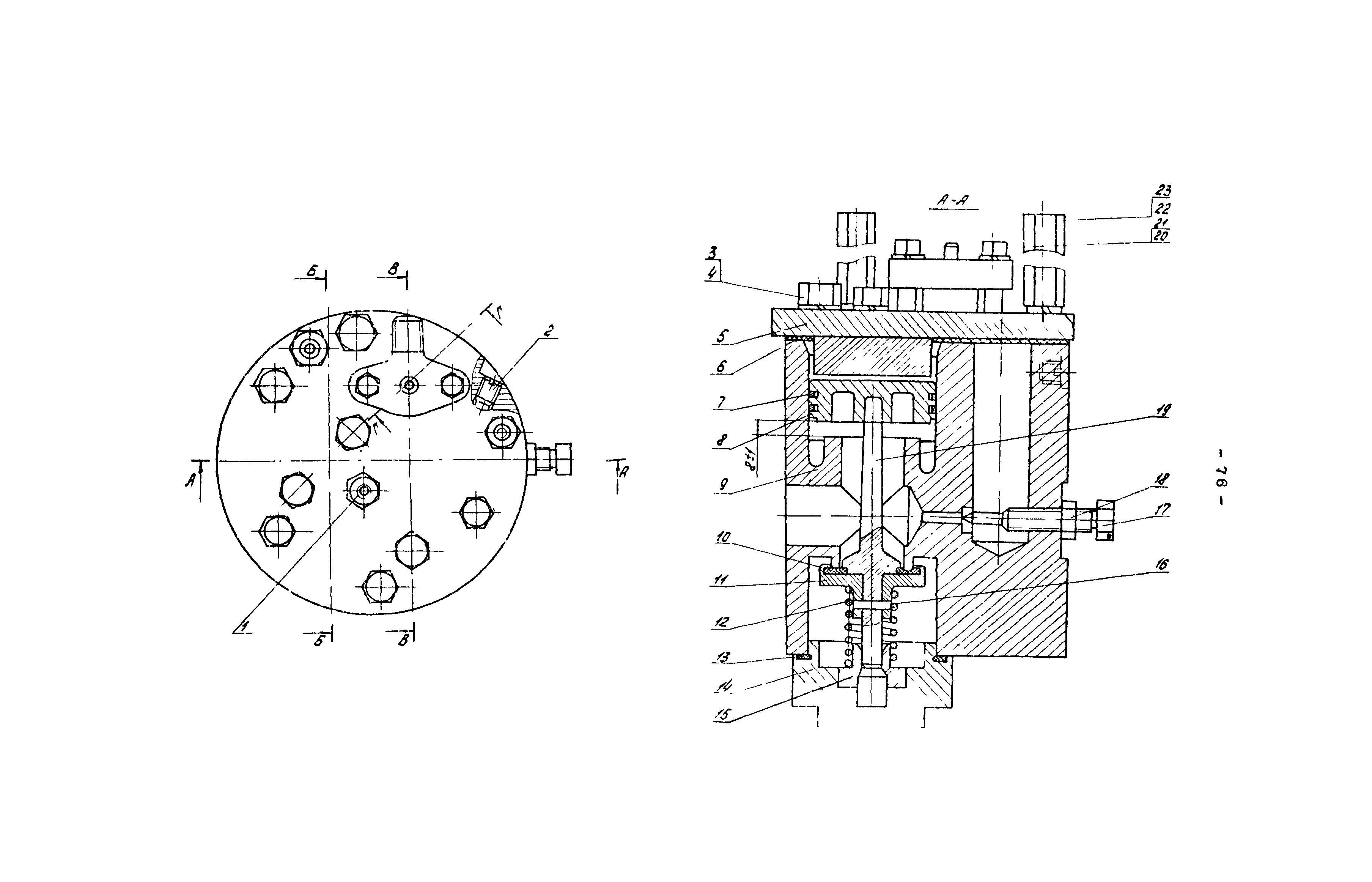
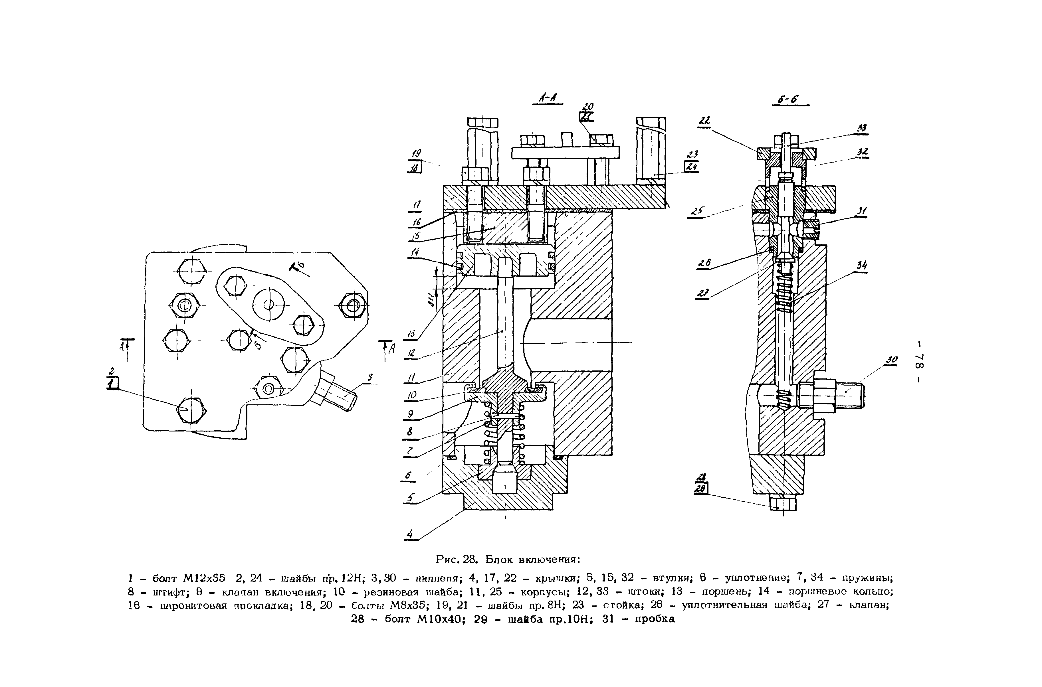
| Оглавление: | 1 Общие положения 2 Подготовка к капитальному ремонту 3 Проведение капитального ремонта 4 Технология капитального ремонта выключателя Приложение 1 Форма акта ремонта воздушных выключателей ВВН-220-15 и ВВН-330-15 Приложение 2 Перечни приборов, инструмента, материалов, запасных частей, необходимых для ремонта выключателей ВВН-220-15 и ВВН-330-15 Приложение 3 Перечень приспособлений и специального инструмента, необходимых для ремонта выключателей ВВН-220-15 и ВВН-330-15 Приложение 4 Масса основных узлов выключателей ВВН-220-15 и ВВН-330-15 и данные механизмов Приложение 5 Рекомендации по выявлению дефектов, ремонту и гидравлическим испытаниям фарфоровой изоляции Приложение 6 Рекомендации по дефектации деталей общего применения и их ремонту Приложение 7 Рекомендации по приклеиванию резиновых уплотнений к деталям выключателя Приложение 8 Рекомендации по регулировке, наладке и снятию характеристик выключателя Приложение 9 Пульт для наладки воздушных выключателей с воздухонаполненным отделителем |
| Разработан: | ЦКБ Энергоремонт |
| Утверждён: | 06.02.1975 Главэнергоремонт (Glavenergoremont ) |
| Принят: | 25.12.1974 НПО Электроаппарат |
| Издан: | СПО ОРГРЭС (1977 г. ) |
| Нормативные ссылки: |
|








































































































