Скачать РД 34.45.611 Руководство по капитальному ремонту турбогенератора ТВВ-320-2Дата актуализации: 01.01.2021
|
| Обозначение: | РД 34.45.611 |
| Обозначение англ: | RD 34.45.611 |
| Статус: | не действует |
| Название рус.: | Руководство по капитальному ремонту турбогенератора ТВВ-320-2 |
| Название англ.: | Guide to Overhaul of Turbine Generator TVV-320-2 |
| Дата добавления в базу: | 01.01.2018 |
| Дата актуализации: | 01.01.2021 |
| Дата окончания срока действия: | 17.12.2009 |
| Область применения: | Руководство охватывает типовой объем работ по капитальному ремонту турбогенератора, возбудителя, отдельные виды дополнительных операций, также рассмотрены ремонтные работы, выполняемые сверх типового объема, которые как правило, проводятся во время типового ремонта для повышения надежности турбогенератора. |
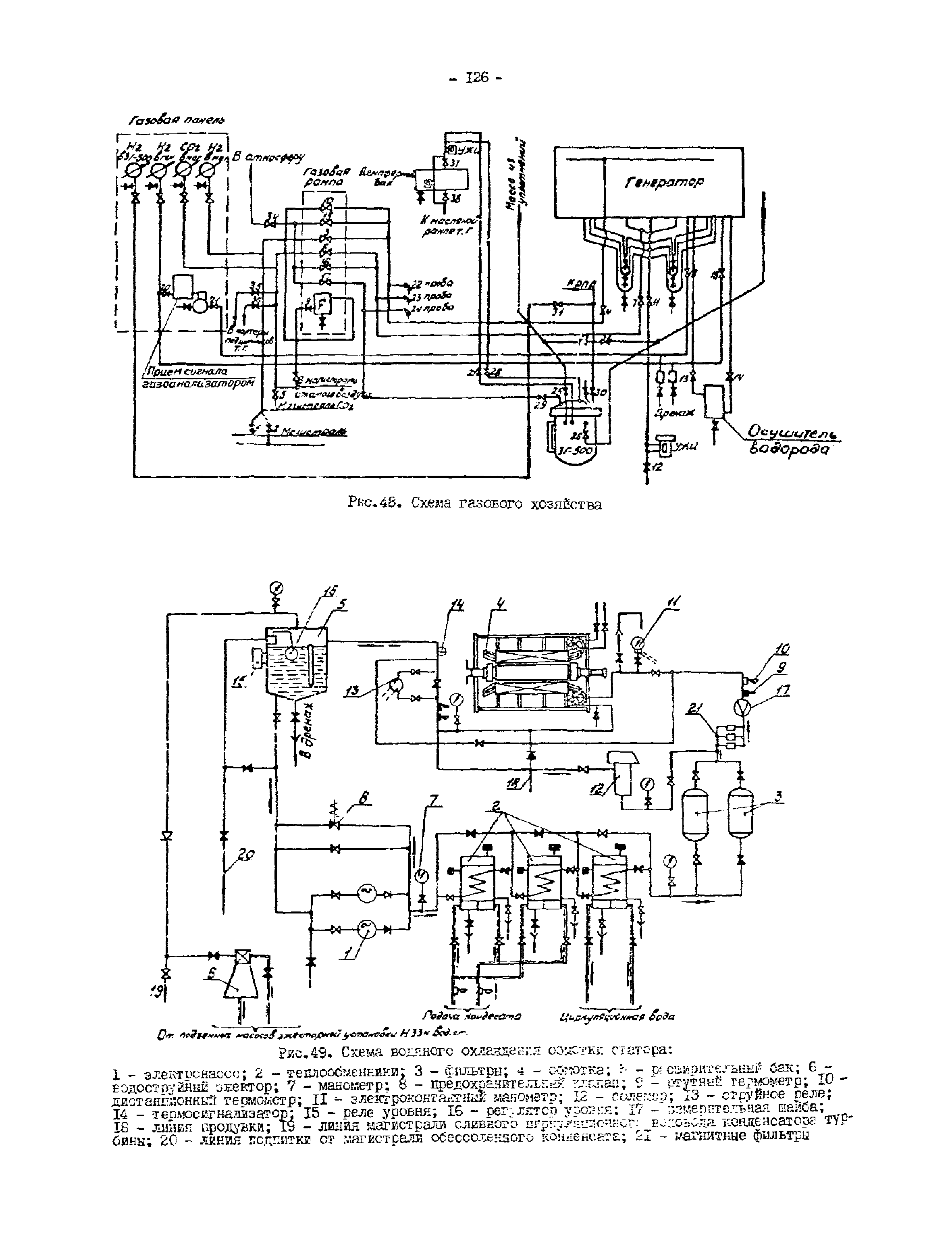
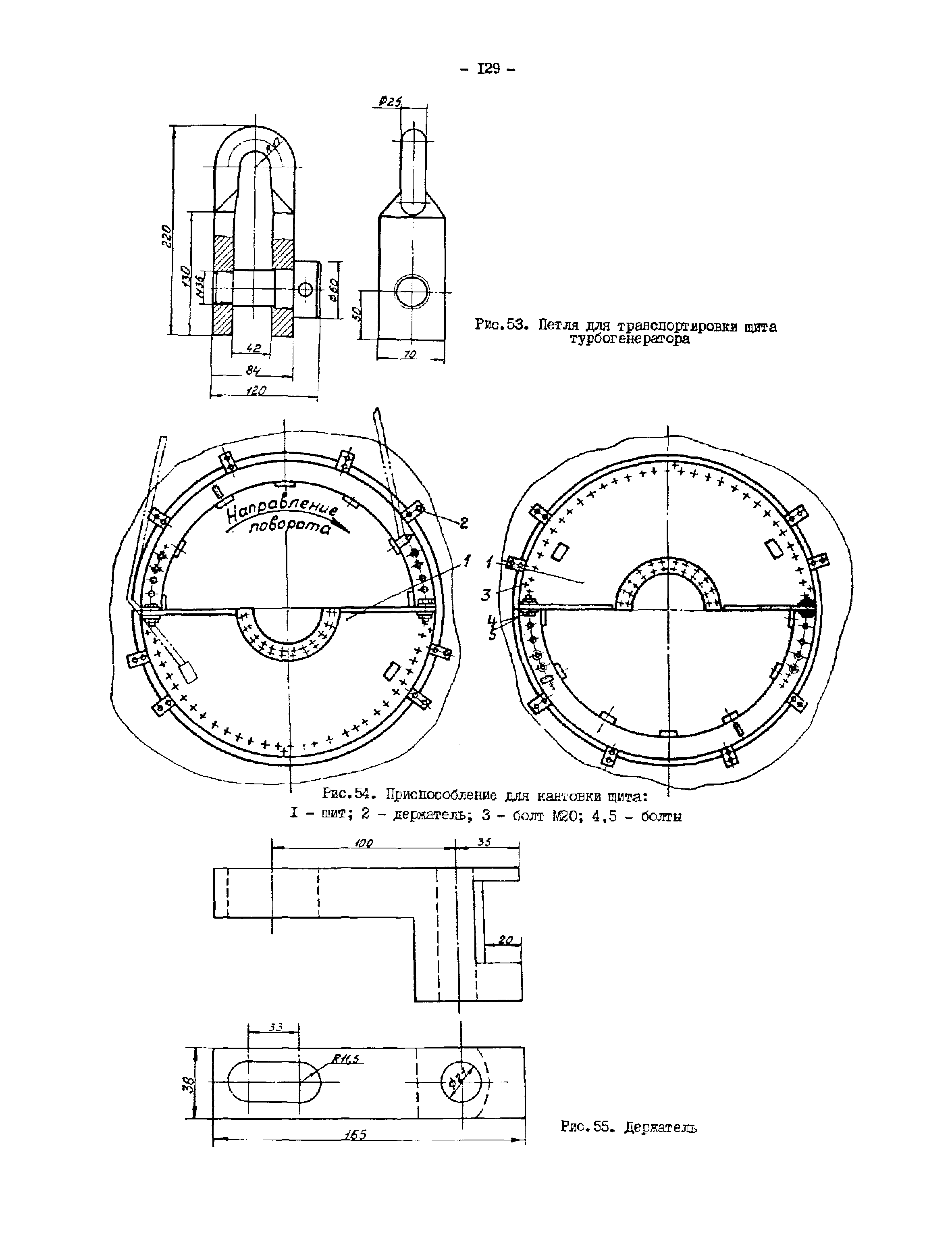
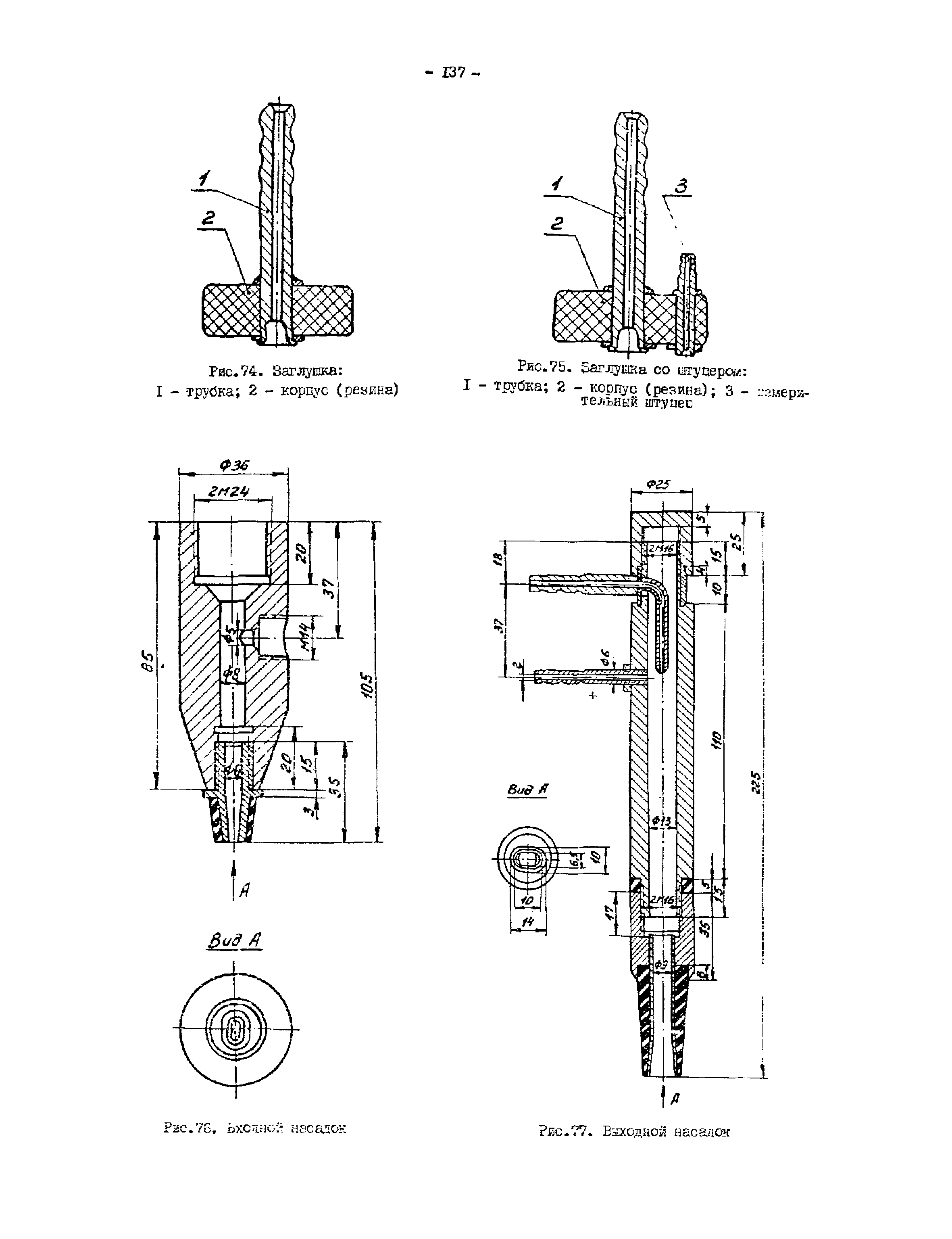
| Оглавление: | Глава первая. Подготовка к капитальному ремонту Глава вторая. Производство ремонтных работ Глава третья. Приемка турбогенератора из ремонта в оформлении отчетной документации Глава четвертая. Меры безопасности и противопожарные мероприятия при капитальном ремонте турбогенератора Глава пятая. Техническая характеристика и краткое описание турбогенератора Глава шестая Указания по технологии капитального ремонта турбогенератора Приложение 1. перечень операций и трудозатрат на капитальный ремонт турбогенератора Приложение 2. Перечень инструмента, применяемого при капитальном ремонте турбогенератора Приложение 3. Перечень приспособлений и оснастки, применяемых при капитальном ремонте турбогенератора Приложение 4. Рекомендуемая программа измерений и испытаний при капитальном ремонте турбогенератора Приложение 5. Перечень чертежей, необходимых при ремонте турбогенератора Приложение 6. Ведомость неснижаемого запаса деталей для капитального ремонта турбогенератора Приложение 7. масса узлом и отдельных деталей турбогенератора Приложение 8. Модель сетевого графика капитального ремонта турбогенератора Приложение 9. Журнал сменных зданий Приложение 10. Форма информационной карты СПУ Приложение 11. План задание, Табель-расчет Приложение 12. Отыскание течей в системе водяного охлаждения обмотки статора течеискателем ГТИ-3 Приложение 13. Контроль продуваемости вентиляционных каналов обмотки ротора с непосредственным охлаждением Приложение 14. Проверка газоплотности ротора Приложение 15. Контроль стальных лопаток пропеллерных вентиляторов турбогенераторов Приложение 16. Изменение конструкции изоляции и уплотнения токоведущих болтов турбогенераторов Приложение 17. Съем и надевание контактора Приложение 18. Посадка и съем бандажных колец Приложение 19. Дефектоскопия бандажных колец методом цветной пробы Приложение 20. Переклиновка пазов обмотки ротора Приложение 21. Испытание обмотки статора на водоплотность Приложение 22. Испытание активной стали статора Приложение 23. Устранение местных дефектов активной стали Приложение 24. Приготовление эпоксидного клеящего лака ЭЛ-4 холодного отверждения Приложение 25. Меры безопасности при работе с эпоксидными смолами и композициями на их основе Приложение 26. Изготовление и применение защитных паст Приложение 27. Проверка водяной, масляной и газовой систем |
| Разработан: | Министерство энергетики и электрификации СССР Мосэнергоремонт ЦКБ Главэнергоремонт |
| Утверждён: | 15.12.1972 Главэнергоремонт (Glavenergoremont ) 30.10.1973 Главтехуправление |
| Принят: | 26.06.1972 ЛЭО Электросила |
| Издан: | СПО ОРГРЭС (1976 г. ) |
| Нормативные ссылки: |
|
















































































































































