Скачать РД 34.40.508-85 Методические указания по эксплуатации поверхностных подогревателей турбоустановок ТЭС и АСДата актуализации: 01.01.2021
|
| Обозначение: | РД 34.40.508-85 |
| Обозначение англ: | RD 34.40.508-85 |
| Статус: | действует |
| Название рус.: | Методические указания по эксплуатации поверхностных подогревателей турбоустановок ТЭС и АС |
| Название англ.: | Procedural Guidelines for Operation of Turbine Unit Surface Heaters at Thermal Power Stations and Nuclear Power Plants |
| Дата добавления в базу: | 12.02.2016 |
| Дата актуализации: | 01.01.2021 |
| Дата введения: | 01.07.1988 |
| Область применения: | Методические указания распространяются на поверхностные пароводяные теплообменные аппараты низкого и высокого давления используемые в системе регенерации стационарных паровых турбин тепловых и атомных электростанций в качестве подогревателей питательной воды и устанавливают требования к эксплуатации и ремонту подогревателей |
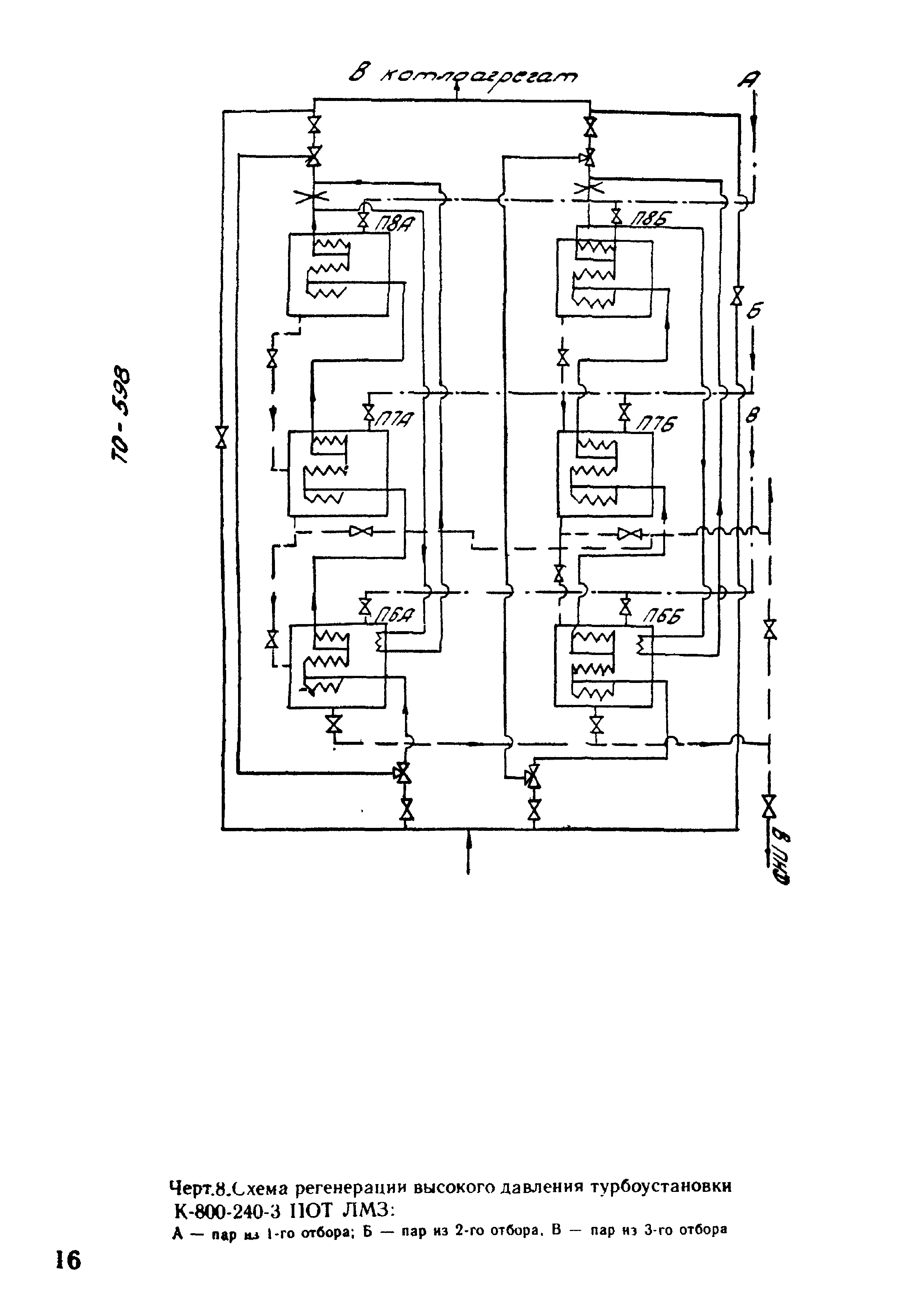
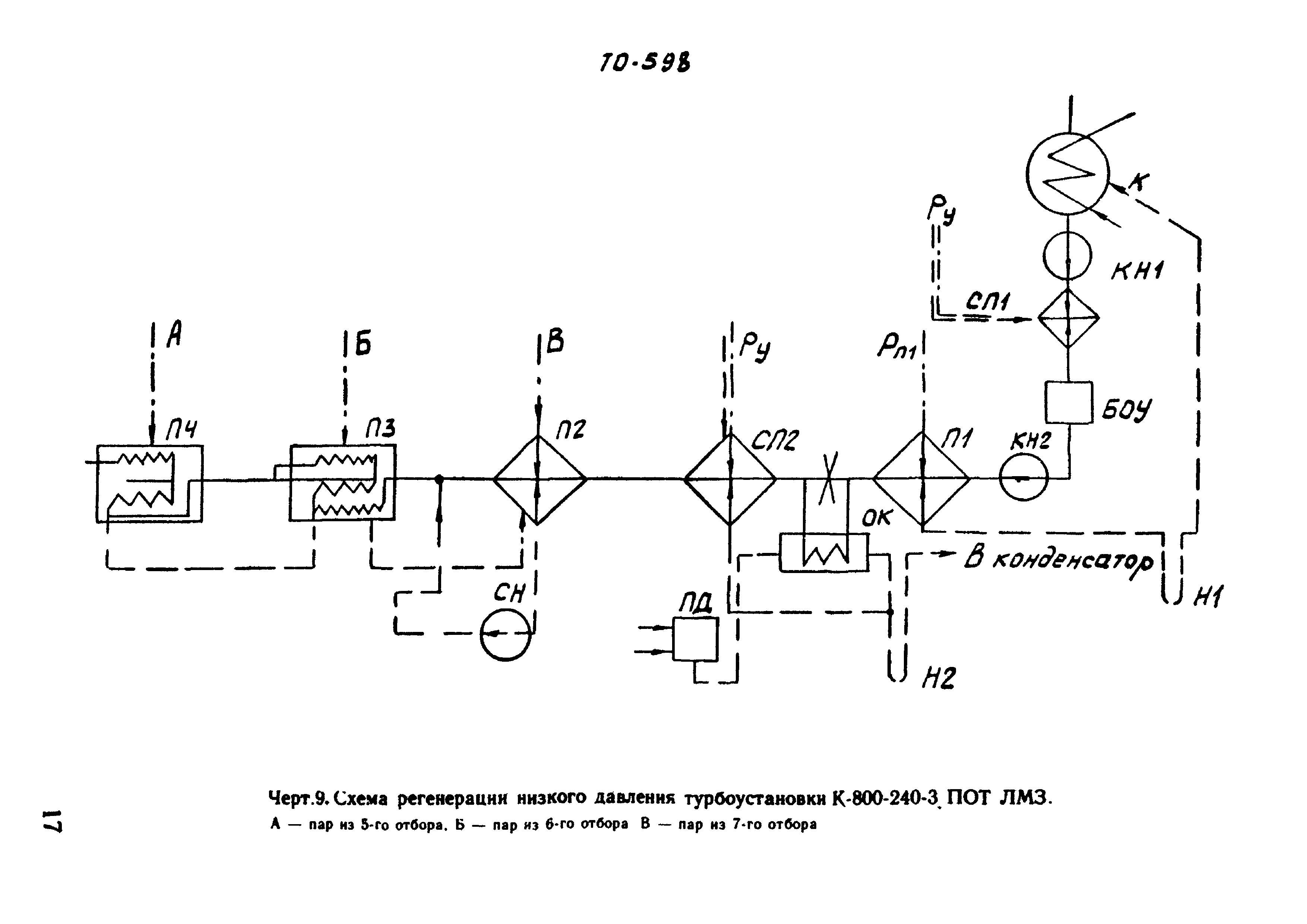
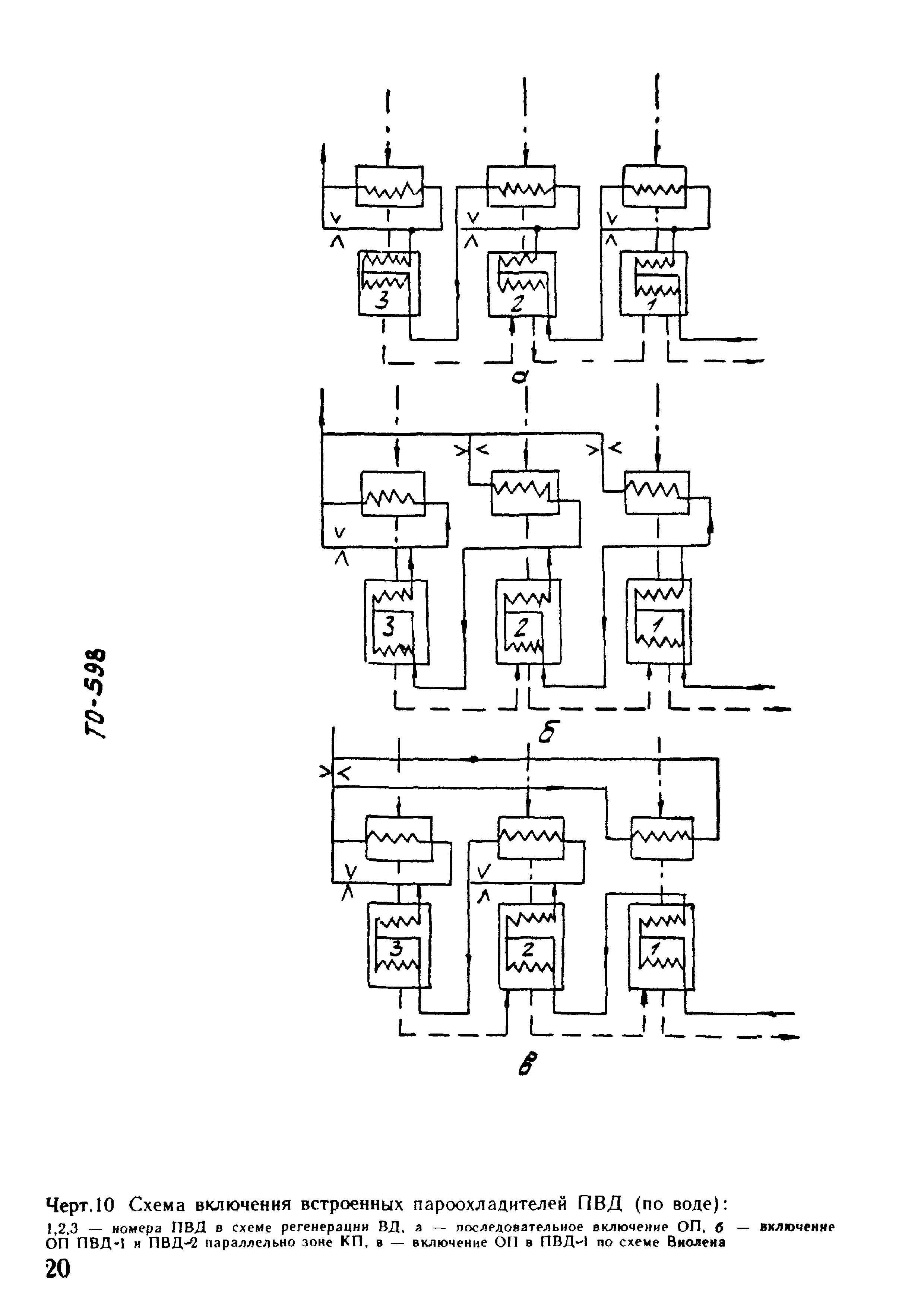
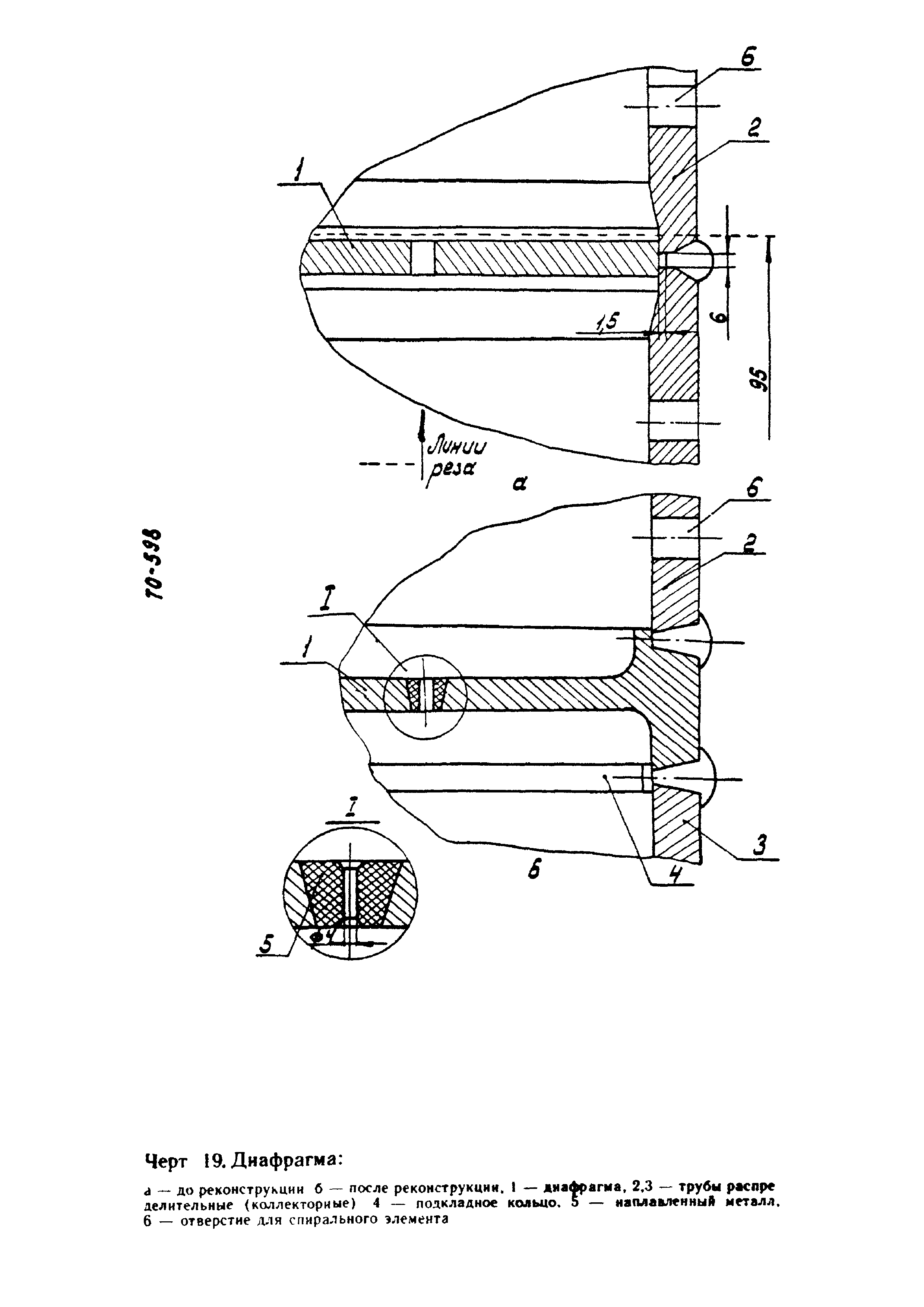
| Оглавление: | 1 Классификация, конструктивные особенности и схемы включения подогревателей 2 Эксплуатация поверхностных подогревателей 3 Ремонт поверхностных подогревателей 4 Модернизация поверхностных подогревателей 5 Меры безопасности при эксплуатации и ремонте поверхностных подогревателей |
| Разработан: | УралВТИ |
| Утверждён: | 29.09.1985 Минэнерго СССР (USSR Minenergo ) |
| Издан: | ВТИ (1988 г. ) |
| Заменяет собой: |
|
































































