Скачать ГОСТ 10653-84 Калибры для треугольной резьбы бурильных труб с высаженными концами и муфт к ним. Типы, основные размеры и допускиДата актуализации: 01.01.2021
|
| Обозначение: | ГОСТ 10653-84 |
| Обозначение англ: | GOST 10653-84 |
| Статус: | взамен |
| Название рус.: | Калибры для треугольной резьбы бурильных труб с высаженными концами и муфт к ним. Типы, основные размеры и допуски |
| Название англ.: | Gauges for triangular thread of internal-external upset drill pipes with coup lings. Types, basic dimensions and tolerances |
| Дата добавления в базу: | 01.09.2013 |
| Дата актуализации: | 01.01.2021 |
| Дата введения: | 01.01.1985 |
| Область применения: | Стандарт распространяется на калибры для треугольной резьбы бурильных труб с высаженными концами и муфт к ним. |
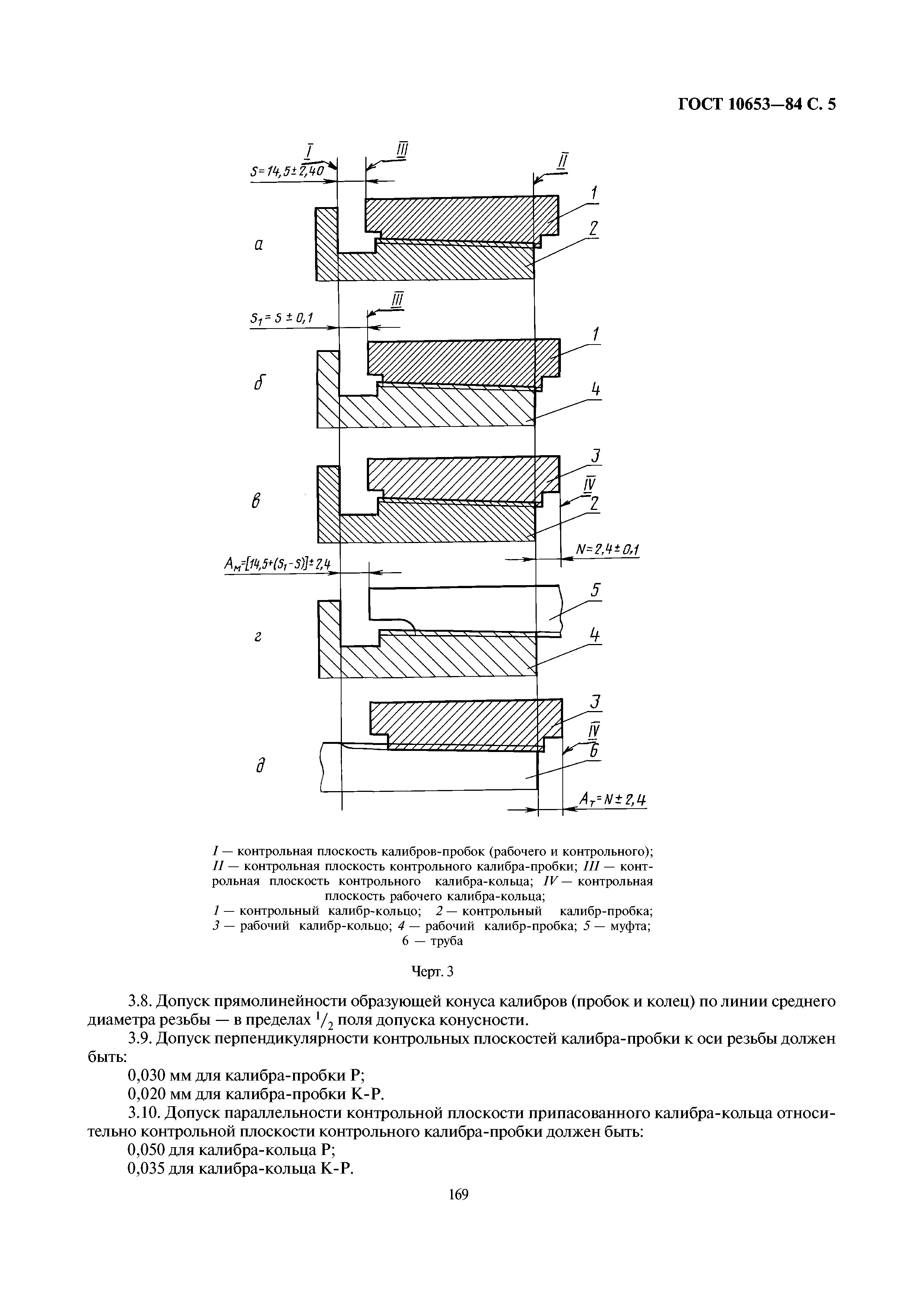
| Оглавление: | 1 Типы калибров 2 Обозначения 3 Профиль резьбы, основные размеры и допуски резьбовых калибров Приложение (обязательное) Правила применения калибров |
| Утверждён: | 26.03.1984 Государственный комитет СССР по стандартам (USSR National Committee on Standards 981) |
| Издан: | ИПК Издательство стандартов (2003 г. ) |
| Заменяет собой: | |
| Нормативные ссылки: |







