Скачать ГОСТ 11188-82 Метчики для метрической резьбы с натягами. Допуски на резьбуДата актуализации: 01.01.2021 ГОСТ 11188-82
Метчики для метрической резьбы с натягами. Допуски на резьбу| Обозначение: | ГОСТ 11188-82 | | Обозначение англ: | GOST 11188-82 | | Статус: | действует | | Название рус.: | Метчики для метрической резьбы с натягами. Допуски на резьбу | | Название англ.: | Taps for metric interference thread. Tolerances for threads | | Дата добавления в базу: | 01.09.2013 | | Дата актуализации: | 01.01.2021 | | Дата введения: | 01.01.1984 | | Утверждён: | 14.12.1982 Госстандарт СССР (USSR Gosstandart 4727)
|
     
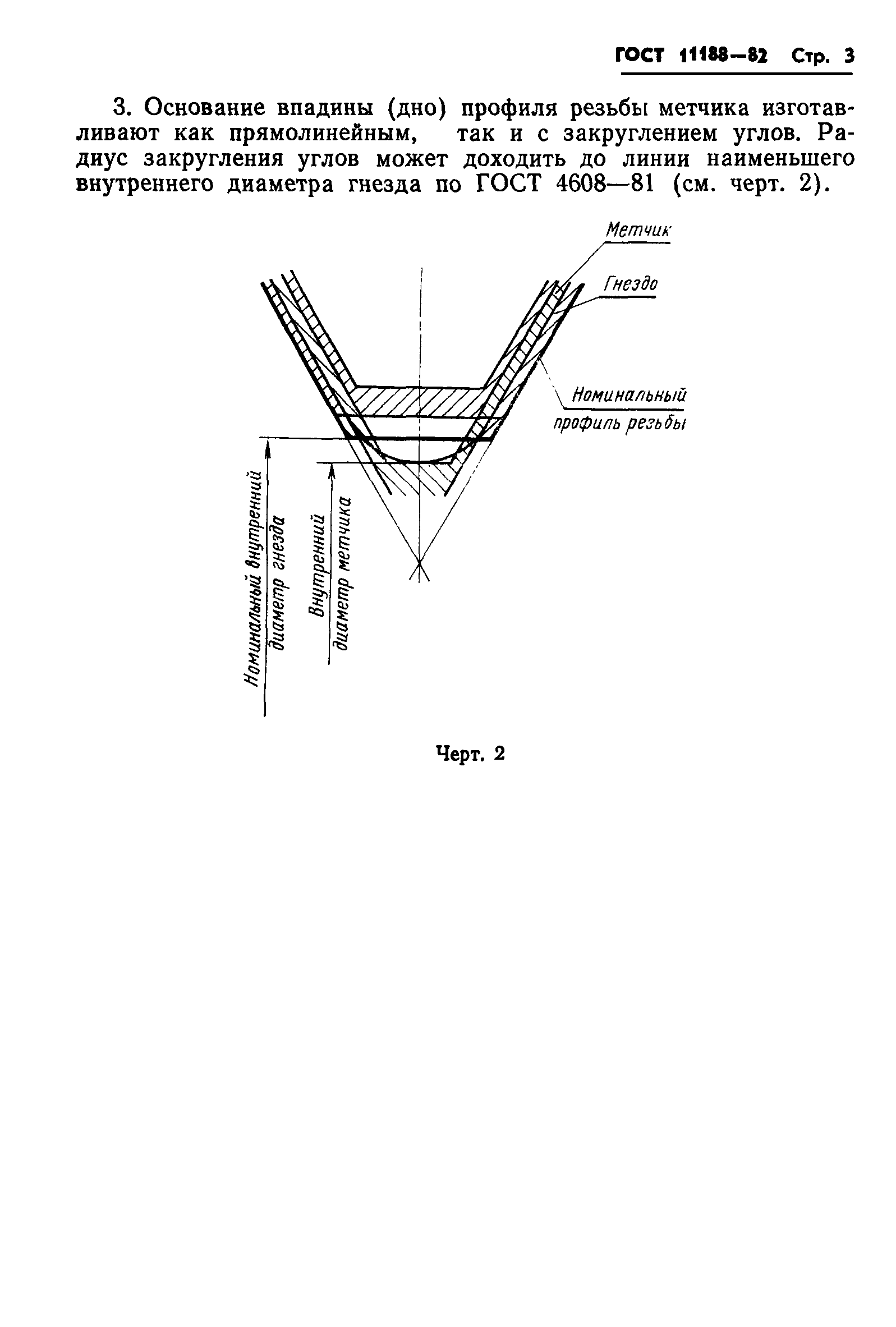
|