Скачать ГОСТ 1185-80 Долота плотничные и столярные. Технические условияДата актуализации: 01.01.2021
|
| Обозначение: | ГОСТ 1185-80 |
| Обозначение англ: | GOST 1185-80 |
| Статус: | взамен |
| Название рус.: | Долота плотничные и столярные. Технические условия |
| Название англ.: | Carpenters and joiner chisels |
| Дата добавления в базу: | 01.09.2013 |
| Дата актуализации: | 01.01.2021 |
| Дата введения: | 01.01.1982 |
| Область применения: | Стандарт распространяется на плотничные и столярные долота, предназначенные для чернового образования гнезд и пазов в деталях из древесины при выполнении плотничных и столярных работ. |
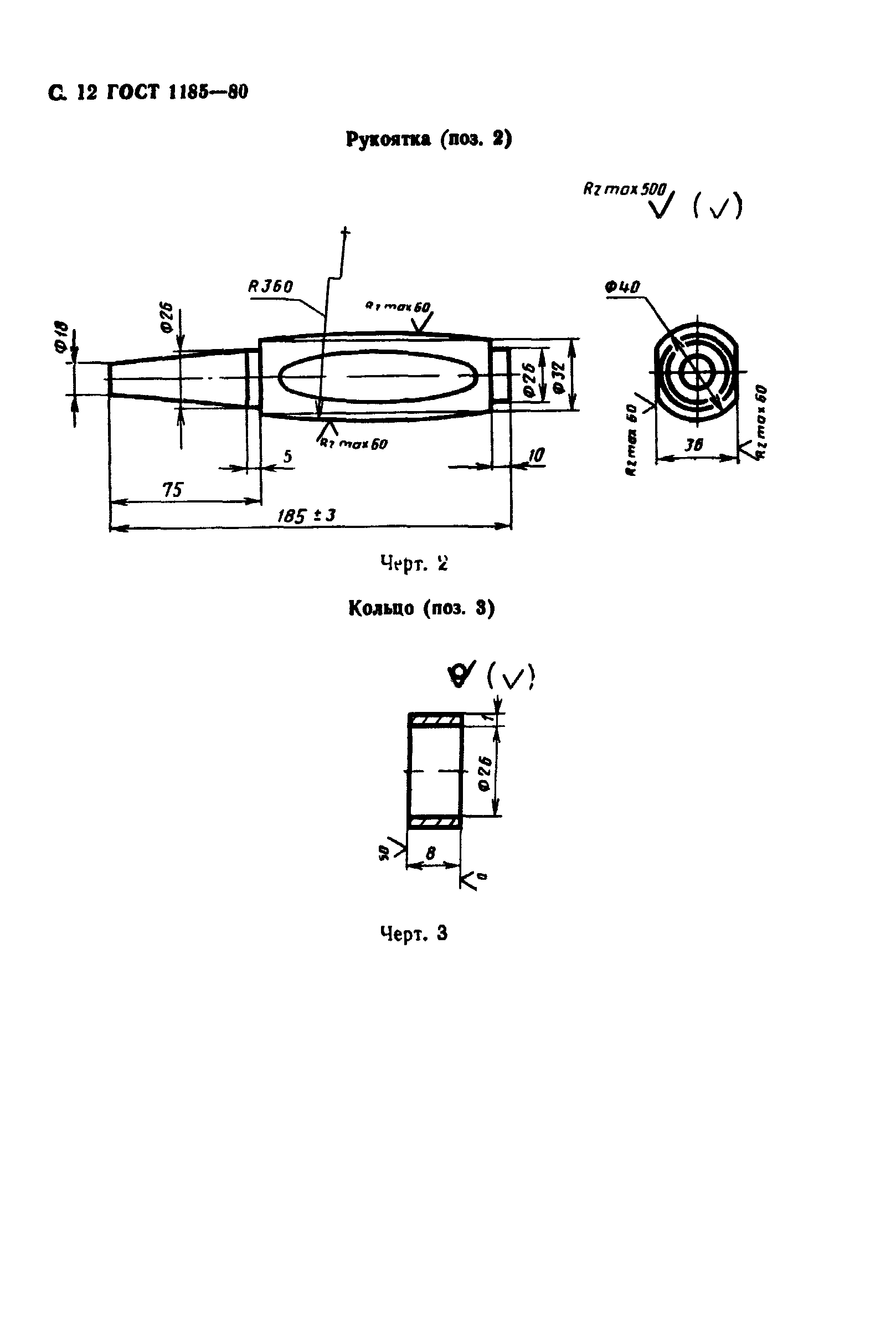
| Оглавление: | 1. Основные размеры 2. Технические требования 3. Требования безопасности 4. Правила приемки 5. Методы испытаний 6. Гарантии изготовителя Приложение 1 (рекомендуемое). Конструктивные элементы деталей плотничных долот Приложение 2 (рекомендуемое) Конструктивные элементы деталей столярных долот |
| Утверждён: | 12.05.1980 Государственный комитет СССР по стандартам (USSR National Committee on Standards 2057) |
| Список изменений: |
|
| Заменяет собой: |
|


















Текстовое изменение № 2 от 01.10.1986
