Скачать ГОСТ 11903-77 Головки зуборезные цельные для конических колес с круговыми зубьями. Конструкция и размеры

Дата актуализации: 01.01.2021

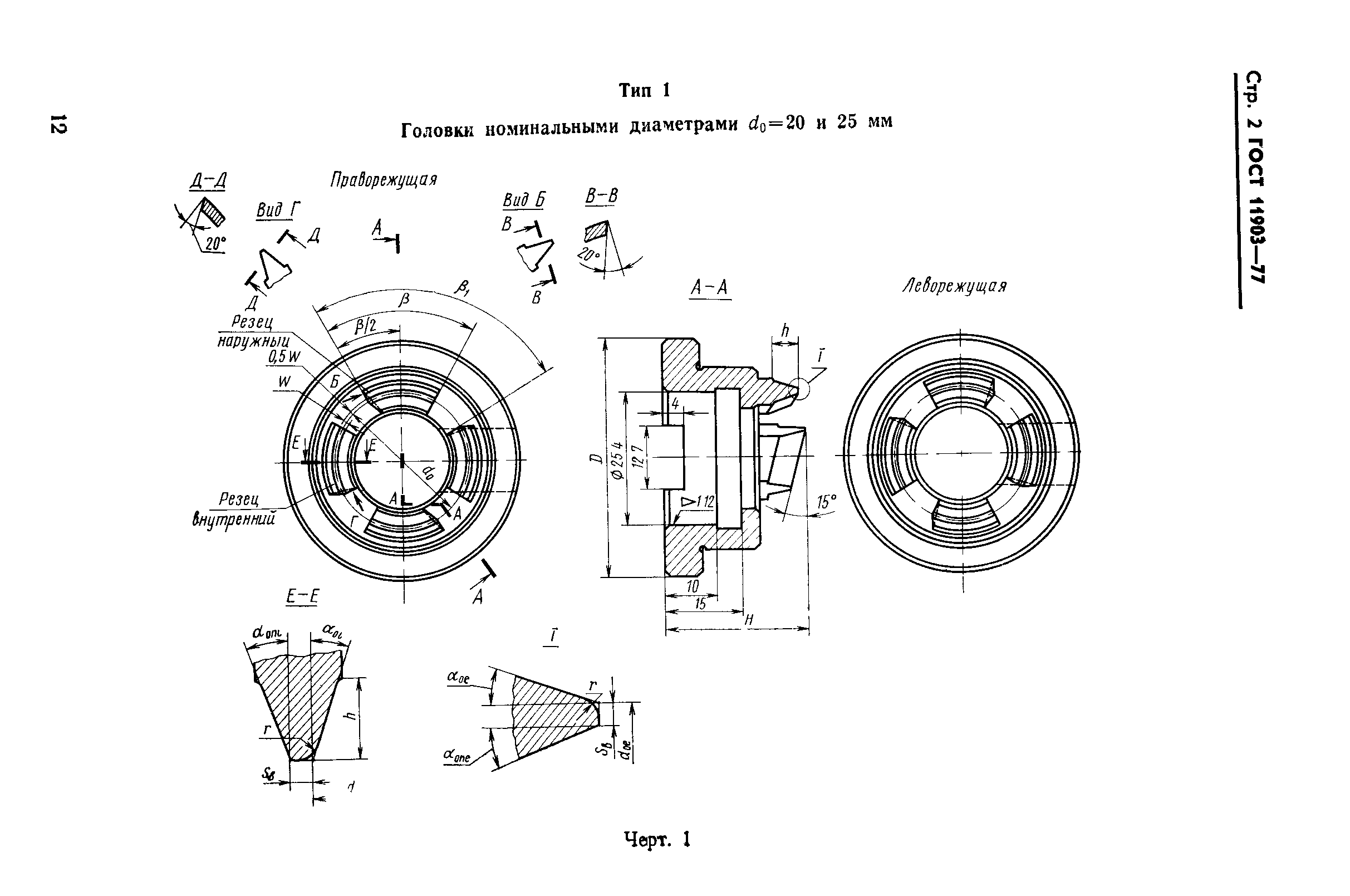
ГОСТ 11903-77

Головки зуборезные цельные для конических колес с круговыми зубьями. Конструкция и размеры

Обозначение: ГОСТ 11903-77
Обозначение англ: GOST 11903-77
Статус:взамен
Название рус.:Головки зуборезные цельные для конических колес с круговыми зубьями. Конструкция и размеры
Название англ.:Spiral bevel gear solid cutters. Design and dimensions
Дата добавления в базу:01.09.2013
Дата актуализации:01.01.2021
Дата введения:01.01.1979
Утверждён:28.07.1977 Госстандарт СССР (USSR Gosstandart 1860)
Заменяет собой:
  • ГОСТ 11903-66 «Головки зуборезные цельные для конических колес с круговыми зубьями. Конструкция и размеры» (Сведения из перечня "Указатель государственных стандартов СССР 1980 г.", Издательство стандартов 1980)
ГОСТ 11903-77ГОСТ 11903-77ГОСТ 11903-77ГОСТ 11903-77ГОСТ 11903-77ГОСТ 11903-77ГОСТ 11903-77ГОСТ 11903-77ГОСТ 11903-77ГОСТ 11903-77ГОСТ 11903-77ГОСТ 11903-77ГОСТ 11903-77ГОСТ 11903-77ГОСТ 11903-77ГОСТ 11903-77ГОСТ 11903-77ГОСТ 11903-77ГОСТ 11903-77ГОСТ 11903-77