Скачать ГОСТ 12193-66 Приспособления станочные. Призмы подвижные. Конструкция

Дата актуализации: 01.01.2021

ГОСТ 12193-66

Приспособления станочные. Призмы подвижные. Конструкция

Обозначение: ГОСТ 12193-66
Обозначение англ: GOST 12193-66
Статус:действует
Название рус.:Приспособления станочные. Призмы подвижные. Конструкция
Название англ.:Holding devices. Movable prisms. Design
Дата добавления в базу:01.09.2013
Дата актуализации:01.01.2021
Дата введения:01.07.1967
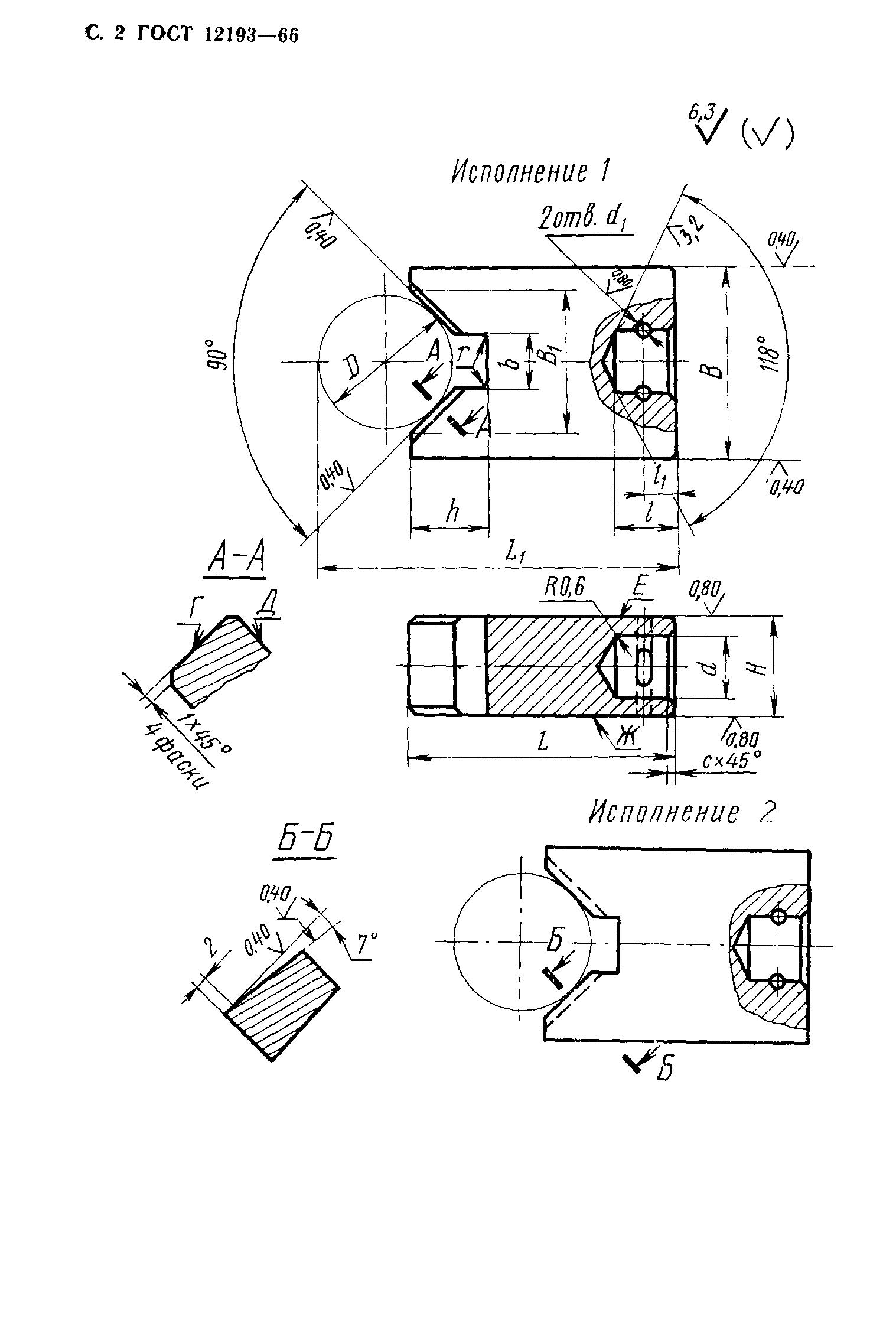
Область применения:Стандарт распространяется на конструкцию и размеры подвижных призм.
Оглавление:Приложение (справочное) Пример применения подвижной призмы
Разработан: Министерство станкостроительной и инструментальной промышленности СССР
Министерство тяжелого энергетического и транспортного машиностроения СССР
Утверждён:10.08.1966 Комитет стандартов, мер и измерительных приборов при Совете Министров СССР (Committee on Standards, Measures, and Measuring Instruments at the USSR Cabinet of Ministers 916)
Список изменений:
Заменяет собой:
  • МН 342-60 (Сведения из перечня "Указатель государственных стандартов СССР 1970 г.", Издательство комитета стандартов 1970)
Нормативные ссылки:
ГОСТ 12193-66ГОСТ 12193-66ГОСТ 12193-66ГОСТ 12193-66ГОСТ 12193-66ГОСТ 12193-66

Текстовое изменение № 3 от 01.01.1989

№ 3№ 3