Скачать ГОСТ 12198-66 Приспособления станочные. Колодки направляющие. Конструкция

Дата актуализации: 01.01.2021

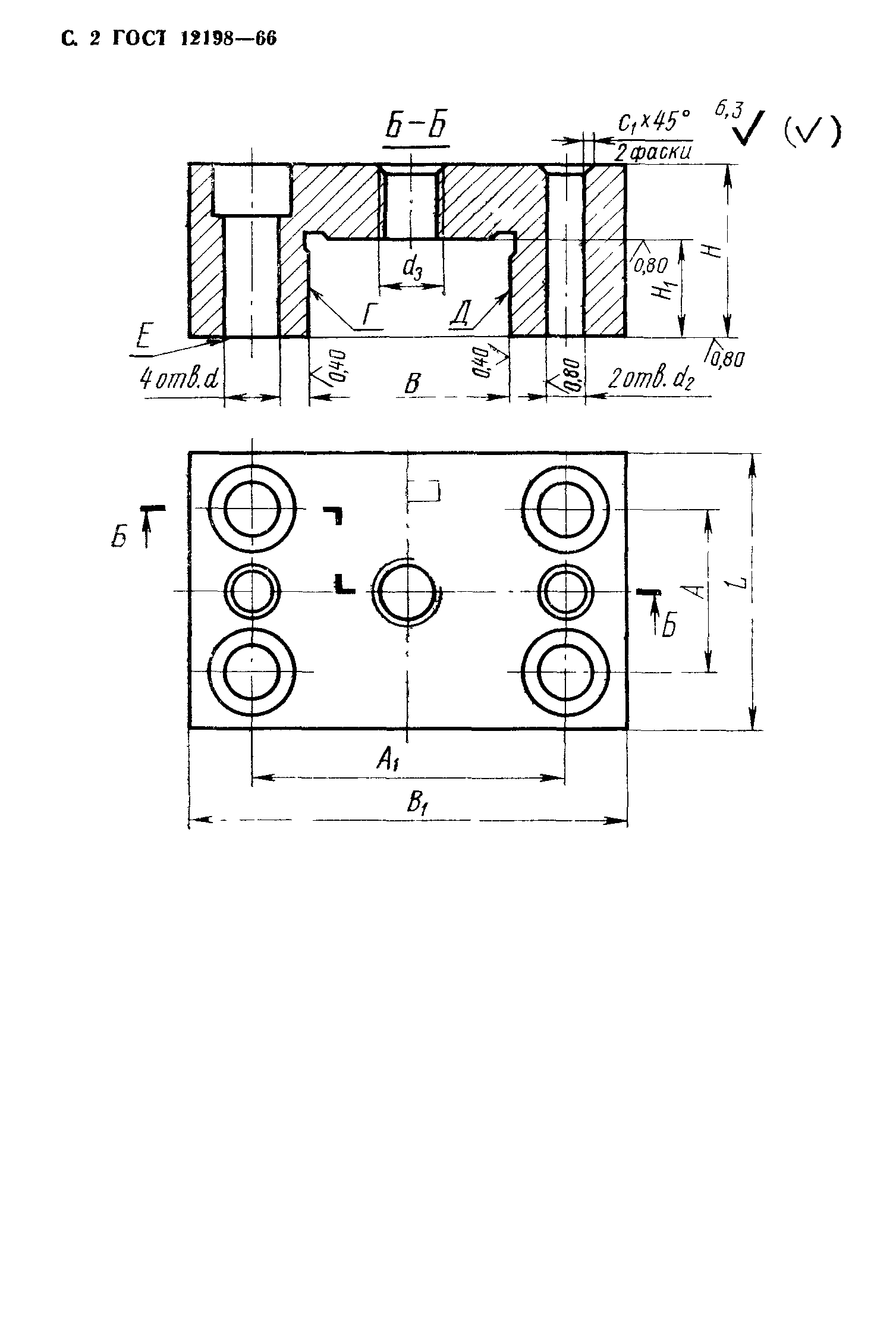
ГОСТ 12198-66

Приспособления станочные. Колодки направляющие. Конструкция

Обозначение: ГОСТ 12198-66
Обозначение англ: GOST 12198-66
Статус:действует
Название рус.:Приспособления станочные. Колодки направляющие. Конструкция
Название англ.:Holding devices. Guiding shoes. Design
Дата добавления в базу:01.09.2013
Дата актуализации:01.01.2021
Дата введения:01.07.1967
Область применения:Стандарт распространяется на конструкцию и размеры направляющих колодок.
Оглавление:Приложение (справочное) Пример применения направляющих колодок
Разработан: Министерство станкостроительной и инструментальной промышленности СССР
Министерство тяжелого энергетического и транспортного машиностроения СССР
Утверждён:10.08.1966 Комитет стандартов, мер и измерительных приборов при Совете Министров СССР (Committee on Standards, Measures, and Measuring Instruments at the USSR Cabinet of Ministers 921)
Список изменений:
Нормативные ссылки:
ГОСТ 12198-66ГОСТ 12198-66ГОСТ 12198-66ГОСТ 12198-66ГОСТ 12198-66ГОСТ 12198-66

Текстовое изменение № 2 от 01.01.1989

№ 2№ 2