Скачать ГОСТ 13062-67 Державки суппортные однороликовые для накатки. Конструкция и размерыДата актуализации: 01.01.2021
|
| Обозначение: | ГОСТ 13062-67 |
| Обозначение англ: | GOST 13062-67 |
| Статус: | действует |
| Название рус.: | Державки суппортные однороликовые для накатки. Конструкция и размеры |
| Название англ.: | Carrage single-rolled holders for knurling. Design and dimensions |
| Дата добавления в базу: | 01.09.2013 |
| Дата актуализации: | 01.01.2021 |
| Дата введения: | 01.07.1968 |
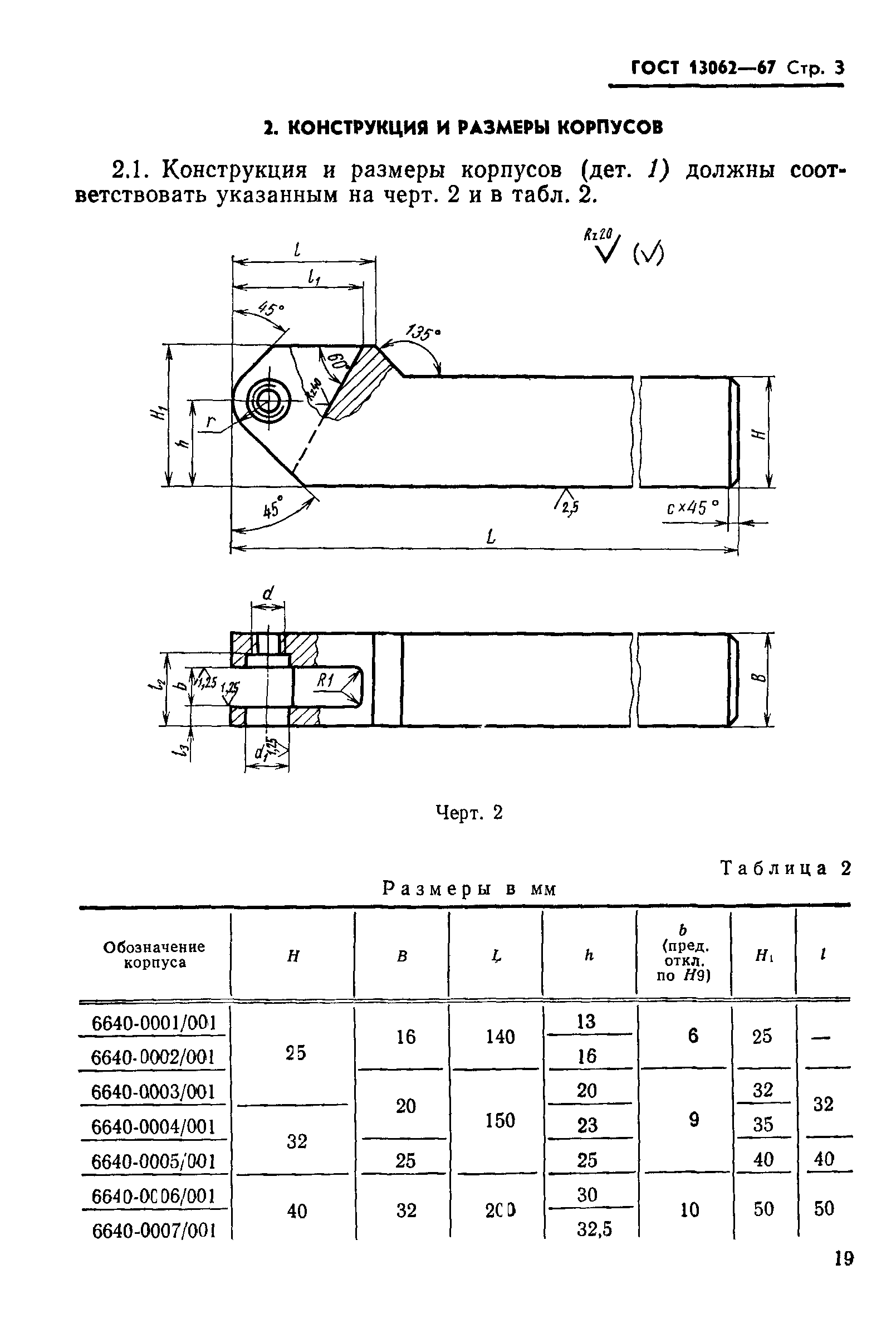
| Оглавление: | 1. Конструкция и размеры суппортных однороликовых державок 2. Конструкция и размеры корпусов 3. Конструкция и размеры осей |
| Утверждён: | 14.07.1967 Госстандарт СССР (USSR Gosstandart 1147) |
| Заменяет собой: |
|




