Скачать ГОСТ 13110-83 Штампы для листовой штамповки. Плиты-заготовки нижние для штампов с диагональным расположением направляющих узлов. Конструкция и размерыДата актуализации: 01.01.2021 ГОСТ 13110-83
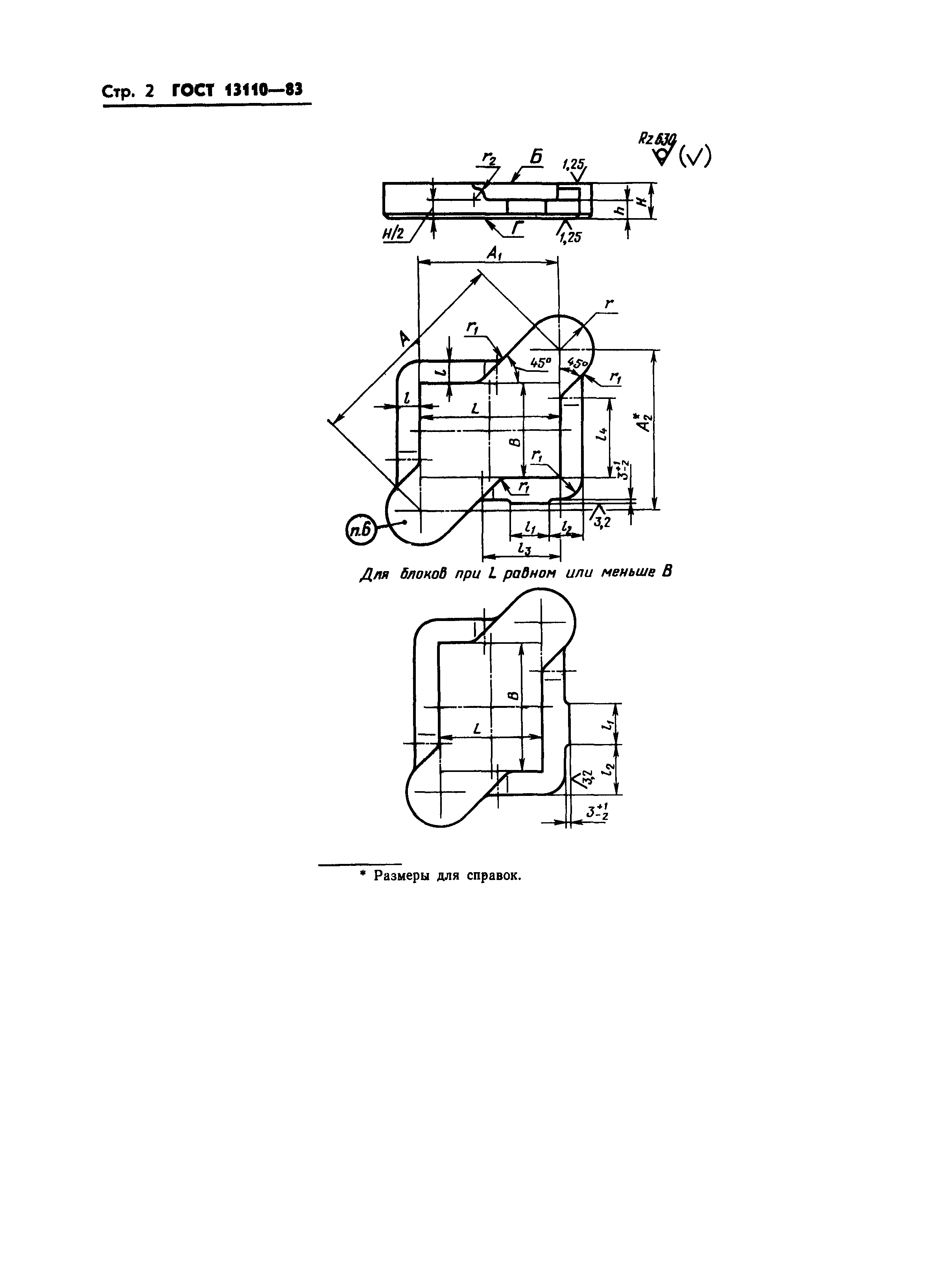
Штампы для листовой штамповки. Плиты-заготовки нижние для штампов с диагональным расположением направляющих узлов. Конструкция и размеры| Обозначение: | ГОСТ 13110-83 | | Обозначение англ: | GOST 13110-83 | | Статус: | действует | | Название рус.: | Штампы для листовой штамповки. Плиты-заготовки нижние для штампов с диагональным расположением направляющих узлов. Конструкция и размеры | | Название англ.: | Die bases for cold plastic working dies with guide post located diagonally. Construction and dimensions | | Дата добавления в базу: | 01.09.2013 | | Дата актуализации: | 01.01.2021 | | Дата введения: | 01.07.1984 | | Утверждён: | 22.09.1983 Госстандарт СССР (USSR Gosstandart 4492)
|
      
|