Скачать ГОСТ 13235-79 Фрезы дереворежущие насадные с затылованными зубьями для обработки пазов и гребней. Конструкция и размеры

Дата актуализации: 01.01.2021

ГОСТ 13235-79

Фрезы дереворежущие насадные с затылованными зубьями для обработки пазов и гребней. Конструкция и размеры

Обозначение: ГОСТ 13235-79
Обозначение англ: GOST 13235-79
Статус:взамен
Название рус.:Фрезы дереворежущие насадные с затылованными зубьями для обработки пазов и гребней. Конструкция и размеры
Название англ.:Relived woodworking cutters for tongue and broovs cutting. Design and dimensions
Дата добавления в базу:01.09.2013
Дата актуализации:01.01.2021
Дата введения:01.01.1981
Область применения:Стандарт распространяется на насадные цельные и составные фрезы с затылованными зубьями, предназначенные для обработки сопрягаемых пазов и гребней в древесине на четырехсторонних строгальных станках.
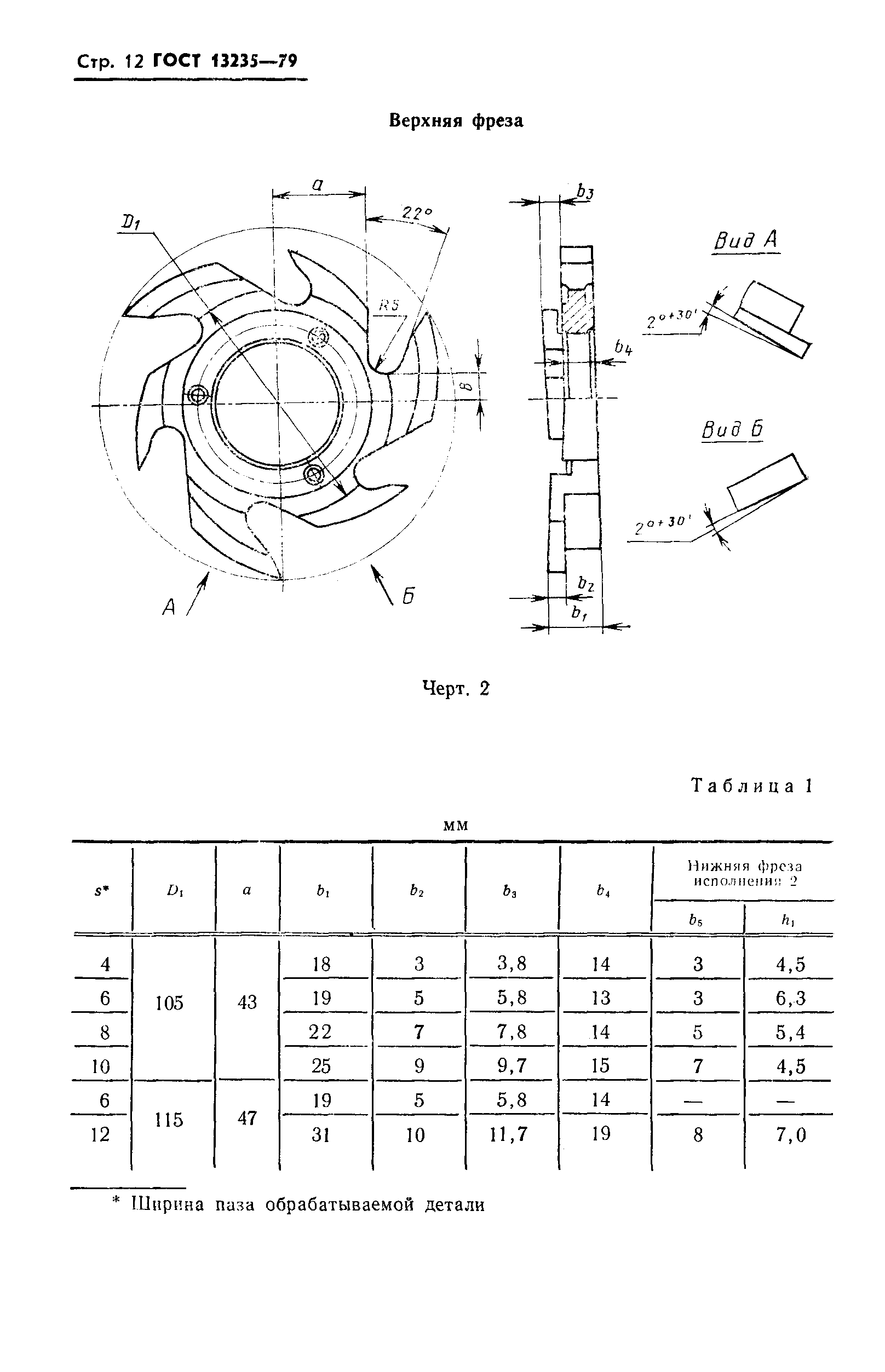
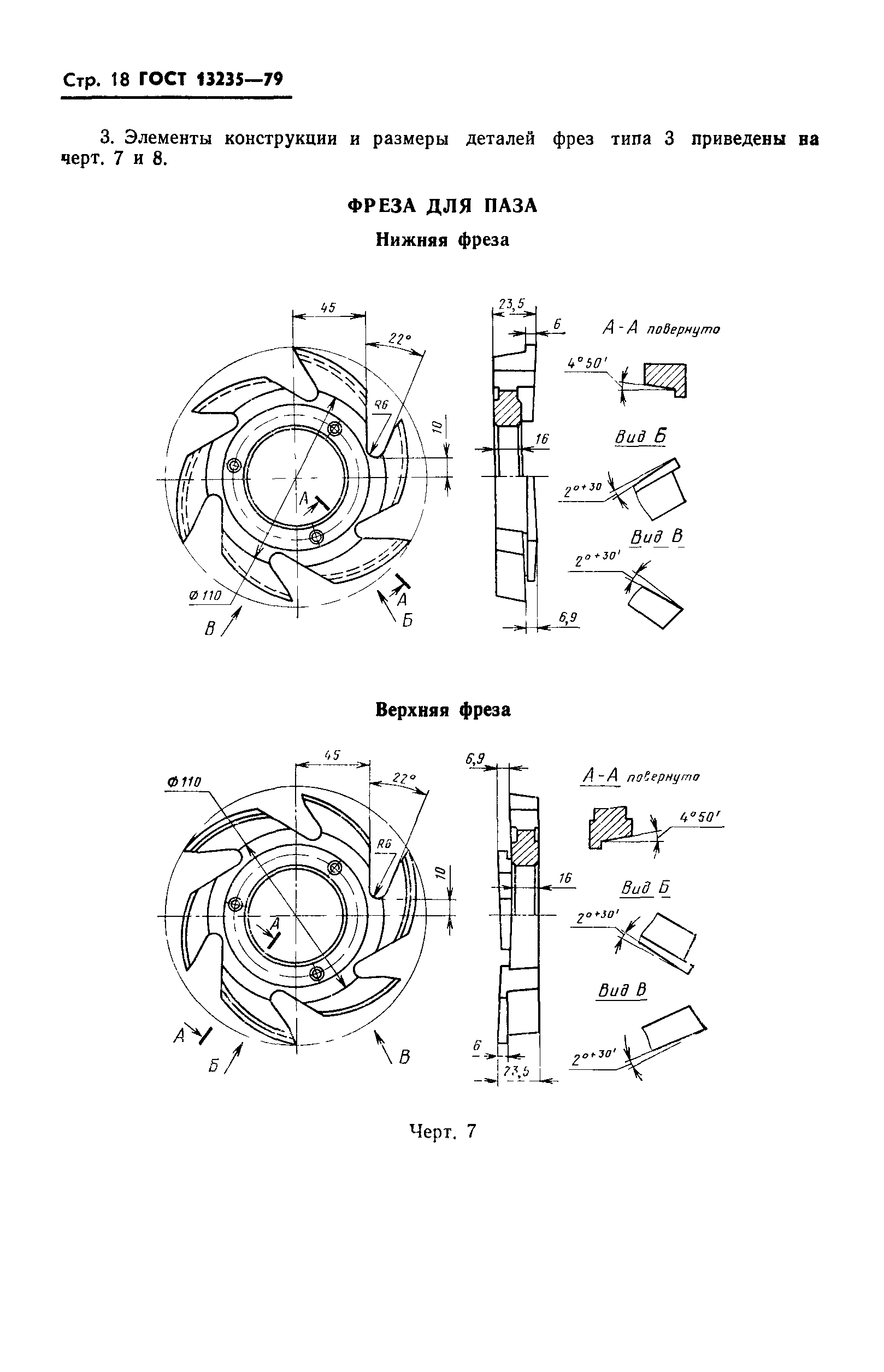
Оглавление:Приложение 1. Элементы конструкции и размеры деталей составных фрез (типы 1-4)
Приложение 2. Элементы конструкции и размеры цельных фрез (тип 5)
Утверждён:03.08.1979 Госстандарт СССР (USSR Gosstandart 2960)
Издан: Издательство стандартов (1986 г. )
Заменяет собой:
  • ГОСТ 13235-67 «Фрезы дереворежущие насадные затылованные для обработки шпунтов и гребней»
Нормативные ссылки:
ГОСТ 13235-79ГОСТ 13235-79ГОСТ 13235-79ГОСТ 13235-79ГОСТ 13235-79ГОСТ 13235-79ГОСТ 13235-79ГОСТ 13235-79ГОСТ 13235-79ГОСТ 13235-79ГОСТ 13235-79ГОСТ 13235-79ГОСТ 13235-79ГОСТ 13235-79ГОСТ 13235-79ГОСТ 13235-79ГОСТ 13235-79ГОСТ 13235-79ГОСТ 13235-79ГОСТ 13235-79ГОСТ 13235-79ГОСТ 13235-79ГОСТ 13235-79ГОСТ 13235-79ГОСТ 13235-79ГОСТ 13235-79