Скачать ГОСТ 13795-68 Хвостовики борштанг поводковые. РазмерыДата актуализации: 01.01.2021
|
| Обозначение: | ГОСТ 13795-68 |
| Обозначение англ: | GOST 13795-68 |
| Статус: | действует |
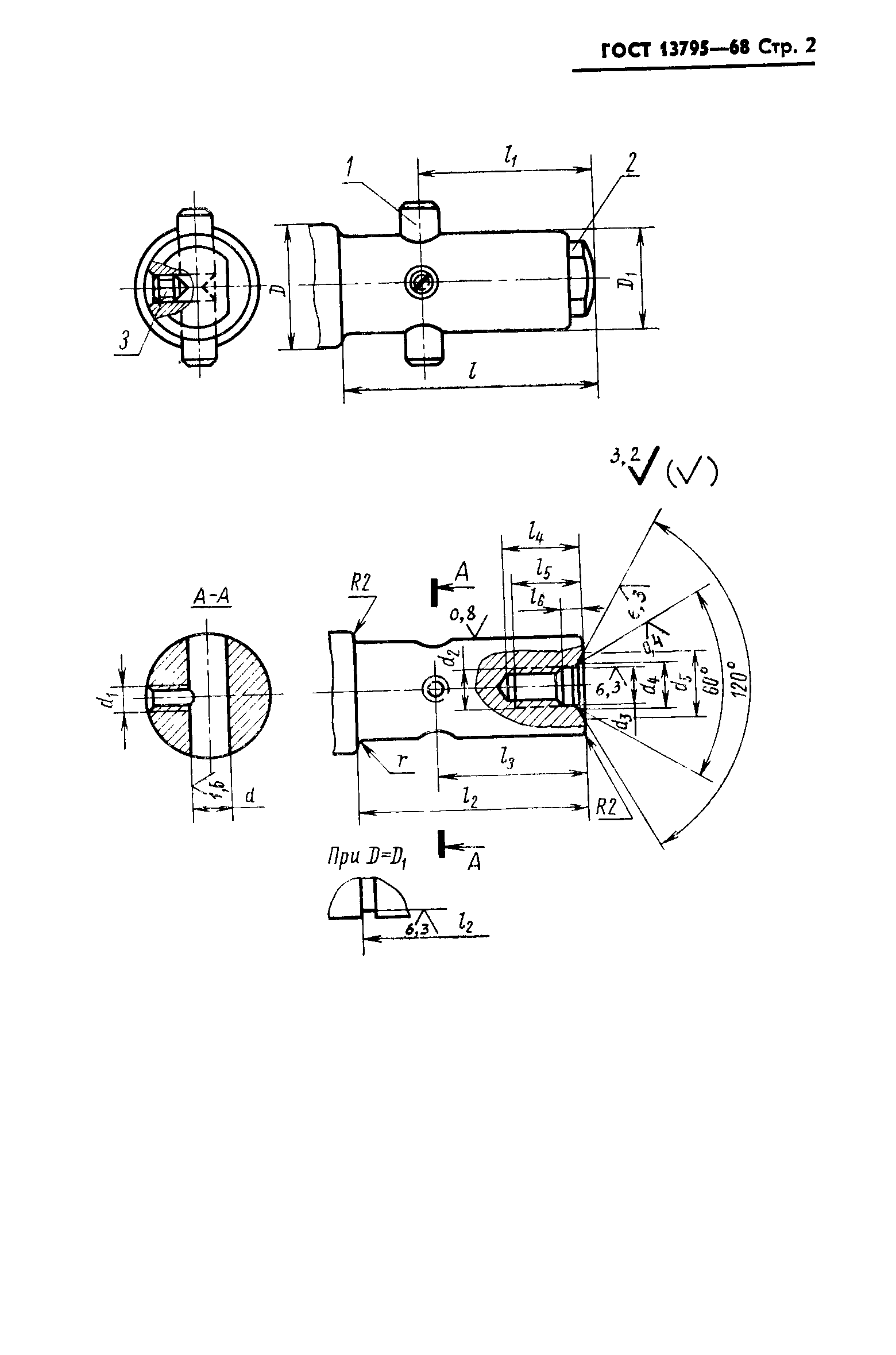
| Название рус.: | Хвостовики борштанг поводковые. Размеры |
| Название англ.: | Carries stems of boring bars. Dimensions |
| Дата добавления в базу: | 01.09.2013 |
| Дата актуализации: | 01.01.2021 |
| Дата введения: | 01.01.1969 |
| Утверждён: | 23.07.1968 Госстандарт СССР (USSR Gosstandart 941) |
| Издан: | Издательство стандартов (1986 г. ) |
| Заменяет собой: |
|
| Нормативные ссылки: |
|





