Скачать ГОСТ 13963-74 Угольники фланцевые проходные для соединений трубопроводов по наружному конусу. Конструкция и размеры

Дата актуализации: 01.01.2021

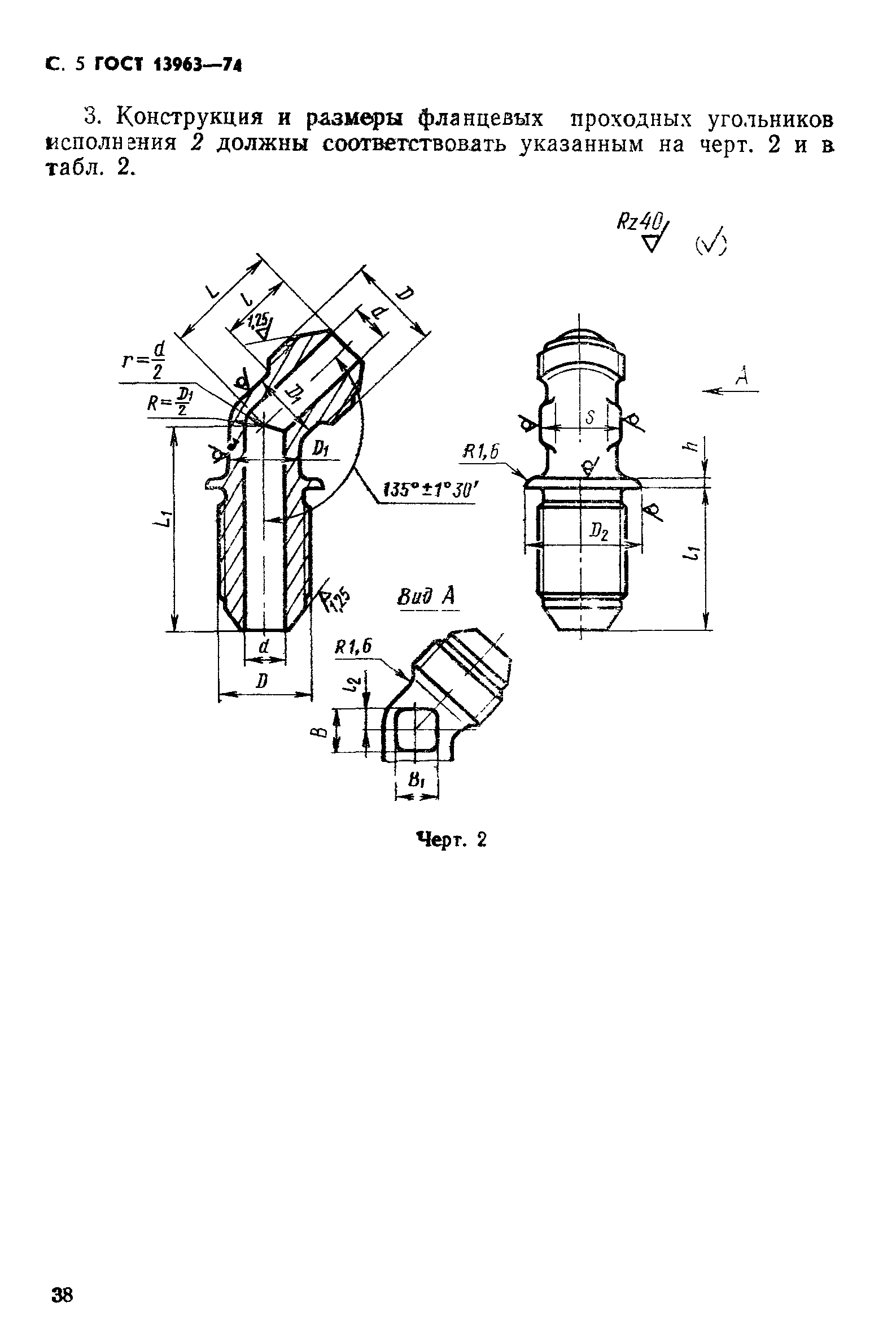
ГОСТ 13963-74

Угольники фланцевые проходные для соединений трубопроводов по наружному конусу. Конструкция и размеры

Обозначение: ГОСТ 13963-74
Обозначение англ: GOST 13963-74
Статус:взамен
Название рус.:Угольники фланцевые проходные для соединений трубопроводов по наружному конусу. Конструкция и размеры
Название англ.:Flange union elbows for tube connections on external cone. Construction and dimensions
Дата добавления в базу:01.09.2013
Дата актуализации:01.01.2021
Дата введения:01.07.1975
Утверждён:10.09.1974 Госстандарт СССР (USSR Gosstandart 2124)
Издан: ИПК Издательство стандартов (2002 г. )
Заменяет собой:
  • ГОСТ 13963-68 «Угольники фланцевые проходные для соединения трубопроводов по наружному конусу. Конструкция и размеры»
ГОСТ 13963-74ГОСТ 13963-74ГОСТ 13963-74ГОСТ 13963-74ГОСТ 13963-74ГОСТ 13963-74ГОСТ 13963-74ГОСТ 13963-74