Скачать ГОСТ 14819-69 Калибры-пробки гладкие непроходные с неполными насадками диаметром свыше 50 до 100 мм. Конструкция и размеры

Дата актуализации: 01.01.2021

ГОСТ 14819-69

Калибры-пробки гладкие непроходные с неполными насадками диаметром свыше 50 до 100 мм. Конструкция и размеры

Обозначение: ГОСТ 14819-69
Обозначение англ: GOST 14819-69
Статус:действует
Название рус.:Калибры-пробки гладкие непроходные с неполными насадками диаметром свыше 50 до 100 мм. Конструкция и размеры
Название англ.:Cylindrical plug gauges (not go side). Gauging members of not full form above 50 to 100 mm nominal diameter. Design and dimensions
Дата добавления в базу:01.09.2013
Дата актуализации:01.01.2021
Дата введения:01.01.1971
Оглавление:1 Конструкция и размеры гладких непроходных калибров-пробок с неполными насадками
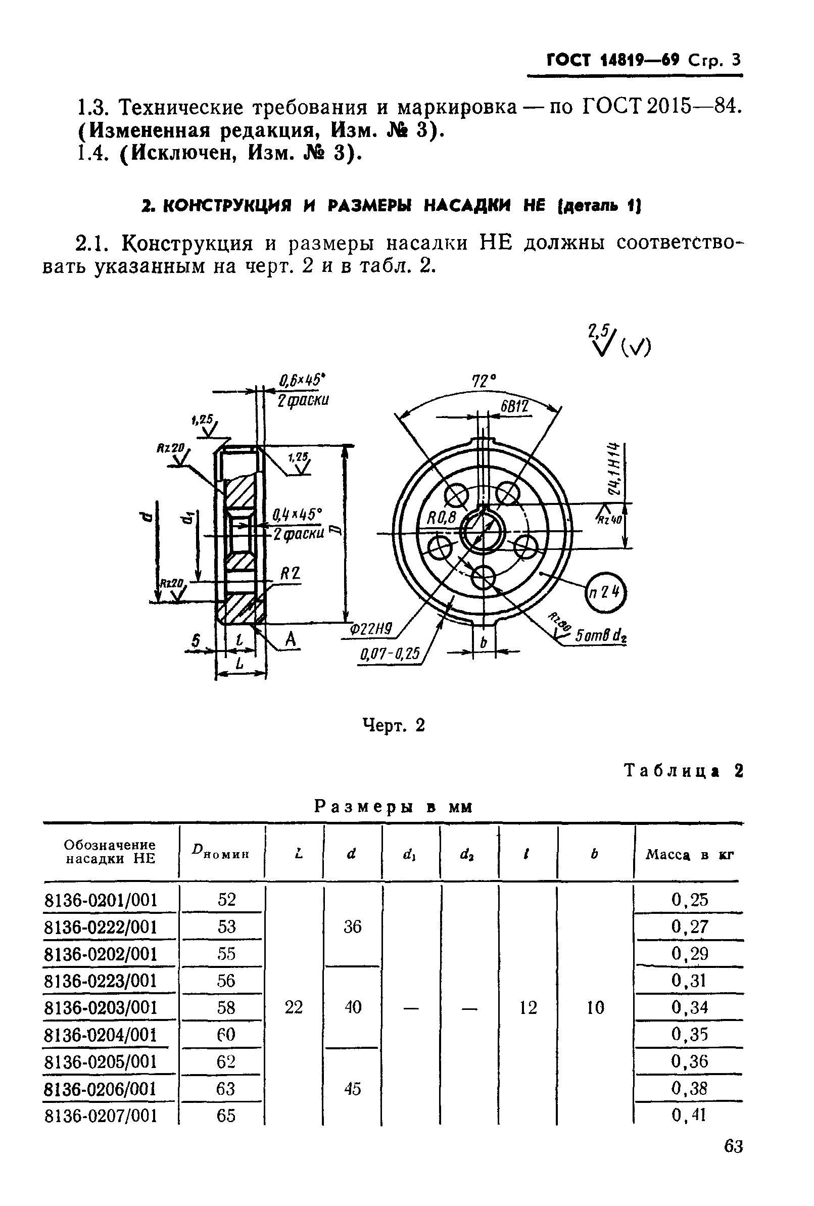
2 Конструкция и размеры насадки НЕ (деталь1)
Утверждён:07.07.1969 Госстандарт СССР (USSR Gosstandart 771)
Заменяет собой:
  • МН 4130-62 (Сведения из перечня "Указатель государственных стандартов СССР 1970 г.", Издательство комитета стандартов 1970)
ГОСТ 14819-69ГОСТ 14819-69ГОСТ 14819-69ГОСТ 14819-69ГОСТ 14819-69ГОСТ 14819-69