Скачать ГОСТ 14864-78 Пробки пневматические для отверстий диаметром от 3 до 160 мм. Технические условияДата актуализации: 01.01.2021
|
| Обозначение: | ГОСТ 14864-78 |
| Обозначение англ: | GOST 14864-78 |
| Статус: | взамен |
| Название рус.: | Пробки пневматические для отверстий диаметром от 3 до 160 мм. Технические условия |
| Название англ.: | Pneumatic plug gauges from 3 to 160 mm. Specifications |
| Дата добавления в базу: | 01.09.2013 |
| Дата актуализации: | 01.01.2021 |
| Дата введения: | 01.01.1980 |
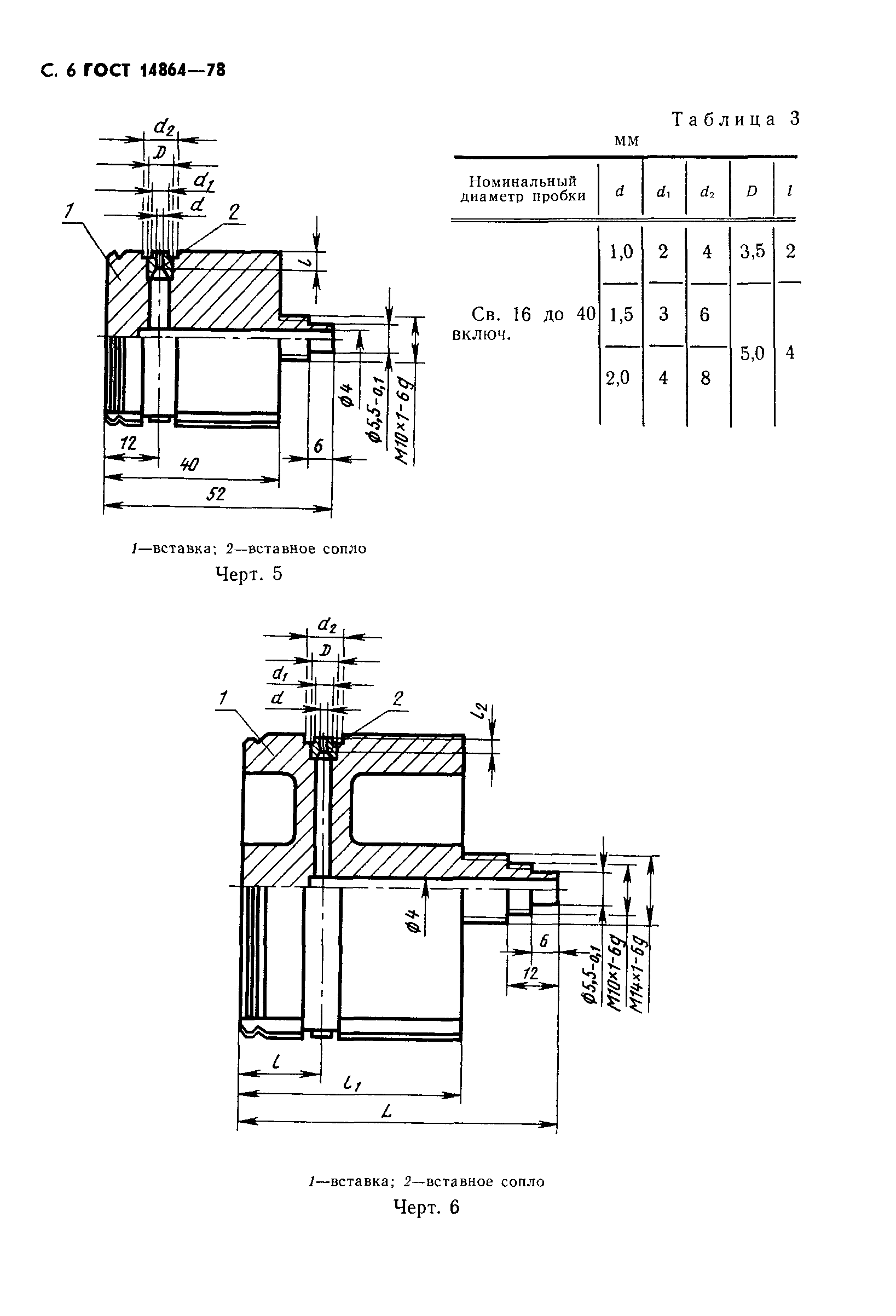
| Область применения: | Стандарт распространяется на измерительные пробки к пневматическим приборам и измерительным устройствам, контролирующим сквозные и глухие отверстия диаметром от 3 до 16 0 мм. |
| Оглавление: | 1 Типы, основные параметры и размеры 2 Технические требования 3 Правила приемки 4 Маркировка, упаковка, транспортирование и хранение 5 Гарантии изготовителя |
| Разработан: | Министерство станкостроительной и инструментальной промышленности СССР |
| Утверждён: | 05.07.1978 Государственный комитет стандартов Совета Министров СССР (USSR National Committee on Standards at the Cabinet of Ministers 1819) |
| Издан: | Издательство стандартов (1978 г. ) Издательство стандартов (1990 г. ) |
| Список изменений: |
|
| Заменяет собой: |
|
| Нормативные ссылки: |
|



















Текстовое изменение № 2 от 01.01.1990
