Скачать ГОСТ 16191-70 Заготовки матрицедержателей штампов горизонтально-ковочных машин. Конструкция и размеры

Дата актуализации: 01.01.2021

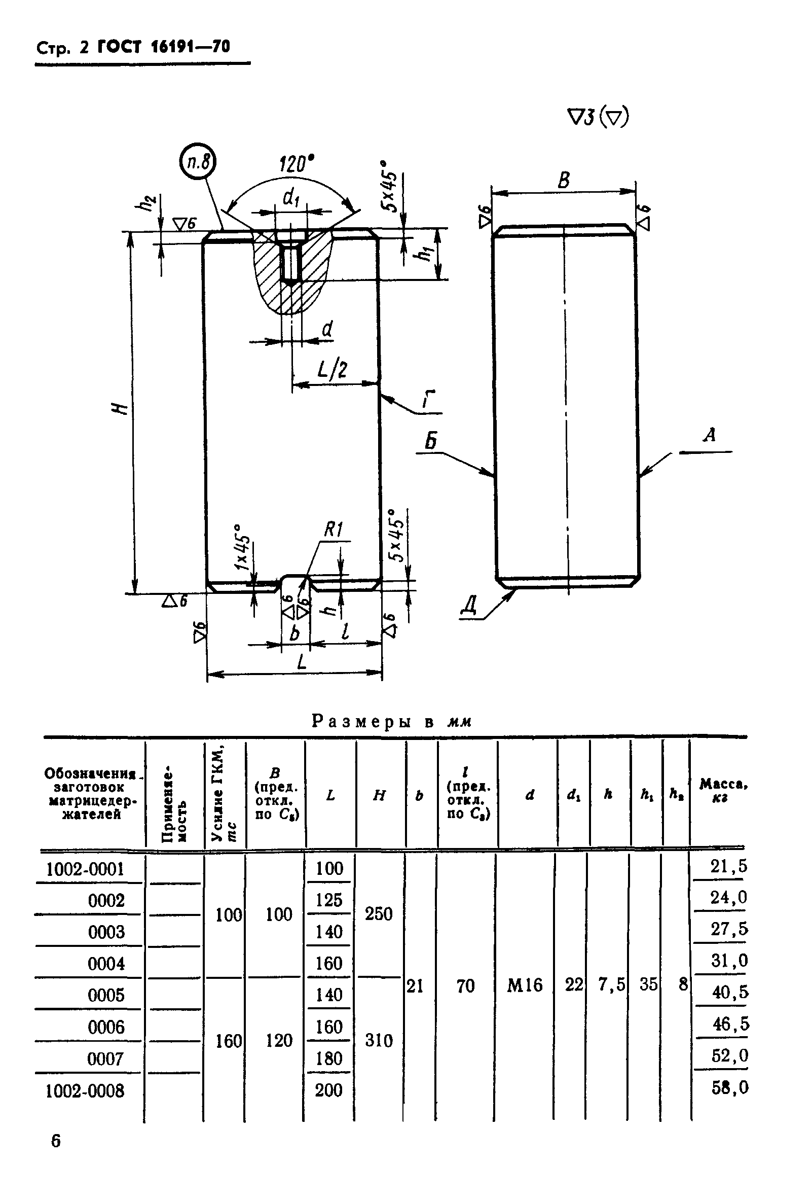
ГОСТ 16191-70

Заготовки матрицедержателей штампов горизонтально-ковочных машин. Конструкция и размеры

Обозначение: ГОСТ 16191-70
Обозначение англ: GOST 16191-70
Статус:действует
Название рус.:Заготовки матрицедержателей штампов горизонтально-ковочных машин. Конструкция и размеры
Название англ.:Blanks of female dies holders of norizontal forging machines. Construction and dimensions
Дата добавления в базу:01.09.2013
Дата актуализации:01.01.2021
Дата введения:01.01.1971
Утверждён:15.07.1970 Госстандарт СССР (USSR Gosstandart 1093)
Заменяет собой:
  • МН 1277-60 (Сведения из перечня "Указатель государственных стандартов СССР 1971 г.", Издательство стандартов 1971)
ГОСТ 16191-70ГОСТ 16191-70ГОСТ 16191-70ГОСТ 16191-70ГОСТ 16191-70ГОСТ 16191-70ГОСТ 16191-70ГОСТ 16191-70ГОСТ 16191-70ГОСТ 16191-70ГОСТ 16191-70