Скачать ГОСТ 16228-81 Фрезы дисковые трехсторонние со вставными ножами из быстрорежущей стали для обработки легких сплавов. Конструкция и размеры

Дата актуализации: 01.01.2021

ГОСТ 16228-81

Фрезы дисковые трехсторонние со вставными ножами из быстрорежущей стали для обработки легких сплавов. Конструкция и размеры

Обозначение: ГОСТ 16228-81
Обозначение англ: GOST 16228-81
Статус:взамен
Название рус.:Фрезы дисковые трехсторонние со вставными ножами из быстрорежущей стали для обработки легких сплавов. Конструкция и размеры
Название англ.:Three angle disk cutters with inserted blades for machining light alloys. Design and dimensions
Дата добавления в базу:01.09.2013
Дата актуализации:01.01.2021
Дата введения:01.01.1983
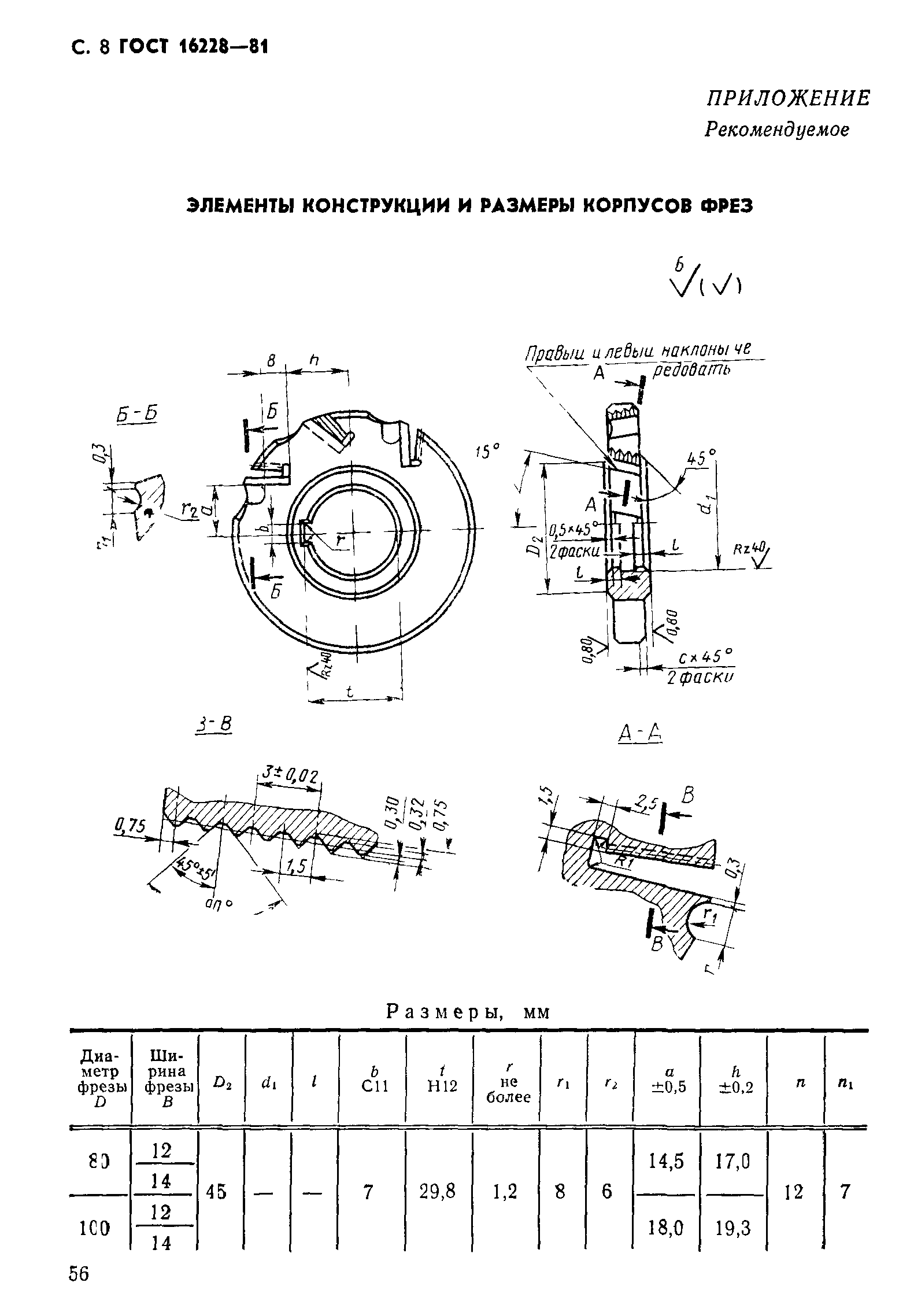
Область применения:Стандарт распространяется на трехсторонние дисковые фрезы диаметром D от 80 до 315 мм со вставными ножами из быстрорежущей стали для обработки легких сплавов.
Оглавление:Приложение Элементы конструкции и размеры корпусов фрез
Утверждён:30.04.1981 Государственный комитет СССР по стандартам (USSR National Committee on Standards 2268)
Заменяет собой:
  • ГОСТ 16228-70 «Фрезы дисковые трехсторонние со вставными ножами из быстрорежущей стали для обработки легких сплавов. Конструкция и размеры»
Нормативные ссылки:
ГОСТ 16228-81ГОСТ 16228-81ГОСТ 16228-81ГОСТ 16228-81ГОСТ 16228-81ГОСТ 16228-81ГОСТ 16228-81ГОСТ 16228-81ГОСТ 16228-81ГОСТ 16228-81