Скачать ГОСТ 16257-70 Формы металлические (кокили). Приспособления для удаления стержней реечные. Конструкция и размерыДата актуализации: 01.01.2021
|
| Обозначение: | ГОСТ 16257-70 |
| Обозначение англ: | GOST 16257-70 |
| Статус: | действует |
| Название рус.: | Формы металлические (кокили). Приспособления для удаления стержней реечные. Конструкция и размеры |
| Название англ.: | Chill moulds. Rack core removers. Construction and dimensions |
| Дата добавления в базу: | 01.09.2013 |
| Дата актуализации: | 01.01.2021 |
| Дата введения: | 01.01.1972 |
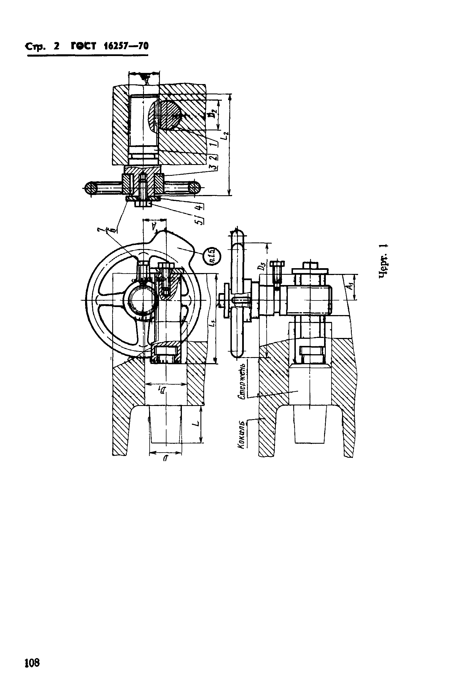
| Оглавление: | 1 Конструкция и размеры реечных приспособлений для удаления стержней 2 Конструкция и размеры зубчатой рейки (деталь 1) 3 Конструкция и размеры вала-шестерни (деталь 2) 4 Конструкция и размеры маховика (деталь 3) 5 Конструкция и размеры опорной шайбы (деталь 4) Приложение Конструкция стержней, удаляемых реечными приспособлениями |
| Утверждён: | 29.07.1970 Госстандарт СССР (USSR Gosstandart 1163) |
| Издан: | Издательство стандартов (1982 г. ) |
| Заменяет собой: |
|











