Скачать ГОСТ 16341-70 Державка суппортная для роликовой головки на усилие 4000 кгс. Конструкция и размерыДата актуализации: 01.01.2021
|
| Обозначение: | ГОСТ 16341-70 |
| Обозначение англ: | GOST 16341-70 |
| Статус: | действует |
| Название рус.: | Державка суппортная для роликовой головки на усилие 4000 кгс. Конструкция и размеры |
| Название англ.: | Support holder for a 4000 kgf force rolling head. Construction and dimensions |
| Дата добавления в базу: | 01.09.2013 |
| Дата актуализации: | 01.01.2021 |
| Дата введения: | 01.07.1971 |
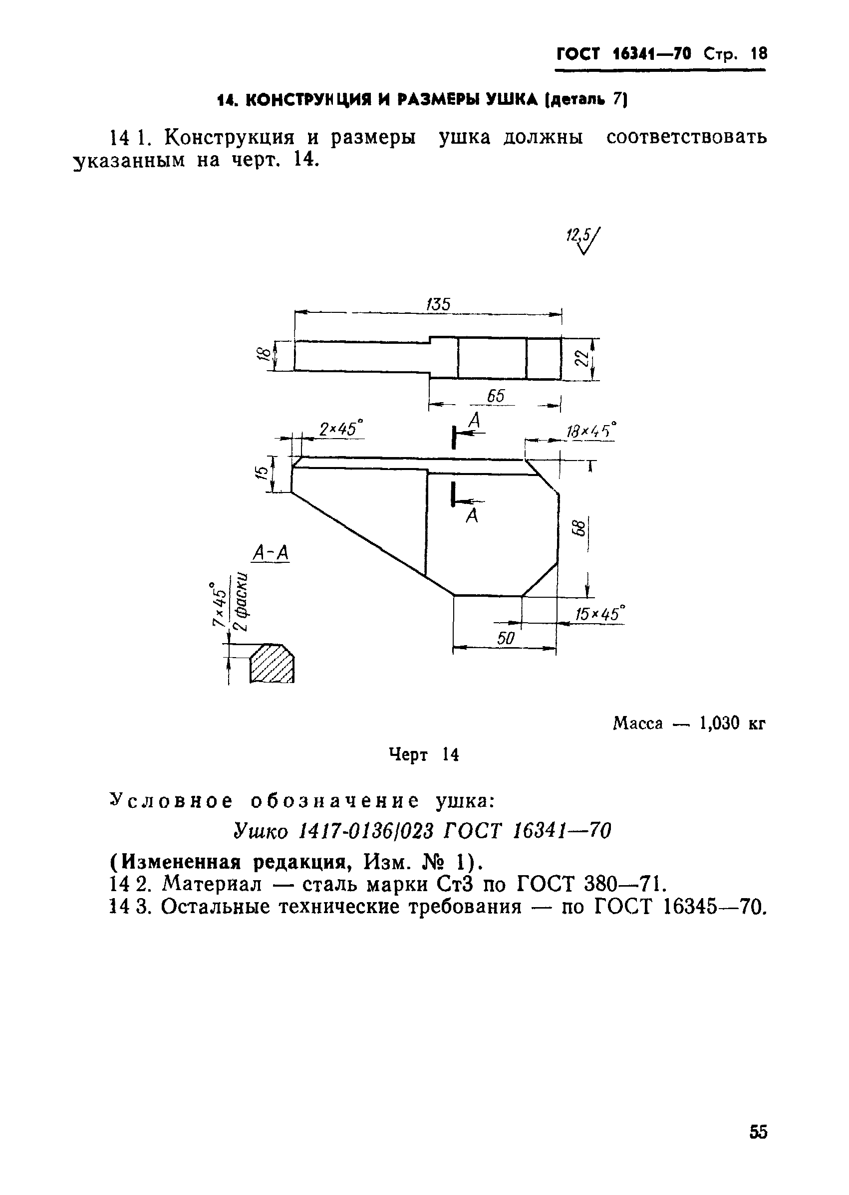
| Оглавление: | 1 Конструкция и размеры суппортной державки 2 Конструкция и размеры штока (деталь 1) 3 Конструкция и размеры винта (деталь 2) 4 Конструкция и размеры гайки (деталь 3) 5 Конструкция и размеры указателя (деталь 4) 6 Конструкция и размеры пружины (деталь 5) 7 Конструкция и размеры корпуса (изделие, деталь 6) 8 Конструкция и размеры трубы (деталь 1) 9 Конструкция и размеры ушка (деталь 2 10 Конструкция и размеры фланца (деталь 3) 11 Конструкция и размеры ребра (деталь 4) 12 Конструкция и размеры ребра (деталь 5) 13 Конструкция и размеры трубы (деталь 6) 14 Конструкция и размеры ушка (деталь 7) 15 Конструкция и размеры скобы (деталь 8) 16 Конструкция и размеры кольца (деталь 7) 17 Конструкция и размеры втулки (деталь 8) 18 Конструкция и размеры кольца (деталь 9) 19 Конструкция и размеры планки (деталь 10) 20 Конструкция и размеры рычага (изделие, деталь 11) 21 Конструкция и размеры втулки (деталь 1) 22 Конструкция и размеры рычага (изделие, деталь 2) 23 Конструкция и размеры пластины (деталь 1) 24 Конструкция и размеры ребра (деталь 2) 25 Конструкция и размеры винта (деталь 12) 26 Конструкция и размеры опоры (деталь 13) 27 Конструкция и размеры валика (деталь 14) 28 Конструкция и размеры серьги (деталь 15) 29 Конструкция и размеры шкалы (деталь 16) |
| Утверждён: | 28.08.1970 Госстандарт СССР (USSR Gosstandart 1351) |
| Заменяет собой: |
|































