Скачать ГОСТ 16897-71 Опоры призматические. Конструкция

Дата актуализации: 01.01.2021

ГОСТ 16897-71

Опоры призматические. Конструкция

Обозначение: ГОСТ 16897-71
Обозначение англ: GOST 16897-71
Статус:взамен
Название рус.:Опоры призматические. Конструкция
Название англ.:Blade bearers. Design
Дата добавления в базу:01.09.2013
Дата актуализации:01.01.2021
Дата введения:01.07.1972
Область применения:Стандарт устанавливает конструкцию и размеры призматических опор.
Оглавление:1 Конструкция и размеры призматических опор
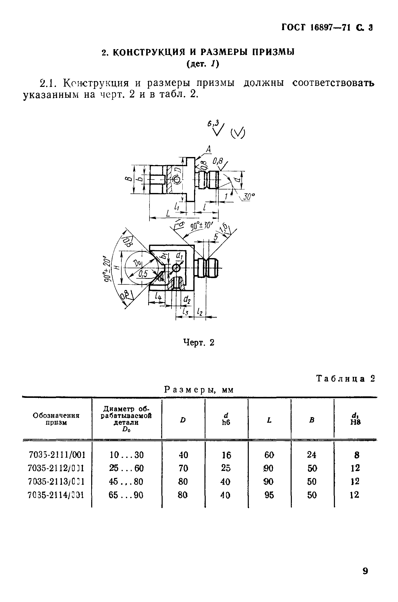
2 Конструкция и размеры призмы (дет. 1)
3 Конструкция и размеры упора (дет. 2)
Утверждён:13.04.1971 Комитет стандартов, мер и измерительных приборов при Совете Министров СССР (Committee on Standards, Measures, and Measuring Instruments at the USSR Cabinet of Ministers 729)
Список изменений:
Нормативные ссылки:
ГОСТ 16897-71ГОСТ 16897-71ГОСТ 16897-71ГОСТ 16897-71ГОСТ 16897-71ГОСТ 16897-71ГОСТ 16897-71

Текстовое изменение № 2 от 01.01.1990

№ 2№ 2№ 2№ 2