Скачать ГОСТ 17368-79 Резцы алмазные для профилирования червячных шлифовальных кругов. Технические условияДата актуализации: 01.01.2021
|
| Обозначение: | ГОСТ 17368-79 |
| Обозначение англ: | GOST 17368-79 |
| Статус: | взамен |
| Название рус.: | Резцы алмазные для профилирования червячных шлифовальных кругов. Технические условия |
| Название англ.: | Diamond tools for profile of abrasive hobbing wheels. Technical conditions |
| Дата добавления в базу: | 01.09.2013 |
| Дата актуализации: | 01.01.2021 |
| Дата введения: | 01.01.1980 |
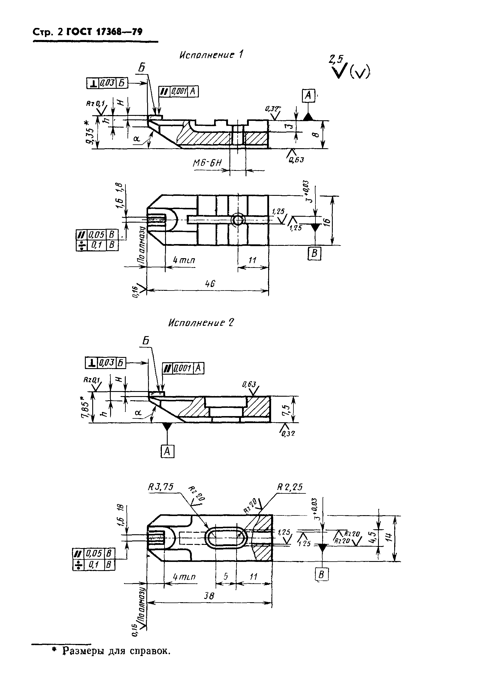
| Оглавление: | 1 Конструкция и основные размеры 2 Технические требования 3 Правила приемки 4 Методы контроля и испытаний 5 Маркировка, упаковка, транспортирование и хранение 6 Гарантии изготовителя |
| Утверждён: | 31.01.1979 Госстандарт СССР (USSR Gosstandart 367) |
| Заменяет собой: |
|










